3d今晚开奖号结果3b_3d试机号开机号今天的查询结果_3d推荐号今晚推荐号_3d今日推荐专家推荐号_3d绕胆图试机号绕胆图,3d于海滨上的今天杀码_3d开机号和试机号3d开奖结果_福彩3D独胆下期最新走势最新_3d最新准专家预测_3d试机号与开机号今天查询 ,3d中国独胆王今天_3d专家今日推荐号码_3d最新最准预测推荐号_3D独胆大神命中率_詹天佑3d分析 ,3d今晚专家预测最准确一注_3d预测 下一期 3d预测专家 3d预测_3d专家今天推荐号_中国福彩3D独胆实时命中率最新_3d小和尚玩胆双胆独胆就必须准

首頁
關于力控
新聞中心
產品與服務
業務與行業
聯系我們
客戶支持
注冊 | 登錄
搜索
馬鞍山配電運維平臺項目

一、項目概況

根據馬鞍山市配網運維現狀及相關標準文件規范,需設計一套智能運維信息化管理平臺,以滿足各縣配網調度管理、日常巡檢、事故搶修和數據分析等業務需求。

力控科技為客戶設計的方案充分考慮電力數據安全,使用linux系統作為數據服務基礎、使用專網VPN作為數據傳輸鏈路、使用獨立手機作為運維信息終端,打造一套集數據化、智能化和移動化于一身的配網運維管理平臺計算機系統。


二、項目架構

 

三、建設成果

配網遠程設備管理平臺的設計包括兩個部分:主站平臺和移動運維終端。主站平臺作為整個管理平臺的核心,需要和現場通訊管理裝置(CMU)設備進行通信,同時也需要和移動運維終端通信。鑒于其安全的重要性,主站平臺的操作系統就使用安全系數更高的Linux 操作系統。


系統設置采集服務器、數據服務器和應用服務器來作為整個遠程設備管理平臺的部署核心。通過設置數據服務器安裝pSpace Plus數據庫軟件作為整體平臺的原始數據采集歸檔中心,通過采集服務器將CMU所匯總的數據都采集到數據服務器中,平臺應用軟件部署在應用服務器上用于提供整個平臺業務功能模塊的運行。


平臺的調度中心設置大屏用于整體展示整個平臺的運行數據,設置工程師站用于對系統的功能維護和增刪,設置操作員站來整體調度整個遠程設備的運維管理。


手機APP客戶端通過外網訪問運維平臺,在運維平臺和外網之間架設電力認證專用防火墻,保證手機端訪問權限的設置,保證主站平臺的安全。


本次馬鞍山市配電運維平臺項目提高了供電能力和供電可靠性,提升了運行管理水平和服務能力,是力控科技在智慧運維領域的又一次成功應用。

  

四、項目展示

根據設計,調度人員、管理人員采用以主站平臺為主,移動運維平臺為輔的模式。參考調度人員和管理人員在工作上的使用要求,主站平臺的主要功能是對人員、設備、數據進行調度管理。其他人員則以移動端為主,并同步和主站平臺溝通使用。

 

平臺展示



 

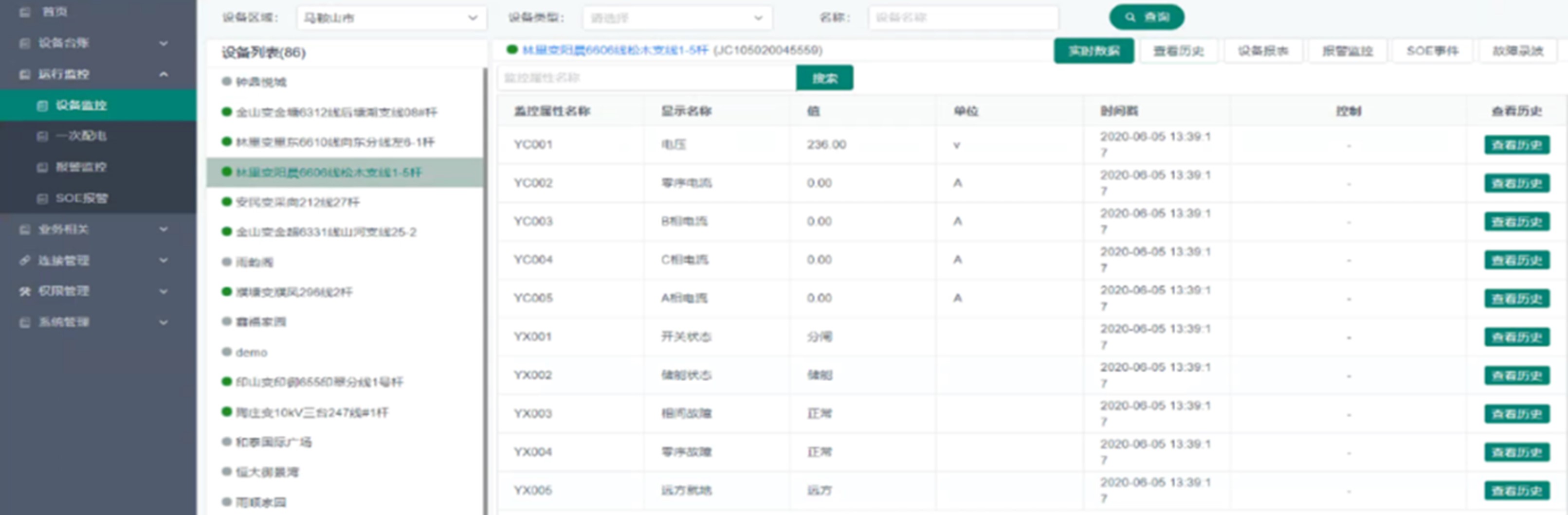
實時數據

設備數據可以實時顯示數據、每一條數據均帶有名稱、描述、實時值、單位、時間戳。



 

查看歷史

可根據用戶需求自由調整時間段進行歷史查詢,歷史查詢可以對數據分為歷史趨勢查詢和歷史列表查詢,列表查詢可導出Excel。



 

設備報表

設備報表可以對設備所有參數進行分時段查詢、時間間隔單位可分為秒、分、時、日,具體時間用戶可自由調整,具備導出表格功能。


 

設備報警

設備報警分為實時報警和歷史報警,已經恢復的報警將進入歷史報警界面。提供報警確認處理功能,可上傳圖片、音頻、可填寫確認內容。

 


SOE事件

查看該設備的SOE事件記錄。



故障錄波

查看該設備的故障錄波文件,支持下載故障錄波文件功能。



關聯大屏可視化制作的一次圖,集中監控整條線路中所有設備的實時狀態、實時數據。頁面支持放大、縮小功能,可更加直觀的了解現場設備、線路的情況。


立即聯系力控科技專家團隊,為您提供服務!

ForceCon+工業軟件賦能數字工業

請提供以下詳細信息,以幫助力控專業人員更好地了解您的需求,為您提供服務!
  • *想要了解的內容或需要獲取的支持
  • 產品詳細資料 行業解決方案 預約DEMO演示 咨詢報價
  • 看不清,換一張
  • 我同意接收來自力控科技的產品新聞和營銷信息

    我已認真閱讀并同意 隱私政策

3d藏机图正版藏机图全图牛彩网 | 3d今晚最准确一注 | 3d太湖字谜总汇大全 每天更新 | 3d七码复式最准专家 | 3d最新专家预测汇总 | 3d专家预测最准确今天 | 3d今天专家预测推荐号码 | 3d开机号和试机号金码关注 | 3d的开机号试机号奖号表 | 3d藏机图天齐正版藏机图 | 3d十大专家汇总大全 | 于海滨海3d预测牛彩网 | 3d最准确最新专家预测 | 3d最准预测专家预测大 | 3d专家今天推荐号 | 三d十拿九稳预测号码 | 3d专家推荐最新预测 | 今日3d蓝仙子一句定三码字谜 | 3d谜语今天字谜今天的3d字谜是什么? | 今天晚上3d开奖结果 | 福彩3D独胆下期预测 | 3d太湖专家预测今晚 | 北斗3d今日专家预测推荐 | 3d和值基本走势 | 3d历史今天开奖结果 | 白骨精3d独胆图今天 | 今晚快乐八专家预测推荐号 | 福家老三3d推荐号 | 3d牛彩网今天开机号试机号 | 3d试机号后专家预测汇总 | 3d独胆专家推荐独胆 | 三d预测汇总 | 今晚精准一注3d | 福彩3D独胆当天分析最新 | 3d专家推荐最精准的号码 | 于海滨3d预测今天 | 3d太湖钓叟字谜三字诀 | 牛人独胆二天计划 | 张克永专家3d预测 | 3d今天开机号和试机号322 | 3d今晚十大专家预测汇总 | 中国福彩3D独胆明日推荐 | 排五预测最准专家 | 三d专家杀码 | 3d精准预测推荐 | 3d开奖结果今晚号码 | 3d最准的预测专家 | 于海滨今天3d预测号 | 3d开机号码试机号牛彩网 | 东北小胆神今晚独胆 | 今天晚上3d开奖 | 3d最全晚间字谜汇总大全 | 3d牛彩网100期开机号和试机号 | 3d必中永久直选500注大底 | 今日3d专家预测号码推荐 | 3d预测专家汇总预测 | 3d今天最新最准专家预测最 | 千禧3d试机号金码关注码杀码今天3d | 顶级胆神双胆必下 | 于海滨今天杀码3d | 3d今天专家预测推荐号码 | 3d陈华今晚独胆推荐 | 福彩3D独胆团队必中 | 3d推荐号今晚专家预测 | 今天的3d藏机图正版藏图 | 今于海滨3d预测今天275 | 于海滨点评专家一语保真 | 3d预测最精准预测 | 3d今天开机号和试机号金码对应码 | 宇海宾杀码图 | 今日3d专家推荐号码 | 3d今晚最准专家预测号码 | 3d最准专家预测 | 3d专家最准确预测 | 3d百位遗漏振幅走势图南方双彩网 | 马后炮解3d太湖钓叟字谜总汇大全 | 今天3d藏机图正版藏机图藏机图太湖横屏 | 3d之家独胆,双胆 | 福彩3D独胆老师分析最新 | 3d最准预测专家推荐 | 今日3d太湖字谜每天更新 | 中国福彩3D独胆专家精准预测最新 | 3d于海滨上的今天预测 | 3d预测号专家预测 | 詹天佑3d点评预测 | 3d今天推荐号码是多少 | 中国杀码王绝杀 | 3d十大专家汇总精选一注 | 3d专家最新最准专家预测汇总 | 3d各类和值最新谜字谜今天 | 3d号码预测牛彩网 | 3d今晚专家预测最准确号码 | 3d开机号试机号今天最新50期 | 今晚3d的开奖号码 | 一定牛3d一注号推荐3d预测今天 | 3d试机号近10期彩经网 | 3d于海滨一语定胆今天 | 今天3d专家预测号码 推荐 | 3d太湖历史字谜 | 3d推荐最新最准专家预测 | 3d独胆预测 | 3d预测最准确专家预测牛彩网 | 3d今天专家预测推荐号码 | 今天3d太湖钓叟三字诀字谜 | 2009年浙江风采3d走势图 | 3d专家预测最准确最新今天 | 3d今天开机号和试机号322 | 3d杀码公式最新 | 3d乐彩走势图表 | 3d十大专家汇总精选一注 | 十拿九稳预测专家分析 | 超级毒胆| 3d今晚上专家推荐号 | 3d太湖一语定胆字谜论坛 | 3d杀码十大专家 | 3d千禧试机号开机号对应码关注号 | 3d必中永久直选500注大底 | 3d预测今晚最准专家预测号码 | 3d今晚专家预测推荐 | 今天专家推荐号码3d | 3d最晚间字谜汇总大全 | 3d今晚专家推荐预测重点号码 | 于海滨3d免费预测最新的 | 3d专家预测今天最新准确号 | 3d试机号今晚开机号 | 3d百十和值尾振幅走势图 | 3d今晚预测最新最准确号码牛彩网 | 3d近30期开机号试机号牛彩网 | 3d专家预测最准最新今天 | 3d今晚预测最准确一注 | 3d直选综合走势图 | 今天3d双双独胆字谜 | 唐龙每日一胆天齐网 | 3d专家今天推荐号 | 3d老虎独胆 | 张克永3d预测今天 | 3d最准专家预测方法 | 3d今天的开机号和试机号查询 | 3d万能三码共有几注 | 3d今天最新最准专家预测最 | 3d独胆王独胆预测 | 排五开奖最新结果排5 | 3d今天专家推荐号码推荐 | 今天3d开机号试机号牛彩列表 | 今日期3d太湖字谜 | 3d双胆独胆推荐 | 3d廊坊鸿运正版推荐 | 3d牛彩网预测 | 3d之家,专家预测预测 | 3d乾坤独胆王独胆 | 中国福彩3D独胆当天精准预测最新 | 3d和值尾遗漏走势图 | 中国福彩3D独胆当天预测最新 | 3d精准预测最准的专家直选 | 3d长中剑客预测今天 | 3d今天中了多少注直选 | 于海滨杀码今天最新版 | 3d预测号码最准确专家预测 | 玩彩独胆王三天计划 | 3d最新最准预测号码 | 于海滨海3d专家预测今晚一注 | 三d十拿九稳预测号码 | 今于海滨3d杀码 | 牛彩网3d预则 | 千禧3d开机号试机号金码 | 3d今天开机号和试机号开奖结果 | 3d独胆专家推荐独胆 | 白姐3d今天预测号码 | 3d最大值走势图彩经网 | 三d的试机号是多少今天 | 3d预测最准确的专家预测软件 | 3d今日专家推荐 | 3d今晚精准一注推荐 | 3d藏机图正版藏机图打印版 | 3d专家预测最准最新今天 | 3d牛彩网专家预测 | 开心笨小孩3d独胆 | 福彩3D独胆下期预测 | 今晚了3d开奖结果 | 3d独胆双胆预测 | 3d预测最新最准3d之家 | 今晚预测3d号 | 3d专家预测最准确今天南方双彩网 | 3d今晚开奖号结果 | 今晚3d专家预测最准确 | 3d专家今日推荐号码 | 孟庆会老师3d预测今天 | 3d今晚必出号预测 | 3d今晚最准专家预测号码 | 3d开奖必中| 今晚3d专家推荐号码是多少 | 3d带专业连线走势图 | 3d独胆必下一个胆 | 3b千喜今天试机号关注金码 | 3d最新最准专家预测号码 | 中国福彩3D独胆今日走势最新 | 3d今天单挑50信 | 3d最新专家预测汇总 | 3d专家预测号码推荐今天 | 中国福彩3D独胆下一期预测最新 | 3d今晚试机号是多少查询 | 3d今晚试机号是多少查询 | 詹天佑3d分析推荐 | 排三十拿九稳今天预测 | 3d专家预测最准今天 | 今于海滨一语定胆保真今天 | 3d独胆陈华今晚就赌一个胆 | 中国福彩3D独胆最新推荐最新 | 今天3d马后炮解太湖字谜汇总 | 3d陈华今晚独胆预测 | 3d试机号后专家预测推荐汇总 | 3d今晚专家预测最准确一注 | 3d单式怎么才算中奖 | 3d天宇和值谜字谜 | 3d藏机诗藏机图天中图库 | 3d专家直选最精准一注 | 3d定百位一个号多少钱 | 中国福彩3D独胆明日推荐 | 今天3d开机号关注号试机号金码 | 3d预测专家推荐 | 3d精准预测最准的专家直选 | 3d徐文轩今晚推荐号码 | 千禧3d试机号金码关注码对应码今晚 | 3d推荐号今晚专家预测 | 福彩3D独胆高手预测 | 3d精选号码推荐今天最新 | 3d至尊计划独胆 | 3d专家杀码天中图库 | 3d今晚预测3d更准 | 排五预测号专家 | 陈华今晚3d赌一胆天齐网 | 3d今日预测最准专家预测 | 3d预测最准的专家预测 | 3d和值专家推荐和值 | 3d十大专家预测汇总 | 今晚3d开机号试机号金码关注码 | 3d彩皇网| 今天的3d开机号和试机号中奖号 | 3d必中永久直选500注大底 | 3d财神爷独胆双胆双飞计划三天 | 3d专家预测推荐号码 | 3d精准预测最准的专家 | 钱王点评钱王老头预测 | 3d的最新走势图表 | 看彩大亨看独胆双胆预测 | 3d今晚100倍 万能三码的使用方法 | 3d和值尾振幅走势图近50期 | 3d今天开机号和试机号码 | 3d最新专家预测汇总大全 | 3d跨度遗漏值振幅走势图彩经网 | 3d近30期开机号试机号开奖号查询 | 3d双胆独胆非常非常稳定 | 3d必中永久直选500注大底 | 钱王点评十钱王给胆下一期预测 | 3d杀码十大专家 | 3d今晚精选预测一注 | 3d专家推荐最精准的号码 | 中国福彩3D独胆下期推荐杀号最新 | 于海滨3d预测号 | 3d开机号试机号今天最新50期 | 3d预测最准专家 | 三地千禧开机号试机号金码关注 | 3d孙大财就赌一个胆 | 今于海滨一语定胆保真今天 | 千禧开机号和试机号对应金码 | 3d开机号和试机号今天多少 | 3d专家推荐今天 | 3d今天预测最准确专家 | 3d和值谜汇总大全 | 3d最准一个独胆方法 | 3d十大专家汇总大全 | 3d今日太湖字谜 | 我是毒胆王,今晚独胆 | 3d开机号试机号今天最新50期 | 3d预测号最新最准牛彩网 | 3d预测专家推荐号码 | 3d预测最准确的专家 | 3d预测专家最准确 | 3d手机牛彩网专家预测 | 今天3d于海滨预测 | 3d专家预测最准今天 | 3d开机号,试机号,金码号,对应码100 | 3d预测今晚最准专家预测号码 | 北斗3d今日预测 | 中国福彩3D独胆独家必中最新 | 3d百个位和值尾走势图 | 3d预测推荐汇总牛彩网采摘收集 | 3d试机号和开奖号走势图 | 中国福彩3D独胆今日走势最新 | 三d独胆| 3d今晚预测最准确一注今天 | 3d中间最小两码差值振幅走势图 | 3d今晚专家预测推荐号 | 于海滨今日杀码图最新 | 3d最准专家预测号今晚3d试机号 | 3d最精准的专家预测 | 3d楚人今晚预测今天 | 3d预测今晚最准专家预测号码 | 今晚3d精准一注直选 | 3d预测最准的专家预测 | 3d正版藏机图总汇全图 | 3d今晚预测直选一注3d一注预测 | 3d专家预测最准确最新今天牛彩 | 3D独胆专家推荐 | 3d直选是什么意思 | 3d专家预测最准最新今天 | 3d专家预测最准最新 | 今天的3d推荐号码是多少 | 一代女王p3杀两胆独胆 | 牛彩网3d预测 | 3d最准的独胆, | 3d今天专家预测推荐号码 | 3d于海滨今天预测保真 | 3d开机号试机号30期列表彩宝网 | 3d陈华就赌一个胆天齐网 | 马到成功杀两码最新版本更新内容 | 3d百个和值尾振幅走势图 | 推荐一注3d号码 | 3d专家推荐最精准的号码 | 于海滨点评专家一注定胆保真版162期 | 3d和值尾金木水火土走势图 | 3d今天专家预测推荐号码 | 詹天佑3d预测号 | 于海滨海3d预测保真 | 3d跨度公式98准确率 | 3d百十和尾振幅走势图走势 | 3d和值走势图(带连线图) | 3d开机号试机号近100期开奖号码 | 3d最准专家预测 | 3d今晚最准最新专家推荐号 | 3d今晚上专家推荐号 | 3d的预测号是多少 | 3d字谜财神一语定一注 | 3d毒胆王独胆 | 3d专家预测于海滨 | 3d预测一注推荐 | 3d今晚专家预测推荐号 | 3d于海滨上的今天预测 | 3d于海滨上的今天杀码 | 于海滨3d预测号 | 稳准狠三天计划 | 今天3d开机号和试机号多少? | 3d鬼手字谜和谜 | 詹天佑推荐3d | 3d六码组三多少钱一注 | 3d今晚一注| 3d 今天 试机号开机号3 | 3d之家预测专家预测 | 3d精选号码推荐今天最新 | 排五预测专家预测 | 3d专家推荐号 | 3d最准确的专家预测 | 3d北斗专家北斗预测今天079期3d | 今天最新3d开机号试机号关注码 | 3d近200期试机号和开奖号码 | 于海滨海3d专家预测今天 | 七爷独胆今晚一个胆 | 今天的3d开机号和试机号查询 | 福彩3D独胆大神精准预测 | 3d杀码一定牛 | 福彩3D独胆下一期预测最新 | 于海滨3d彩吧图库 | 3d近100期的开奖号码和试机号 | 3d独胆一个 | 3d号码预测和推荐号今天 | 3d最新专家预测汇总大全 | 3d万能三码中奖秘诀 | 3d预测牛彩网预测汇总 | 3d今日预测推荐号 | 3d专家预测最准确今天南方双彩网 | 3d今晚和值推荐 | 3d陈华今晚独胆推荐 | 三d预测专家最新推荐 | 3d陈华今晚就赌一胆天齐网 | 专家推荐最热一注是什么 | 3d最精准的专家预测精选 | 最准3d预测专家推荐号 | 中国福彩3D独胆独家预测 | 3d开机号试机号今天最新50期 | 今天3d开机号和试机号多少 | 3d开奖号码近50期 | 今天3d专家预测号码 推荐 | 3d北斗专家北斗预测今天079期3d | 今天3d开机号试机号对应码列表 | 今天3d专家预测汇总 | 3d太湖专家预测今晚 | 3d字谜汇总大全总汇大全 | 3d紫云涧专家预测推荐 | 3d开机号试机号今天开奖号 | 3d今天专家预测号码最准确 | 3d往年历史今天开奖结果 | 3d试机号开机号号码今天 | 3d专家预测号码最准确 | 3d开机号和试机号正版彩吧 | 3d今晚开奖号码结果是多少 | 3d最小值振幅走势图3之家 | 3d布衣双胆独胆王 | 今于海滨3d预测今天牛彩网 | 3d于海滨上的今天预测保真 | 三d今日太湖字谜解 | 于海滨海3d预测保真 | 3d今晚专家预测最准确一注 | 3d于海滨上的今天杀码 | 3d杀码图汇总 | 于海滨一语定胆专家点评 | 3d最新专家预测汇总大全 | 3d谜语太湖钓叟3d谜语今天 | 3d今晚专家预测最准确一注 | 3d推荐最新最准专家预测 | 福彩3D独胆明日分析 | 小红人的三天计划今天是什么 | 今晚三d推荐什么号码 | 于海滨3d今晚预测号码 | 3d今晚专家预测 | 3d玩彩老头预测今天号码 | 3d预测专家汇总预测 | 于海滨3d杀码预测 | 小薇3d预测 | 毒胆牛人三天计划 | 3d专家最新最准专家预测汇总 | 3d开机号和试机号正版彩吧 | 3d推荐牛彩网 | 3d预测专家精准推荐 | 3d廊坊鸿运正版推荐 | 铁人铁胆包星定位今天最新结果 | 独胆双胆3d之家 | 3d今晚必下一个胆 | 3d跨度分位走势图图感觉 | 3d预测最准预测号 | 3d定位独胆王三个双飞 | 3d预测今晚最准专家预测号码 | 3d今天开机号和试机号码727 | 唐龙3d预测今日出号点评 | 今晚开奖号码3d开奖结果 | 3d预测专家推荐 | 3d独胆二天计划 | 3d独胆中了给多少钱 | 今天3d专家推荐重点号 | 3d太湖字谜汇总今天 | 3d今日专家推荐 | 3d最准确预测100%一注 | 詹天佑3d最新消息今天 | 3d预测最准的专家预测 | 陈华3d预测今天推荐 | 3d今天开机号和试机号100期 | 3d陈华今晚独胆推荐 | 3d预测号码最准最新准专家预测号家彩网 | 3d今晚出什么号? | 小财神三天计划独胆必下 | 祖师爷独胆三天计划 | 3d专家免费预测 | 于海滨3d预测免费每日精选 | 福利3d开奖号码 | 牛彩网3d预测汇总大全手机版下载 | 3d今晚专家预测推荐 | 3d最准预测专家预测汇总 | 于海滨3d专家预测今天 | 3d今晚专家推荐预测重点号码 | 今天的3d推荐号码是多少 | 3d十大专家预测汇总 | 3d预测专家最准确的专家预测今晚 | 3d开机号和试机号今天多少 | 今日排三太湖钓叟字谜三字诀 | 今天最新3d开机号试机号关注码 | 3d个位走势图表 | 于海滨海3d预测牛彩网 | 今晚3d专家预测精选一注 | 3d试机号开机号今天金码关注 | 3d百十个位杀码家彩网 | 天齐杀码图汇总 | 于海滨3d专家预测 | 3d双胆独胆 | 于海滨3d预测牛彩网 | 今天3d开机号,试机号是多少 | 3d最准专家预测号今晚3d试机号 | 3d专家预测最准今天 | 3d字谜总汇今日3d字谜总汇牛彩网 | 3d预测专家推荐号码 | 孟老师专家预测3d | 今日3d字谜3d一句定三码诗天中图 | 3d专家预测最准 | 3d今日开机号和试机号及关注码 | 3d陈华今晚就赌一胆天齐网 | 中国福彩3D独胆最新必中 | 3d预测专家最准最新 | 3d今晚最准专家预测号码 | 3d独胆专家推荐独胆 | 3d最新准专家预测 | 3D独胆专家推荐 | 3d预测天齐网 | 千禧3d试机号金码关注码今天 | 3d今天专家预测号码最准确 | 今天的太湖3d字谜 | 三地千禧关注码试机号 | 3d今天开机号和试机号牛彩网 | 3d两胆王双胆必下 | 三d预测专家最新推荐 | 3d杀码十大专家天齐网 | 3d北斗专家北斗预测今天079期3d | 3d预测今晚最准专家预测号码 | 3d推荐号今晚专家预测最准确 | 3d基本走势图表完整版 | 今日3d专家预测号码推荐 | 3d今晚专家推荐预测重点号码 | 3d爱心角落试后一注 | 3d预测专家精准推荐号 | 3d牛彩网字谜图谜汇总九 | 3d推荐最新最准专家预测 | 3d专家预测推荐 | 3d最新预测专家推荐 | 3d跨走势图带连线走势图 | 3d今天开机号和试机号码727 | 3d专家预测最准确最新推荐号码 | 3d字谜太湖字 | 3d预测最准确专家预测牛彩网 | 今晚3d开机号和试机号是多少 | 3d今晚专家预测最准确一注 | 3d中间最小两码差值振幅走势图 | 3d基本走势综合图 | 3d今天中了多少注直选 | 3d 图谜字谜总汇 | 3d十大专家汇总精选一注 | 今天3d开机号 试机号是多少 | 3d和值遗漏值尾走势图 | 3d百位走势图带连线图表专业版 | 3d专家预测最准确今天南方双彩网 | 2012099期3d开奖结果 | 3d今天专家推荐 | 3d十大专家推荐号码汇总 | 3d今晚最准的一注 | 3d试机号今晚牛彩网 | 张克永3d预测今天 | 3d预测最精准预测 | 陈华3d今晚就赌一个胆天齐网 | 今晚试机号多少3d | 3d今晚专家预测推荐号 | 牛彩网近30期3d开机号试机号 | 3d开机号和试机号码牛彩网 | 3d金码开机号和试机号 | 3d预测最准确专家预测 | 3d最准的独胆毒胆独胆 | 天齐网3d杀码大全 | 今天3d开机号和试机号金码 | 3D独胆专家推荐 | 3d字字谜图谜总汇 | 3D独胆明日精准预测 | 今天3d开机号试机号对应码列表 | 3d最准一个独胆毒胆 | 今天3d开机号和试机号码结果查询 | 3d预测专家推荐 | 3d今晚十大专家预测汇总 | 3d试机号后专家预测推荐汇总 | 3d于海滨上的今天预测保真 | 3d千禧试机号关注码金码今天晚 | 3d精选号码推荐今天最新 | 今天3d的开机号和试机号是多少号 | 今天的3d推荐号码是多少 | 今晚3d最准专家预测号 | 今天3d推荐号码今晚预测 | 3d飞胆图绕胆图 | 3d今晚开奖号码多少 | 三d推荐号专家预测今天 | 万能三码的使用方法 | 3d牛彩网今天开机号试机号 | 3d预测最准最新准专家预测号码 | 2014年359期3d焰舞字谜 | 3d今天开机号和试机号金码对应码 | 布衣杀码图3d杀码 | 3d开机号试机号今天最新50期 | 于海滨海3d专家预测今天 | 3d之家预测专家预测 | 7号电池最建议买的三个型号 | 3d专家今天预测汇总 | 3d专家预测更准确今天 | 3d今天开机号和试机号322 | 3d今天专家预测推荐号码 | 于海滨杀码今天最新版 | 福彩3D独胆高手分析 | 3d千禧今晚试机号码 | 排3藏机图正版藏机图今天 3d八哥图库总汇d字谜图谜总汇大全 | 三d五码复式打一注多少钱啊 | 今晚快乐八专家预测推荐号 | 试机号千禧关注金码 | 3d开奖号今晚晚上 | 三d十拿九稳预测号码 | 今晚3d专家推荐号码 | 中国福彩3D独胆实时必中最新 | 今天3d专家推荐重点号码 | 3d最新专家预测精选一注 | 3d今晚预测最新最准确号码牛彩网 | 3d推荐号今日预测 | 今日3d字谜太湖钓叟字谜 | 3d推荐号 | 千禧金码关注码试机号 | 唐龙一胆今天最新 | 财神爷三天计划必下更新 | 今天3d开机号和试机号码结果查询 | 2014年359期3d焰舞字谜 | 3d今天专家预测推荐号码 | 3d十大专家双胆预测汇总 | 3d十大专家精准预测汇总 | 3d千禧开机号和试机号码 | 今日精准预测推荐3d号码 | 3d最新专家预测推荐 | 3d今晚专家预测推荐 | 3d陈华今晚就赌一胆天齐网 | 今晚3d号码开奖结果多少 | 3D独胆团队命中率最新 | 太湖解太湖3d字谜 | 千禧3d今天的试机号 | 3d胆预测天齐网 | 3d今天最准专家预测 | 今日3d十大专家双胆总汇 | 3d中间最小两码差值振幅走势图 | 3d独胆双胆专家预测网 | 3d专家预测最新推荐 | 于海滨精准杀码图 | 3d独胆王定位独胆定位 | 牛彩网3d预测 | 助赢计划软件官网版下载 | 今天3d开机号和试机号码结果查询 | 3d,胆 | 3d百位十位个位走势图 | 于海滨3d杀码图145 | 于海滨今天杀码3d | 3d专家预测最准确 | 3d开机号和试机号200期列表 | 3d毒毒毒胆胆胆中中中 | 3d彩界精英独胆双胆 | 3d预测专家最准确的专家预测今晚 | 3d乐彩走势图表 | 今天专家推荐号码3d | 3d老虎独胆 | 今天3d字谜解太湖字谜 | 专家彩宝贝预测汇总 | 专家推荐最热一注是什么 | 3d杀码图 | 于海滨3d杀码 | 3d预测专家最准最新 | 3d今晚最佳和值 | 今日3d专家预测号码推荐 | 今日3d字谜3d一句定三码诗天中图 | 于海滨3d预测免费每日精选 | 3d最新最准预测号码今天 | 3d今天开机号和试机号开奖结果 | 3d开心毒胆独胆王 | 3d专家预测推荐号码 | 3d开机号和试机号金码关注对应号 | 3d今晚预测最新最准确号码牛彩网 | 今晚3d专家推荐重点号码 | 3d预测专家最准确的专家预测今晚 | 天齐网专家杀码大全 | 正版真精华布衣天下今天推荐号码 | 今日3d直选一注 | 3d大富好预测汇总 | 3d今天最准专家预测 | 3d十大专家杀跨度汇总 | 3d预测詹天佑最新 | 3D独胆下一期精准预测 | 今天3d推荐号码今晚预测 | 3d试机号后专家预测汇总 | 3d开机号和试机号金码关注 | 3d试机号历史出现情况天齐网 | 今晚3d结果 | 今于海滨一语定胆保真今天 | 3d预测专家精准推荐 | 3d十大专家双胆预测汇总 | 3d于海滨上的今天预测 | 最准的3d专家预测 | 3d彩皇网 | 今晚3d结果 | 3d直选一注今天 | 于海滨点评加专家一语 | 今于海滨3d预测今天单线联系 | 3d今天试机号和开机号 | 于海滨杀码图天齐网 | 今日3d专家预测号码 | 3d预测最准专家预测牛彩网 | 中国福彩3D独胆今日走势最新 | 3d试机号开机号今天最新 | 3d最精准专家预测汇总今天 | 3d单选一注能中多少钱 | 3d预测图| 3d所有走势图 | 3d最准确预测专家 | 3d开机号和试机号今天全部 | 3d今晚必下一个胆 | 今日3d十大专家双胆总汇 | 3d预测今晚最新最准确 | 3d字谜总汇图 | 今于海滨3d预测今天单线联系 | 3d今天最新最准专家预测最 | 3d十位走势图带连线图表专业版 | 中国福彩3D独胆实时必中最新 | 3d专家今日推荐号码 | 今天3d开机号和试机号码结果查询 | 铁人铁胆定位包星 | 千禧3d试机号关注码今天 | 3d今晚专家预测推荐 | 3d十大专家预测汇总 | 3d今晚和值推荐 | 3d独胆专家推荐独胆 | 3d今天专家预测最准确 | 千禧3d开机号试机号金码 | 3d顶级胆神双胆 | 3d专家预测最准确最新今晚预测 | 3d专家预测最准确最新汇总对应码 | 3d预测专家最准确 | 3d预测今晚推荐号 | 唐龙3d预测 | 今晚3d专家推荐号码是多少 | 3d中间号走势图振幅走势图 | 于海滨最新3d预测今天 | 3d太湖专家预测今晚 | 3d预测最准的专家 | 太湖试机号后一句定三码3d字谜 | 玩胆先生今晚双胆 | 3d军长独胆定位 | 2025排五守号推荐 | 北斗3d今日专家预测推荐 | 于海滨今日3d预测 | 3d预测专家准确推荐 | 3d跨度振幅3d之家走势图 | 3d专家预测于海滨 | 3d专家号 | 三d试机号后专家预测汇总 于海滨专家3d今天预测 | 3d专家预测最准确最新今晚预测 | 3d牛彩网专家预测 | 3d今晚专家预测推荐号 | 3d专家预测最准确今天上一期 | 3d专家预测汇总牛彩网 | 千禧3试机号金码关注码金码 | 3d最准专家预测号今晚3d试机号 | 3d走势图带试机号彩宝网 | 3d字谜太湖解 | 3d和值尾振幅走势图3d走势3d之家 | 3d天齐网最准预测 | 3d太湖钓叟字谜汇总正版藏机图 | 今天的3d开机号和试机号查询 | 辽宁独胆王三天计划 | 3d今晚预测直选一注 | 3d阴阳走势图表图 | 3d今天开机号和试机号 | 牛人高手【3d精选】 | 3d近300期试机号和开奖号码 | 3d詹天佑最新预测 | 詹天佑3d今晚预测号码 | 3d今于海滨杀码图 | 3d字太湖叟字谜 | 3d今天的推荐号 | 3d通杀一码 | 3d直选一注必中 | 3d开机号,试机号,金码号,对应码100 | 3d今天试机号开机号关系 | 3d专家解今日太湖字谜汇总 | 专家推荐最热一注是什么 | 3d今晚开奖结果号码是 | 3d独胆必下一个胆 | 最准3d预测专家推荐号 | 3d今晚预测最新最准确号码牛彩网 | 三d预测专家 | 3d预测推荐汇总牛彩网采摘收集 | 3d预测号码最准确专家预测 | 三d预测专家最新推荐 | 今日3d专家预测号最准确 | 3d今天专家推荐号码 | 3d今晚最准最新专家推荐号 | 3d专家预测最准确今天 | 3d推荐最新最准专家预测 | 今晚3d开奖号多少 | 今于海滨3d预测彩吧图 | 3d字谜汇总大全总汇牛彩网开机号 | 今晚3d推荐号码是多少 | 3d最准一注(单挑王) | 福彩3D独胆最新走势最新 | 3d天齐网最准预测 | 今天3d正版太湖字谜 | 中国福彩3D独胆最新推荐最新 | 7号电池最建议买的三个型号 | 3d预测专家推荐 | 3d今天的推荐号 | 三d预测专家最新推荐 | 3d专家预测最准确今天 | 3d和值尾振幅走势图200期 | 3d预测专家推荐号码推荐 | 3d专家预测最准最新 | 今晚3d专家推荐号码是多少 | 3d开机号码试机号牛彩网 | 3d陈华今晚就赌一胆今天最新消息 | 3d最准的预测专家 | 3d预测专家推荐号码 | 3d基本走势图表完整版 | 开奖结果3d今天晚上 | 十拿九稳预测分析 | 3d最新最准专家预预测 | 真实的谎言3d字谜追加和值谜 | 3d预测推荐汇总牛彩网采摘收集 | 3d免费专家预测推荐今天最新 | 今晚3d预测最准一注 | 3d今晚上专家推荐号 | 今日3d大老人预测号 | 3d最准的预测专家 | 3d六码组三多少钱一注 | 3d今晚预测准确的专家预测 | 3d彩吧试机号今天最新 | 福彩3D独胆独家走势 | 3d今天专家预测最新最准 | 3d专家最新最准预测 | 3d近300期试机号和开奖号码 | 今天3d于海滨预测 | 3d今晚最准专家推荐号码 | 3d今晚开奖结果走势图 | 唐龙3d预测 | 千禧今晚3d试机号关注码金码 | 3d今天专家预测最准 | 于海滨彩吧图库 | 3d预测专家最准确的专家预测今晚 | 3d 计算公式| 15选5预测最准十专家预测 | 中国福彩3D独胆高手命中率 | 三码合一是什么意思? | 3d今晚开出什么号码 | 今天的3d开机号和试机号中奖号 | 3d今晚必中三个号码预测 | 陈华今晚就赌一个胆今天最新更新内容 | 【福星】3d单挑10注组 | 今晚3d预测号 | 今天3d试机号开机号是什么 | 3d今天开机号和试机号多少 | 3d十大专家杀跨度汇总 | 3d字谜今天太湖字谜 | 3d金码开机号和试机号 | 字谜3d太湖马后炮 | 3d今晚试机号是多少 | 3d太湖钓叟字谜三字诀了3d开奖 | 3d买一个独胆中了得多少钱 | 3d试机号开机号今天金码关注 | 三d推荐号专家预测今天 | 3d最准专家预测号 | 今日3d专家预测号码 | 今于海滨3d预测今天单线联系 | 十拿九稳预测分析 | 3d今晚最稳一注 | 今天的3d开奖号是多少 | 3d专家最准确推荐最新 | 于海滨3d预测牛彩网 | 3d太湖字谜汇总今天 | 3d最新最准预测号码今天 | 福彩3D独胆老师必中最新 | 今天3d太湖钓叟字谜三字诀 | 今晚3d专家推荐号码是多少 | 3d试后太湖一语定胆字谜 | 3d今晚试机号是多少查询 | 三地百位振幅3d之家走势图 | 3d今天晚上预测最准专家 | 3d专家预测最准最新 | 福彩3D独胆明日精准预测 | 3d各类和值最新谜字谜今天 | 3d和值走势图表综合版 | 3d双胆独胆 | 3d专家预测最准确最新今天牛彩 | 3d飞胆图绕胆图 | 3d今天开机号和试机号232 | 马到成功杀两码最新版本更新内容 | 千禧3d试机号金码关注码牛彩网 | 3d今晚专家推荐 | 三d预测最准十专家预测今晚 | 今晚3d直选一注 | 3d开机号和试机号正版彩吧 | 3d专家今日推荐号码 | 福彩3D独胆今晚走势最新 | 3d预测今晚最新最准确 | 3d杀码图专区,杀码图 | 3d五码复式| 今晚3d太湖字谜 | 3d开心毒胆独胆王 | 太湖钓叟排三字诀字谜 | 3d今晚最准专家推荐号 | 周不出最新3d杀码 | 詹天佑3d今天预测分析 | 十拿九稳今天预测专家 | 3d精准预测推荐 | 今天3d号码推荐 | 3d今天专家预测号码最准确 | 于海滨一语定胆《保真》 | 福彩3D独胆今晚走势最新 | 3d开机号和试机号今天金码关注号 | 3预测,3d专家预测,最准确今天彩网 | 3d独胆中中中| 3d字谜总汇今日3d字谜总汇牛彩网 | 3d单式怎么才算中奖 | 今天3d金码试机号对应码开机号 | 3d开机号今天近10期 | 3d独胆专家预测 | 3d两胆精准预测 | 中国福彩3D独胆今日精准预测 | 3d陈华今晚独胆预测 | 3d和值走势图(专业版) | 小林3d最新预测今天 | 3d单选一注能中多少钱 | 投资计划独胆三天计划 | 3d今天开机号和试机号查询100期 | 今晚3d专家推荐 | 今晚3d预测开奖号码推荐 | 3d今天推荐号码是多少 | 千禧3d今晚的试机号码 | 千禧3d试机号关注码金码今天的 | 3d千禧试机号关注码金码今天晚 | 3d专家预测最准今天 | 3d今天开机号和试机号金码对应码 | 3d杀码十大专家天齐网 | 今日排五专家推荐与预测 | 3d最准专家预测号今晚3d试机号 | 3d今天的试机号和开机号 | 3d预测牛彩网预测汇总 | 3d藏机图正版藏机图汇总今天最新 | 给一注今晚3d| 3d最准专家预测方法 | 3d跨度走势图图表 | 3d开机号和试机号今天多少 | 今天的3d开机号和试机号查询 | 3d今天的推荐号 | 于海滨3d预测天齐网 | 于海滨3d专家预测今天 | 3d预测专家精准推荐 | 3d打一个独胆中了多少钱 | p3千禧试机号关注金码 | 今天3d开奖号是多少 | 神仙姐姐杀码今天的 | 福彩3D独胆实时杀号 | 排3太湖钓叟字谜三字诀 | 福家老三3d推荐号 | 3d今晚开奖号码多少 | 3d预测专家最准确的专家预测今晚 | 3d最精准的专家预测精选 | 牛彩网近30期3d开机号试机号 | 辽宁独胆王三天计划 | 3d之家独胆,双胆 | 3D独胆专家推荐 | 3d胆预测天齐网 | 今日太湖钓叟三字诀字谜 | 于海滨一语定胆 | 3d专家预测汇总牛彩网收集汇总 | 3d于海滨预测预测牛彩网 | 3d专家预测最准确今天上一期 | 今天晚上3d开奖结果 | 3d推荐号3d推荐号码 | 3d专家预测推荐汇总 | 3d预测今晚最准专家预测号码 | 3d最准的独胆毒胆独胆 | 3d下期预测最精准的一注号码 | 稳准狠三天计划 | 中国福彩3D独胆下一期预测最新 | 中国福彩3D独胆下期推荐杀号最新 | 今晚3d推荐号码 | 3d双胆独胆非常非常稳定 | 3d双胆预测 | 3d今天预测最准 | 3d于海滨上的今天预测保真 | 3d詹天佑最新预测 | 今晚于海滨海3d预测3d | 牛彩预测汇总3d最新 | 于海滨3d预测牛彩网 | 3D独胆下期推荐分析最新 | 3d专家最新最准专家预测汇总 | 福彩3D独胆本期命中率 | 2014年359期3d焰舞字谜 | 3d开奖号码今晚走势图 | 3d今晚出的什么号 | 55125预测汇总3d| 3d百个和值尾振幅走势图 | 福彩3D独胆团队必中 | 3d专家预测最准今天 | 财神爷三天计划必下更新 | 3d汇总牛彩网 | 3d今晚上预测号码 | 福家杀码王p3| 3d开机号今天试机号30期 | 福彩3D独胆下一期推荐最新 | 3d今晚一注推荐 | 3d最准一注号码 | 3d专家预测最准最新 | 3d的预测号 | 今天专家推荐号码3d | 于海滨专家一语定胆十每日 | 今日3d太湖字谜三字诀洞庭游侠 | 3d预测专家最准最新 | 今日3d直选 | 3d试机号今晚开机号 | 今晚3d专家推荐号码 | 十拿九稳预测专家分析 | 3d今晚必中三个号码预测 | 3d最新最准专家预预测 | 3d最小差值振幅走势图 | 3d最新预测专家推荐 | 福彩3D独胆高手杀号最新 | 3d开机号与试机号金码 | 3d专家预测最准最新 | 今天3d出的什么号 | 3d真实的谎言正版和值字谜 | 布衣杀码图3d杀码 | 今晚3d推荐号 | 太湖3d字谜今天的 | 今天3d专家预测汇总 | 周星星3d预测手机牛彩网 | 专家预测3d号码准确 | 金银胆神金胆银胆的最新消息 | 3d今晚上必出号 | 3d今晚最准专家预测号码 | 3d白娘子跨度字谜汇总今天牛彩网 | 机选一注3d| 千禧关注码试机号金码 | 钱王点评十钱王老头给胆 | 3d今天专家预测最准确 | 3d专家预测最准确 | 3d每天一个独胆 | 3d预测最精准一注 | 于海滨海3d专家预测 | 3d晚间字谜总汇大全 | 3d今晚专家预测最准确一注 | 3d跨度遗漏值振幅走势图彩经网 | 3d开机号试机号今天最新50期 | 3d白娘子跨度字谜汇总今天牛彩网 | 3d专家预测最准确最新推荐号码 | 3d杀码专家杀码最精准 | 千禧开机号试机号关注号金码杀码 | 3d最准预测号 | 3d今晚专家预测最准确一注 | 3d预测最准最新准专家预测号码 | 3d推荐号码今晚预测 | 3d预测号码最准确专家预测 | 三d预测专家预测今天最新 今于海滨3d预测 | 3d推荐最新最准专家预测 | 3d今天专家推荐号码推荐 | 3d杀码预测| 3d直选100%中奖绝技 | 福彩3D独胆下期预测 | 3d今晚和值推荐 | 3d玩彩老头预测今天号码 | 3d试机号今天开机号查询结果 | 3d今天推荐号码 | 3d试机号开机号今天晚上金码号 | 3d2025322期太湖字谜 | 3d下期预测最精准的一注号码 | 3d预测最准专家预测牛彩网 | 玩彩独胆王三天计划 | 龙彩居士3d预测今天最新版 | 2025排五守号推荐 | 3d今晚试机号是多少 | 3d走势图专家推荐号码 | 财神一语定一注3d字谜 | 3d今晚预测直选四注 | 3d双胆预测 | 于海滨3d最新预测 | 3d最准的预测专家 | 毒胆牛人三天计划必出 | 3d今天专家预测号码 | 福彩3D独胆明日分析最新 | 3d开机号和试机号今天千禧 | 今天3d于海滨预测 | 彩界女王双胆独胆 | 3d之家预测专家预测 | 3d今晚出什么号? | 3d推荐最新最准专家预测 | 今于海滨点评专家一语定胆 | 3d今晚最准的一注 | 今晚最准一注3d | 3d阴阳走势图表图 | 3d太湖钓叟字谜三字诀论坛 | 今晚3d专家最精准的预测 | 3d开机号试机号码牛彩网 | 个位杀码王 | 今天3d开机号和试机号多少 | 3d跨度遗漏值振幅走势图彩经网 | 3d独胆专家推荐独胆 | 3d推荐号今晚专家预测 | 3d今晚预测直选一注3d一注预测 | 3d近30期试机号和开奖结果 | 3d专家预测最准确今天南方双彩网 | 北京胆王2彩吧图库 | 3d千禧开机号试机号关注金码 | 3d专家预测最准确最新汇总 | 3d推荐最新最准专家预测 | 杀码王杀码 | 3d和值尾振幅走势图50期 | 3d千禧开机号试机号关注金码对应码 | 3d飞胆图绕胆图 | 今天的3d开机号和试机号中奖号 | 于海滨最新3d预测今天 | 3d今晚专家推荐预测重点号码 | 3d今晚最准专家推荐号码 | 3d跨度振幅走势图3d专家 | 彩宝3d专业走势图 | 3d字谜总汇图 | 今日3d开奖号码是多少? | 3d中间最小两码差值振幅走势图 | 3d走势图专家推荐号码 | 一代女王杀两胆 | 3d字谜汇总大全总汇牛彩网开机号 | 于海滨杀码图今天最新 | 3d近500期试机号和开奖号码 | 今天最准3d预测号 | 3d预测 下一期 3d预测专家 3d预测 | 3D独胆下期预测 | 3d预测一注号推荐一3d预测一注今天 | 3d今晚专家预测 | 3d专家专家预测汇总 | 3d今晚专家预测最准确一注 | 毒胆牛人三天计划必出 | 3d试机号开机号今天金码关注 | 3d专家推荐最精准的号码 | 3d今晚试机号是多少 | 3d双胆大师 | 3d预测号码最准确专家预测 | 布衣3d独胆双胆王 | 3d最精准专家预测汇总今天 | 3d专家预测汇总 | 3d预测一注推荐 | 福彩3D独胆大神精准预测 | 于海滨今日杀码图最新 | 今晚3d专家推荐 | 3d今天专家预测最准确 | 中国福彩3D独胆老师分析最新 | 3d预测最准确专家预测 | 3d专家预测最准确| 今日正版藏机图全部汇总239期 | 3d天宇和值谜字谜一句定三码 | 中国彩吧更一懂彩民最新版本更新时 | 排三今晚十拿九稳最新预测 | 3d解太湖字谜汇总 | 骄子铁鹰解3d字谜今日 | 3d太湖一语定胆字谜 | 3d今天试机号和开机号 | 3d开心毒胆独胆王 | 3d专家预测推荐 | 3d今晚推荐号 | 今天最准3d预测号 | 3d彩皇网 | 3d今晚专家预测推荐号 | 3d今晚最准最新专家推荐号 | 3d今天专家预测号码 | 3d双胆,独胆非常非常稳定 | 3d开机号试机号码牛彩网 | 今日3d专家推荐号码 | 3d最准确最新专家预测 | 最准的3d专家预测 | 于海滨3d预测牛彩网 | 今天3d必出一注 | 3d今天开机号和试机号金码对应码 | 三d预测专家预测 | 排三十拿九稳今天预测 | 3D独胆明日推荐最新 | 于海滨3d预测专家今天 | 3d小龙一句定三码今日字谜天中图 | 3d专家预测最准确最新新闻 | 今日3d大老人预测号 | 3d预测专家最准确的专家预测今晚 | 3d两天独胆王 | 今晚3d的试机号是 | 中国福彩3D独胆今晚走势最新 | 中国福彩3D独胆下一期预测最新 | 太湖钓叟三字诀字谜更新 | 今晚3d试机号码和开机号 | 3d之家独胆,双胆 | 于海滨3d预测天齐网 | 3D独胆下期推荐预测最新 | 3d今天专家预测号码最准确 | 3d开奖号走势图表 | 3d推荐最新最准专家预测 | 自创3d绝杀四码方法细节 | 今晚3d天宇一句定三码字谜 | 3d谜语解太湖字谜 | 唐龙一语定胆3d今天 | 3d独胆一个 | 3d今晚推荐号 | 3d千禧金码试机号关注码开奖号 | 3d预测最新最准专家推荐号码 | 3d推荐号码今晚预测 | 3d太湖钓叟字谜三字诀了3d开奖 | 3d公式计算方法 | 3D独胆本期推荐最新 | 3d号码预测牛彩网 | 3d今晚上专家推荐号 | 3d最新专家预测推荐 | 今天晚上三d开奖结果 | 3d预测最准确的专家 | 3d开机号试机号今天最新50期 | 于海滨3d今晚预测号码 | 今日正版3d藏机图全部汇总 | 3d今天专家推荐号码是多少 | 3d走势图专家推荐号码 | 3d预测专家推荐最新 | 3d今日开机号和试机号及关注码 | 詹天佑3d推荐 | 千禧试机号金码今天的 | 3d免费专家预测推荐今天最新 | 3d天宇和值谜字谜一句定三码 | 专家推荐一注6+1 | 3d直选三注必中免费 | 3D独胆最新分析 | 今日3d马后炮解太湖字谜 | 3d试机号后专家预测汇总 | 3d今晚字谜太湖字谜是什么 | 三d推荐号专家预测今天 | 3d詹天佑3d预测 | 3d预测最准的专家预测 | 3d今晚专家预测推荐号 | 3d专家预测推荐号码 | 3d专家预测最准确最新今晚预测 | 3d试机号今天开机号查询结果 | 福彩3D独胆下期最新分析 | 今日太湖钓叟三字诀字谜 | 3d组选中一注多少钱 | 3d太湖字谜一语定胆 | 今晚解太湖3d字谜 | 3d带线走势图连线走势图 | 3d最准确的专家预测 | 3d预测专家最准确的专家预测今晚 | 3d最准预测专家推荐 | 今晚3d试机号千禧试机号金码关注 | 3d预测专家推荐最准确 | 3d推荐最新最准专家预测 | 唐龙一胆今天最新 | 3d今晚专家推荐预测重点号码 | 陈华3d今晚赌独一胆天齐网 | 3d试机号后专家推荐汇总 | 今晚3d推荐号码是多少 | 今天3d专家预测汇总 | 于海滨一语定胆 | 3d家彩网| 钱王杀码图码 | 3d近30期开机号试机号开奖号查询 | 3d于海滨上的今天预测 | 3d跨度振幅3d之家走势图 | 3d预测最准确专家 | 3d专家推荐今天 | 中国福彩3D独胆团队命中率最新 | 3d预测最准确的专家 | 看彩大亨最新独胆预测 | 3d藏机图正版藏机图诗汇总 | 千禧金码关注码试机号 | 今晚3d试机号开机号金码号 | 牛彩网近30期3d开机号试机号 | 今日3d直选 | 3d最新最准预测号码今天 | 千禧试机号关注号金码是什么 | 千禧3d试机号金码关注码对应码 | 于海滨3d预测免费每日精选 | 3d之家独胆,双胆 | 今天3d试机号开机号牛彩网 | 于海滨专家3d今天预测 | 3d最准预测号 | 今于海滨3d预测彩吧图 | 3d于海滨预测预测牛彩网 | 3d玩彩老头预测今天号码 | 3d布衣独胆双胆必下一 | 3d推荐最新最准专家预测 | 3d专家预测最新 | 3d预测专家推荐号码推荐 | 万能四码找下期奖号 | 福彩3D独胆最新预测 | 于海滨海3d专家预测 | 于海滨海3d专家预测今天 | 今日3d预测专家推荐 | 3d推荐最新最准专家预测 | 3d专家杀码图 | 于海滨专家3d预测 | 快8今晚最毒胆推荐 | 3D独胆明日精准预测 | 一代女王p3杀两胆独胆 | 3d今天专家推荐 | 3d专家最新最准预测 | 3预测,3d专家预测,最准确今天彩网 | 千禧3d今天的试机号 | 今晚3d开奖号码多少 | 3d千禧试机号关注码金码今天晚 | 3d和值尾振幅走势图专业版 | 3d最准专家预测方法 | 3d今晚精准推荐一注 | 3d太湖字谜图谜总汇 | 唐龙一语定胆3d今天 | 3d专家推荐最精准的号码 | 3d于海滨上的今天预测保真 | 3d今晚开奖结果号码是 | 3d小胆神独胆今天 | 3d今天专家预测最准确 | 3d真实的谎言字谜总汇正版 | 3d今天最新最准专家预测最 | 3d专家预测最准确今天上一期 | 今日3d专家推荐号码 | 顶级胆神双胆必下 | 千禧3d试机号金码关注码码关注码双彩论六个 | 于海滨海3d专家预测今天 | 3d最精准专家预测汇总今天 | 3d最新准专家预测 | 3d走势图专家推荐号码 | 今晚的3d试机号是多少 | 3d预测最准的专家 | 今天3d于海滨预测 | 千禧3d试机号金码关注码码关注码双彩论六个 | 3d专家今天预测一注 | 3d今晚开奖号走势图 | 中国福彩3D独胆实时精准预测 | 3d今晚预测最新最准确号码牛彩网 | 中国杀码王3d绝杀 | 3d最新准专家预测 | 3d独胆专家推荐独胆 | 3d近15期开奖号码结果 | 3d今晚最佳和值 | 周星星3d预测手机牛彩网 | 太湖3d字谜三字诀 | 李明启3d今晚预测专栏 | 3d预测专家推荐最准确 | 太湖叟3d字谜湖字谜 | 3d今天的开机号和试机号查询 | 中国福彩3D独胆最新必中最新 | 3d詹天佑预测分析牛彩网 | 3d专家预测最准确今天南方双彩网 | 3d最精准的专家预测 | p3千禧试机号关注金码 | 3d走势图基本走势图 | 福彩3D独胆团队必中 | 3d最准确预测专家 | 今天3d开机号,试机号是多少 | 3d藏机图正版藏机图太湖字谜 | 詹天佑今天3d推荐 | 于海滨一语定胆专家点评 | 3d玩胆先生双胆独胆 | 3d推荐号今晚专家预测最准确 | 3d预测詹天佑最新 | 3d近100期试机号和开奖号是多少 | 3d试机号后专家预测推荐汇总 | 3d专家预测汇总牛彩网 | 专家3d预测汇总 | 3d今晚专家预测推荐 | 近50期3d开奖结果 | 于海滨3d预测号 | 3d今晚最稳 | 3D独胆明日分析 | 3d独胆专家推荐独胆 | 北斗3d今日预测 | 3d专家预测最准确最新汇总对应码 | 3d开机号今天试机号查询 | 小薇3d预测今天推荐 | 3d预测最新最准专家推荐号码 | 今于海滨3d预测今天牛彩网 | 3d预测最准最新准专家预测 | 今天3d詹天佑预测分析 | bbs,55125:cn彩吧论坛 | 3d焰舞和值谜字谜 | 3d直选形态走势图彩宝网 | 福彩3D独胆下期走势最新 | 今天3d开机号和试机号码结果查询 | 3d专家预测最准确今天南方双彩网 | 3d试机号今天晚上金码92期 | 3d最精准专家预测汇总今天 | 3d今晚最准专家预测号码 | 3d预测 下一期 3d预测专家 3d预测 | 3d百位遗漏振幅走势图南方双彩网 | 3d专家今天推荐号 | 中国福彩3D独胆下期推荐推荐最新 | 3d最精准专家预测汇总今天 | 3d今晚必出一注100%准确直选推荐 | 3d最准专家预测方法 | 3d专家预测最准确最新今天牛彩 | 全民胆王3d独胆一个 | 毒胆牛人三天计划今天 | 今晚必中一注i | 3d的预测号是多少 | 3d开奖号码今晚走势图 | 天齐藏机图汇总正版藏机图 | 3d盐都三胆家彩网 | 3d今晚精选预测一注 | 3d今天推荐号码是多少 | 3d专家预测汇总牛彩网彩摘收集 | 3d试机号今天开机号查询结果 | 廊坊鸿运3d最新预测 | 3d北斗专家北斗预测今天079期3d | 《金银胆神》金胆银胆3d最新一期开奖 | 3d各类和值谜追加汇总 | 3d千禧开号试机号关注金码对 | 今晚3d最准专家预测号 | 三d字谜图谜总汇牛彩网 | 3d推荐最新最准专家预测 | 3d今天开机号试机号金码关注号 | 3d今日开机号和试机号及关注码 | 3d今晚最准最新专家推荐号 | 3d中国准神双胆 | 于海滨杀码图谜 | 千禧3d开机号试机号金码 | 3d今晚预测 | 3d今晚十大专家预测汇总 | 3d预测专家汇总预测 | 3d双胆独胆非常非常稳定 | 3d预测总汇手机牛彩网 | 3d专家预测号码推荐今天 | 今于海滨3d杀码图24210 | 今天3d藏机图正版藏机图藏机图太湖横屏 | 3d预测专家推荐号码 | 3d预测专家精准推荐 | 3d独胆陈华今晚就赌一个胆 | 3d今晚专家推荐号 | 3d今天专家预测最准 | 3d彩界元宝就看一个独胆 | 3d跨度振幅走势图3d专家 | 老炮子3d直选三注 | 千禧3d试机号金码关注码对应码 | 詹天佑3d今晚预测号码 | 詹天佑最新预测3d | 今晚3d专家推荐号码 | 福彩3D独胆下一期推荐最新 | 今晚预测3d号 | 3d预测最准专家预测牛彩网 | 独胆计划王 | 3d预测号码最准确专家预测 | 3D独胆老师命中率 | 3d杀码百位十位个位 | 3d预测专家最准确今天 | 3d绝杀一码绝杀 | 3d汇总牛彩网| 于海滨3d今晚预测号码 | 今天3d开机号 和试机号 查询结果 | 3d预测专家推荐最准确 | 3d最新专家预测汇总 | 3d专家预测最准确号码 | 3d专家詹詹天佑最新推荐 | 3d牛彩网.| 3d最新最准预测号码 | 3d今晚预测直选一注3d一注预测 | 3d今晚试机号是多少查询 | 3d就打一个胆中了多少钱 | 3d彩吧预测,预测 | 3d预测最准的专家预测 | 今日3d预测专家推荐 | 钱王老头点评牛彩网 | 3d单一跨度走势图表 | 3d乐彩走势图表 | 中国福彩3D独胆团队命中率最新 | 3d专家预测最准最新今天 | 3d预测最准专家预测号 | 3d钓叟字谜三字诀官网 | 白鱼舟最新3d预测 | 詹天佑3d今日预测 | 三d牛彩网开机号试机号是多少 | 詹天佑预测3d | 3d今天专家预测最准确 | 3d专家预测于海滨 | 3d试机号和开机号牛彩网 | 3d今天开机号和试机号查询100期 | 3d最准杀码 | 3d字字谜图谜总汇 | 中国福彩3D独胆下期推荐推荐最新 | 今晚3d最准专家预测号 | 一名将3d双胆预测 | 于海滨专家3d今天预测 | 福彩3D独胆老师必中最新 | 3d预测最准确专家预测 | 3d专家预测最准确最新今晚预测 | 中国福彩3D独胆独家必中 | 3d试机号开机号今天金码关注 | 3d预测 下一期 3d预测专家 3d预测 | 3d下期预测最准一注 | 3d所有走势图 | 3d十大专家推荐号码汇总 | 太湖字谜三字诀汇总 | 3d今晚预测号码 | 3d最准确预测专家 | 3d今晚试机号是多少 | 3d开机号试机号今天最新50期 | 3d预测专家最准确 | 3d预测最准最新牛彩网 | 于海滨最新3d预测推荐今天 | 3d北斗专家北斗预测今天079期3d | 3d今天专家推荐号码 | 3d今天试机号开机号关系 | 3d和值尾振幅走势图近50期 | 3d最准的预测专家 | 三天计划胆十组合 | 3d今晚和值字谜 | 3d独胆专家推荐独胆 | 手机牛彩网3d预测 | 三d五码复式打一注多少钱啊 | 3d最新最准专家预测号码 | 3d试机号近10期彩经网 | 中国福彩3D独胆独家必中 | 今天晚上3d推荐号码 | 排3藏机图正版藏机图今天 3d八哥图库总汇d字谜图谜总汇大全 | 3d专家最新最准预测 | 3d最新最准预测号码今天 | 3d杀码十大专家天齐网 | 3d预测最准专家预测 | 北斗3d专家预测 | 3d五码复式 | 3d推荐号3d推荐号码 | 于海滨海3d预测牛彩网 | 3d跨度五行走势图3d之家 | 3d今晚最准专家预测号码145 | 3d开奖号码走势图表 | 3d和值尾振幅走势图近100期 | 3d今晚预测准确的专家预测 | 3d和值尾振幅近100期走势图 | 今天3d牛彩网专家预测 | 3d今天开机号和试机号开奖结果 | 今天3d太湖钓叟字谜三字诀 | 3d专家预测号码推荐今天 | 3d预测 下一期 3d预测专家 3d预测 | 3d直选走势图(专业版) | 3d独胆10中10 | 经典小胆王三天计划配组合 | 3d专家解今日太湖字谜汇总 | 今于海滨3d预测今天单线联系 | 福彩3D独胆最新推荐最新 | 牛彩网3d预测汇总大全 | 3d基本走势图表完整版 | 福家老三3d推荐号 | 3d长中剑客预测今天 | 3d今天专家预测最准 | 太湖字谜太湖钓叟三字诀 | 陈华3d今晚就赌一个胆天齐网 | 今天3d金码试机号对应码开机号 | 3d今晚推荐一注 | 3d开机号今天牛彩网近30期 | 3d太湖老情人字谜图谜 | 于海滨3d预测牛彩网 | 3d双胆中中中 | 今晚3d开机号和试机号是多少 | 3d下期预测最精准的一注号码 | 3d专家预测最准最新 | 3d今晚预测100% | 福彩3D独胆内部杀号 | 于海滨海3d专家预测 | 两天双胆计划王 | 3d预测最新最准专家 | 3d中国准神双胆 | 3d詹天佑最新预测牛彩网 | 3d武当玉女掌门一句定三码字谜 | 3d今天专家推荐号码是多少 | 今于海滨3d杀码图24210 | 3d最准杀码 | 3d近500期试机号和开奖号码 | 3d每天都有开奖吗 | 3d今日预测最准专家预测 | 东北小胆神今晚独胆 | 老炮子预测今晚三地 | 于海滨点评专家一语定胆保真版 | 3d十大专家独胆 | 3d试机号和开奖号走势图 | 詹天佑今日3d预测 | 3d最精准专家预测汇总今天 | 3d于海滨上的今天预测 | 3d今天专家预测号码最准确 | 3D独胆大神命中率最新 | 福彩3D独胆下一期推荐最新 | 今日3d蓝仙子一句定三码字谜 | 3d专家今天推荐号 | 3d预测分析 | 3d独胆专家预测 | 3d预测最准确专家预测 | 3d今晚精准推荐一注 | 今天3d太湖钓叟三字诀字谜 | 3d真帝王杀码图 | 3d专家预测号码手机牛彩网 | 孟庆会老师3d预测彩吧图库今天 | 3d资料大全免费 | 李明启3d预测最新号码 | 钱王点评3d之家 | 3d预测今晚推荐号 | 3d试机号金码号是多少 | 于海滨3d免费预测最新的 | 3d千禧开机号试机号关注金码 | 今日3d藏机图汇总 正版 新版 | 3d于海滨预测预测牛彩网 | 天才计划三天计划独胆 | 3d专家最新最准预测 | 今天3d专家预测汇总 | 3d老炮子直选三注 | 骄子铁鹰解3d字谜今日 | 3d四码直选多少钱一注 | 3d独胆10 10 | 三d独胆王独胆双胆 | 3d今天开机号和试机号开奖结果 | 3d预测最准预测号 | 3d千禧试机号金码关注最近10期 | 3d专家推荐最精准的号码 | 3d上下五千年专家预测 | 今晚最准的一注3d | 3d试机号今天晚上是多少 | 3d看胆精英独胆 | 3d必出规律胆 | 3d财神爷独胆双胆双飞计划三天 | 3d今晚专家预测最准确一注 | 3d独胆陈华今晚就赌一个胆 | 玩彩独胆王三天计划 | 今日3d太湖字谜每天更新 | 3d推荐号今日预测 | 千禧3d试机号金码今天关注码对应码 | 于海滨3d预测免费每日精选 | 3d最精准专家预测汇总今天 | 太湖叟3d字谜湖字谜 | 3d预测今晚最准专家预测号码 | 3d综合走势图直选 | 3d藏机图完整版今天 | 3d和值跨度走势图带连线 | 3d杀码条件今天最准 | 于海滨杀码今天最新版 | 3d陈华今晚独胆推荐 | 3d今天专家推荐号码 | 今日期3d太湖字谜 | 福彩3D独胆下一期推荐最新 | 3d必中永久直选500注大底 | 李明启3d预测最新号码 | 3d今天专家预测推荐号码 | 3d预测总汇 | 三3d太湖字谜 | 今晚3d专家预测精选一注 | 3d跨度5有多少注 | 于海滨最新3d预测推荐今天 | 3d牛彩网采摘收集预测汇总 | 3d今天专家推荐号码推荐 | 于海滨海3d预测牛彩网 | 千禧3d试机号关注码金码试机号 | 于海滨3d预测免费 | 3d预测牛彩网 | 千禧3d试机号关注号 | 天齐藏机图汇总正版藏机图 | 3d推荐号今晚专家预测 | 3d机选一注 | 于海滨最新3d预测今天 | 今晚3d结果 | 于海滨一语点评今日 | 3d预测专家推荐号码 | 3d今晚专家预测推荐号 | 万能四码使用技巧 | 3d四码直选多少钱一注 | 专家预测3d号码准确 | 3D独胆下期推荐预测最新 | 3d中2个号多少钱 | 经典小胆王三天计划配组合 | 3d开机号和试机号金码关注对应码 | 福彩3D独胆下期最新分析 | 3d推荐号今晚专家预测 | 3d彩吧图库44462 | 3d下期预测最精准的一注号码 | 李明启3d预测最新号码 | 3d专家预测最准确今天上一期 | 3d专家最新最准预测 | 3d今晚专家推荐 | 投资计划独胆三天计划 | 3d詹天佑最新预测今天 | 马后炮解3d太湖钓叟字谜总汇大全 | 今晚3d专家预测汇总 | 3d邻孤传走势图乐彩 | 3d孔方来萃解太湖字谜 | 千禧试机号及金码 | 福彩3D独胆明日推荐 | 3d太湖字谜字谜汇总 | 3d专家预测最准确今天南方双彩网 | 3d今晚专家预测最准确号码 | 今晚于海滨海3d预测3d | 3D独胆本期命中率 | 今日3d一句定三码和值谜食物全部 | 福家老三3d推荐号 | 3d跨度5有多少注 | 3d开机号和试机号八仙选号 | 3d今天开机号和试机号码牛彩网 | 3d藏机图天齐正版藏机图 | 3d今晚预测直选一注 | 3d试机号今晚开机号 | 3d直选三注 | 3d预测最新最准3d之家 | 福彩3D独胆高手杀号最新 | 于海滨杀码图牛彩 | 太湖解太湖3d字谜 | 3d今晚最准专家推荐号 | 自创3d绝杀四码方法细节 | 3d今晚专家预测 | 真实的谎言3d字谜追加和值谜 | 3d今晚上必出号推荐组 | 最准3d专家预测推荐 | 福彩3D独胆最新必中最新 | 3d预测汇总 | 3d下期预测最精准的一注号码 | 3d精准定位专家预测 | 今日3d预测| 千禧3d试机号金码关注码对应码今晚 | 今晚3d专家推荐重点号码 | 3d今日预测最准专家预测 | 今天3d试机号开机号牛彩网 | 最新3d预测专家预测 | 3d百十和值尾振幅走势图 | 3d专家预测推荐 | 今日3d预测专家推荐 | 3d跨度走势图图表 | 张克永专家3d预测 | 中国福彩3D独胆专家精准预测最新 | 3d今晚最准一注 | 3d跨度振幅3d之家走势图 | 詹天佑最新预测3d | 3d推荐最新最准专家预测 | 今晚3d开机号试机号金码 | 3d两胆王双胆必下 | 3d千禧开机号试机号关注金码 | 3d专家预测推荐最新 | 于海滨今天3d预测号 | 3d的最新走势图表 | 3d今晚最准最新专家推荐号 | 3d专家预测最准确最新今晚预测号 | 3d千禧开机号试机号关注金码 | 3d预测汇总牛彩网 | 3d白娘子跨度字谜汇总今天牛彩网 | 3d开机号和试机号正版彩吧 | 3d乾坤独胆王独胆 | 3d预测专家最准确的专家预测 | 于海滨海3d专家预测今天 | 3d今日太湖字谜图 | 十拿九稳预测专家分析 | 中国福彩3D独胆老师分析最新 | 3d条件预测专家专区 | 3d预测最准确的专家 | 詹天佑最新预测3d | 今日3d钱王点评 | 3d陈华今晚独胆预测 | 今晚3d预测最准一注 | 今天3d开机号试机号对应码列表 | 3d詹天佑3d预测 | 最准3d预测专家推荐号 | 李白看3d独胆绝20 | 3d预测最准确的专家 | 福彩3D独胆老师必中最新 | 3d最准预测专家汇总大全 | 今晚3d一注50倍 | 今日太湖字谜3d字谜太湖钓叟 | 3d专家推荐号最准确的推号 | 3d专家预测推荐号码 | 今天3d双双独胆字谜 | 3d今晚最准专家预测号码145 | 3d今天精准一注 | 3d绝杀二码今天最新更新内容 | 今天3d于海滨预测 | 3D独胆团队走势 | 今于海滨3d预测今天单线联系 | 3d专家推荐预测号 | 3d今天专家推荐号码 | 今晚3d专家预测最准确 | 3d绝杀二码今天最新更新内容 | 3d今于海滨杀码图 | 3d字谜图总汇 | 3d开机号和试机号今天金码0 | 太湖谜3d太湖钓叟字谜 | 3d最新专家预测汇总大全 | 3D独胆本期推荐最新 | 3d预测今晚最准 | 3d今天专家预测号码 | 3d彩吧预测,预测 | 3d专家预测推荐号码最准最新 | 3d今天开机号和试机号码727 | 今天的3d太湖字谜 | 3d个位走势图振幅 | 3d独胆双胆独胆3d之村 | 3d十大专家推荐号码汇总 | 中国福彩3D独胆今晚分析 | 2009年浙江风采3d走势图 | 3d专家预测最准确最新新闻 | 太湖解3d字谜汇总 | 玩彩独胆王三天计划 | 廊坊鸿运3d推荐今天 | 3d开机号与试机号金码 | 3d最近1000期走势图表综合版图片 | 3d今天预测汇总 | 3d通杀一码 | 钱王点评| 3d两胆下一稳定方法 | 3d詹天佑最新预测今天 | 3D独胆下期预测 | 3d和值最近(500)期走势图 | 3d今天专家预测推荐号码 | 今天3d开机号和试机号牛彩网 | 3D独胆大神走势 | 今日3d太湖字谜三字诀洞庭游侠 | 《金银胆神》金胆银胆3d最新一期开奖 | 3d财神爷独胆双胆双飞计划三天 | 天才计划三天计划独胆 | 3d之家双胆独胆预测 | 3d最准确预测专家 | 十大专家3d预测汇总 | 3d预测专家最准确 | 3d今天专家推荐号码推荐 | 3d直选精准100%免费 | 3d廊坊鸿运 | 3d预测专家最准最新 | 最准3d专家预测推荐 | 3d专家詹詹天佑最新推荐 | 两天计划双胆王 | 3d毒胆 | 今晚3d专家推荐号码是多少 | 3d预测最准确的专家 | 看彩大亨最新独胆预测 | 3d专家最准确推荐最新 | 千禧金码关注码试机号 | 3d近30期开机号试机号开奖号查询 | 3d牛彩网采摘收集预测汇总 | 金银胆神金胆银胆的最新消息 | 于海滨点评专家一注定胆保真版 | 3d,预测 | 3d今天专家预测号码 | 3d今天推荐号码 | 3d藏机图正版藏机图汇总今天最新图片 | 3d最新准专家预测 | 今天太湖钓叟3d字谜三字诀 | 3d开机号今天近10期 | 3d任意两码差值尾走势图 | 3d和值基本走势图表 | 于海滨海3d预测免费每日精选3d开奖号 | 3d玩彩老头预测今天号码 | 3d独胆陈华今晚就赌一个胆 | 3d预测专家推荐最准确 | 马后炮解3d太湖字谜总汇大全 | 3d和值尾振幅走势图带连线图表 | 3d预测今晚最准专家预测号码 | 3d预测专家最准确 | 千禧之年3d开机号试机号金码关注 | 3d今晚最精准一注一注 | 3d预测总汇 | 3d谜语今天字谜今天的3d字谜是什么? | 3d预测最准确的专家预测软件 | 3d专家预测汇总 | 今天3d开机号和试机号多少? | 中国福彩3D独胆实时推荐 | 3d独胆陈华今晚就赌一个胆 | 3d开机号和试机号今天多少 | 周星星3d预测手机牛彩网 | 福彩3D独胆大神必中最新 | 3d千禧试机号关注码金码今天晚 | 3d太湖钓叟字谜三字诀汇总 | 3d故事小王双胆 | 三d预测专家最新推荐 | 3d开机号今天试机号30期 | 3d必下胆| 三d字谜图谜总汇牛彩网 | 3d专家预测最准确| 快8今晚最毒胆推荐 | 3d最新最准专家预测号码 | 3d之家北斗今日预测 | 詹天佑3d今晚预测号码 | 中国福彩3D独胆实时推荐 | 今晚3d专家预测最准确 | 3d专家预测最准 | 最准3d预测专家推荐号 | 3d詹天佑点评 | 十拿九稳预测专家分析 | 3d试机号开机号号码今天 | 3d单双走势图表(专业版) | 孟庆会点评 专家一语定胆 稳准狠三天计划 | 3d之家,专家预测预测 | 3d和值尾振幅走势图专业版 | 3d预测今晚推荐号 | 3d最准专家预测号 | 太湖3d字谜今天的 | 3d专家今天推荐号 | 今天3d太湖字谜三字诀 | 今天3d开机号,试机号是多少 | 3d图库彩吧彩报第三版 | 3d紫云涧专家预测推荐 | 千禧之年3d开机号试机号金码关注 | 专家预测3d号码准确 | 3d专家预测更准确今天 | 3d今天开机号试机号码查询 | 3d杀码高手 | 3d预测最准确专家 | 3d独胆双胆专家预测网 | 3d独胆专家推荐独胆 | 3d专家最新最准预测 | 3d预测最准的专家 | 今晚3d专家推荐重点号码 | 近50期3d开奖结果 | 钱王点评3d之家 | 十拿九稳今天预测专家 | 于海滨3d今晚预测号码 | 3d预测号码 | 3d推荐号今晚专家预测 | 三d的试机号是多少今天 | 3d最新最准专家预预测 | 3d预测专家最准确的专家预测今晚 | 排3太湖钓叟字谜三字诀 | 3d今天预测最准确专家 | 于海滨海3d预测免费每日精选3d开奖号 | 3d任意两码差值尾走势图 | 3d预测推荐汇总牛彩网采摘收集 | 3d专家预测最准最新今天 | 3d推荐号今晚专家预测 | 3d牛彩网专家汇总汇总大全 | 3d金胆王 | 3d今天开机号试机号码 | 3d预测最新最准专家 | 3d推荐号今日预测 | 今日钱王给胆点评 | 3d专家推荐最新预测 | 中国福彩3D独胆专家推荐最新 | 3d专家今天推荐号码推荐 | 福彩3D独胆下一期预测最新 | 3d字谜总汇今日3d字谜总汇牛彩网 | 今天专家推荐号码3d | 3d千禧试机号金码关注最近10期 | 今晚3d专家推荐重点号码 | 牛彩网近30期3d开机号试机号 | 3d十大专家精准预测 | 3d詹天佑3d预测 | 今晚3d预测专家预测号 | 3d今日正版藏机图最新更新内容 | 中国福彩3D独胆今晚走势最新 | 3d专家最新最准预测 | 于海滨三地杀码 | 3d千禧开机号和100期试机号 | 3d预测最准确专家预测 | 今日3d太湖三字谜 | 3d今晚最准专家预测号码 | 彩吧3d开机号 | 3d今天开机号和试机号322 | 3d预测最准专家 | 龙头凤尾最准确预测 | 3d跨度金木水火土五行走势图 | 3d和值走势图(专业版) | 3d推荐号今晚专家预测 | 3d十大专家独胆 | 3d经典毒胆 | 3d今日号码推荐 | 3d开机号今天试机号30期 | 今晚3d专家推荐号码是多少 | 3d牛彩网试机号后专家预测汇总 | 晚秋3d今晚和值谜 | 3d独胆王正版 | 3d今晚开奖号结果3b | 北斗3d今日专家预测推荐 | 3d今晚专家预测重点号码 | 3d最准预测号 | 3d预测专家推荐号码 | 3d预测专家准确推荐 | 于海滨点评专家一注定胆保真版162期 | 3d各类和值最新谜字谜今天 | 3d开机号和试机号码牛彩网 | 3d于海滨专家预测 | 今晚3d专家推荐重点号码 | 今天彩报中心 3d图库 | 3d专家预测最准确今天上一期 | 3d开机号和试机号今天 今晚 | 3d独胆三天必出计划论坛 | 3d红波蓝波走势图大中小 | 3d今天专家预测号码 | 于海滨3d专家预测 | 3d预测今晚最准专家预测号码 | 3d败家子独胆图 | 3D独胆明日精准预测 | 3d今晚最准专家推荐号码 | 今晚快乐八专家预测推荐号 | 唐龙3d预测今日出号点评 | 3d试机号今天开机号查询结果 | 于海滨最新预测今天 | 3d最准确专家预测 | 3d今晚预测直选四注 | 今晚3d专家推荐号 | 全民胆王3d独胆一个 | 3d专家预测汇总牛彩网收集汇总 | 詹天佑今天3d推荐 | 3d今晚专家预测重点号码 | 3d今晚预测直选一注 | 3d预测专家推荐最准确 | 独胆计划王 | 3d牛彩网预测 | 3d专家今日推荐号码 | 福彩3D独胆高手杀号最新 | 于海滨专家预测 | 于海滨今日3d预测 | 3d今晚必中三个号码预测 | 于海滨彩吧图库 | 2009年浙江风采3d走势图 | 3d布衣独胆王正版今天 | 3d预测号码最准最新准专家预测号 | 3d今晚专家预测 | 卫星电话最建议买的三个型号 | 3d预测专家最准确的专家预测今晚 | 3d今日专家推荐 | 詹天佑3d最新预测今天 | 今晚3d专家推荐号码是多少 | 3d今晚专家预测最准确号码 | 今晚精准一注3d | 3d杀码图天齐网 | 今天3d专家预测号码 | 中国福彩3D独胆今晚走势最新 | 福彩3D独胆老师精准预测最新 | 白骨精3d独胆图今天 | 今晚3d的开奖号码结果 | 今天晚上3d开奖 | 今天专家推荐号码3d | 小红人的计划三天计划 | 3d预测最准确最新 | 3d彩皇网 | 3d北斗专家北斗预测今天079期3d | 3d专家最新最准专家预测汇总 | 3d直选综合走势图表图 | 马到成功杀两码最新版本更新内容 | 3d千禧试机号开机号对应码关注号 | 三d预测专家最新推荐 | 今天3d开机号和试机号查询结果彩吧 | 3d各路专家预测汇总大全最新 | 3d最新专家预测推荐 | 3d试机号历史出现情况天齐网 | 3d推荐号今晚专家预测 | 3d今晚的开奖号码 | 3d牛彩网 | 3d专家詹詹天佑最新推荐 | 今日3d正版藏机图 | 3d今晚推荐一注 | 3d开机号今天试机号30期 | 3d近500期试机号和开奖号码 | 3d十大专家双胆预测汇总 | 3d直选综合走势图表图 | 3d推荐最新最准专家预测 | 3d今天开机号试机号码查询 | 3d预测专家最准确今天 | 3d今天专家预测最准确 | 3d跨度振幅走势图3d专家 | 3d最精准的专家预测精选 | 3d独胆专家预测 | 3d专家解太湖字谜汇总 | 3d于海滨今天预测保真 | 3d今晚推荐号码最新 | 3d于海滨杀码图 | 排三太湖钓叟字谜三字诀 | 3d专家今日推荐号码 | 3d百个位和值尾走势图 | 解3d太湖钓叟字谜汇总 | 十拿九稳十大专家预测汇总最新一期 | 3d开机号和试机号码牛彩网 | 3d谜语太湖钓叟3d谜语今天 | 3d今天专家推荐号码是多少 | 今日精准预测推荐3d号码 | 神仙姐姐今天最新杀码 | 千禧开机号试机号关注号金码杀码 | 3d今晚专家预测推荐 | 3d字谜太湖解字谜 | 3d真实的谎言正版和值字谜 | 中国福彩3D独胆团队命中率最新 | 孟老师专家预测3d | 今于海滨3d杀码 | 3d开机号试机号关注号金码对应码 | 今晚3d专家预测汇总 | 3d二天独胆王 | 3d预测牛彩网 | 3d牛彩网今天开机号试机号 | 3d今晚开奖号多少 | 今晚3d预测推荐一注 | 今天的3d太湖字谜 | 唐龙点评每日一胆龙 | 3d十大专家预测汇总 | 3d走势图基本走势图表 | 3d今晚最精准一注一注 | 3d直选历史遗漏查询 | 3d恋预测今晚预测是哪里出的 | 3d今天试机号开机号关系 | 3d百位遗漏振幅走势图南方双彩网 | 3d预测最准专家预测牛彩网 | 今天专家推荐号码3d | 3d百位个位和值走势图 | 3d和值走势图表综合版 | 3d预测今日最新推荐 | 今天的3d藏机图正版藏图 | 3d试机号200期历史 | 3d今日预测最准专家预测 | 3d专家预测最准最新今天 | 3d今天最新最准专家预测最 | 3d陈华今晚就赌一胆今天最新消息 | 3d今晚必出号预测 | 3d陈华今晚独胆推荐 | 太湖字谜马后炮3d总汇 | 3d带连线专业版走势图表 | 3d专家预测最准确最新今晚预测 | 今晚3d专家预测精选一注 | 今于海滨3d预测今天牛彩网 | 天齐杀码图汇总 | 福彩3D独胆本期命中率 | 近30期3d开机号 | 今晚的3d试机号是多少 | 3d和值基本走势图表 | 试机号开机号金码关注号对应码3d | 三d预测专家最新推荐 | 3d今晚最准专家预测号码145 | 3d预测今晚推荐号 | 铁人铁胆定位包是预测 | 3d图谜字谜总汇 | 3d紫云涧专家预测推荐 | 詹天佑3d今天预测分析 | 3d最准专家预测号 | 周不出最新3d杀码 | 3d千禧试机号金码关注码对应码 | 3b千喜今天试机号关注金码 | 今于海滨3d预测今天单线联系 | 3d今晚专家预测 | 3d预测最准最新准专家预测 | 中国福彩3D独胆实时精准预测 | 3d今晚最准一注 | 3d字谜总汇图 | 3d今晚十大专家预测汇总 | 3d专家预测汇总牛彩网 | 3d走势图带连线图表牛彩网 | 今天专家推荐号码3d | 专家预测3d预测 | 3d开机号和试机号今天全部 | p3故事小王双胆下一今天 | 3d最新专家预测汇总牛部长预测 | 最准3d专家预测推荐 | 3d专家预测推荐汇总 | 3d专家预测最新推荐 | 3d和尾振幅走势图3d专家 | 3d今天专家预测号码最准确 | 今晚3d专家推荐号码 | 彩界毒胆大师一枚毒胆 | 3d牛彩网专家预测 | 3d彩宝网开机号和试机号 | 牛彩网3d预则 | 3d今晚最准专家推荐号码 | 今于海滨3d预测今天单线联系 | 3d独胆是什么意思 | 3d今日专家推荐号 | 福彩3D独胆独家走势 | 3d阿福图库图谜大全 | 3D独胆下期推荐走势最新 | 今天3d精选一注 | 3d十大专家精准预测汇总 | 3d预测最准专家预测 | 于海滨点评专家一注定胆保真版162期 | 3d今晚预测最新最准确号码牛彩网 | 今天3d双双独胆字谜 | 3d计算机开机号夏天推荐 | 于海滨点评专家一语保真 | 3d专家预测最准确最新今天 | 于海滨专家一语定胆十每日 | 千禧3d关注码 | 3d北斗专家北斗预测今天079期3d | 3d专家预测汇总牛彩网彩摘收集 | 三d的试机号是多少今天 | 3d单一跨度走势图表 | 3d于海滨专家预测 | 太湖字谜太湖钓叟三字诀 | 3d最新专家预测汇总大全 | 中国福彩3D独胆下期推荐杀号最新 | 3d同期历史对比 | 3d今天开机号试机号100期 | 十拿九稳专家最新预测 | 3d彩吧试机号今天最新 | 3d于海滨专家预测 | 3d今晚上预测号码 | 3d专家最精准的推荐 | 3d今天最新最准专家预测最 | 3d专家推荐最新预测 | 3d最准专家预测号今晚3d试机号 | 3d试机号近10期(模拟) | 3d小胆神独胆今天 | 3d藏机图正版藏机图汇总今天最新图片 | 豪哥看3d定位 | 3d今日号码推荐 | 3D独胆明日分析 | 3d今晚十大专家预测汇总 | 3d专家预测最准确最新今晚预测 | 今晚3d预测总汇 | 于海滨3d杀码 | 3d专家最准确推荐最新 | 3d今晚预测直选四注 | 3d试机号是多少牛彩网 | 今晚最准一注3d | 3D独胆下一期精准预测 | 3d开机号,试机号,金码号,对应码100 | 3d走势图专家推荐号码 | 3d今晚预测最新最准确号码牛彩网 | 今天3d专家推荐重点号码 | 小德3d今天双胆定位 | 3d专家今天预测一注 | 铁人铁胆3d包星定位最新今天 | 3d开机号试机号今天最新50期 | 3d今晚专家预测最准确一注 | 于海滨3d预测牛彩网 | 于海滨杀码图 | 今晚3d专家推荐 | 排三专家杀码 | 今晚3d推荐号 | 3d败家子独胆图 | 3d今晚上开奖号码 | 今天三d专家推荐号码 | p3故事小王双胆下一今天 | 3d今天晚上预测最准专家 | 于海滨杀码图天齐网 | 3d和尾振幅走势图3d专家 | 中国福彩3D独胆下期最新分析 | 3d开机号今天牛彩网近30期 | 3d胆拖价格表 | 3d正版藏机图谜汇总 | 3d专家预测最准确今天南方双彩网 | 中国福彩3D独胆最新必中最新 | 3d今天开机号试机号对应码关注码 | 3d专家预测号码推荐今天 | 一代女王决杀两胆免费观看 | 3d牛彩网采摘收集预测汇总 | 今天3d数字定位三 | 成功路上3d双胆独胆 | 3d预测最准专家预测牛彩网 | 3d詹天佑3d预测 | 3D独胆实时必中最新 | 3d太湖字太湖字谜今天 | 3d胆1拖9直选多少钱一注 | 3d今晚最准专家预测号码 | 3d谜语解太湖字谜 | 3d近300期试机号和开奖号码 | 今日3d专家预测号最准确 | 3d今天预测最准确专家 | 3d直选一注50倍单挑 | 3d开机号,试机号,金码号,对应码100 | 3d专家最新最准专家预测 | 太湖解太湖3d字谜 | 3d专家预测号码推荐今天 | 3d试机号近30期牛彩网 | 3d走势图全图表 | 今晚3d专家推荐号码是多少 | 今日3d太湖字谜三字诀试机号 | 3d于海滨预测预测牛彩网 | 3d试机号开机号今天金码关注 | 北斗3d今日专家预测推荐 | 福彩3D独胆下期推荐预测 | 3d今晚最准三注 | 3d万能四码走势图表 | 今晚3d开奖结果是多少 | 3d七码复式最准专家 | 福彩3D独胆下期推荐预测 | 3d近200期试机号和开奖号码 | 3d彩吧试机号今天最新 | 开心毒胆王今晚独胆 | 3d开机号和试机号今天多少 | 今晚3d预测总汇 | 3d专家预测最准最新 | 今于海滨3d预测今天牛彩网 | 3d专家预测最准确最新今晚预测 | 千禧今晚3d试机号关注码金码 | 3d专家预测最准最新 | 3d专家解太湖字谜汇总 | 詹天佑3d最新消息今天 | 中国福彩3D独胆最新走势 | 牛彩网近30期3d开机号试机号 | 今天3d开机号试机号牛彩列表 | 3d今天的推荐号 | 福家老三3d推荐号 | 三地千禧试机号关注金码对应码 | 三d独胆王独胆双胆 | 詹天佑预测3d | 今晚3d结果开奖号码 | 3d陈华今晚独胆推荐 | 3d最精准的专家预测 | 今晚3d专家最精准的预测 | 3d推荐最新最准专家预测 | 排3太湖钓叟字谜三字诀 | 3d预测号码最准确专家预测 | 3d试机号今天开机号查询结果 | 于海滨海3d最新预测 | 3d预测 下一期 3d预测专家 3d预测 | 十拿九稳预测专家分析 | 3d今天专家推荐号码推荐 | 3d预测最准确专家预测牛彩网 | 今天3d字谜解太湖字谜 | 3d最新专家预测推荐 | 今晚3d试机号码和开机号 | 毒胆牛人3天计划 | 牛人独胆三天计划 | 太湖钓叟3d字谜三字诀 | 今晚三d推荐什么号码 | 今天最新3d开机号试机号关注码 | 3d今晚最准专家推荐号 | 3d走势图专业版(带连线) | 3d今晚和值字谜 | 3d跨度遗漏值振幅走势图彩经网 | 3d今晚专家预测最准确一注 | 3d的预测号是多少 | 3d今天开机号和试机号是多少 | 三d试机号后专家预测汇总 于海滨专家3d今天预测 | 3d于海滨预测预测牛彩网 | 3d专家预测最准确今天上一期 | 千禧3d试机号金码关注码今天 | 3d双胆神算今天最新 | 3d今天精准一注 | 3D独胆实时推荐 | 钱王老头点评牛彩网 | 太湖3d字谜今天的 | 3d最精准一注一注 | 3d专家预测最准确最新今天 | 3d和值尾振幅走势图近100期 | 3d专家推荐最精准的号码 | 3d预测最准专家预测号 | 3d小胆神独胆今天 | 今晚3d专家最精准的预测 | 3d专家今天推荐号 | 千禧3d试机号金码关注码对应码今晚 | 3d定和值公式 | 今日3d预测专家推荐 | 3d最精准的专家预测 | 于海滨专家预测 | 唐龙预测一胆今天 | 今日3d预测 | 3d今晚必出号 | 3d紫云涧专家预测推荐 | 3d专家杀码天中图库 | 故事小王p3双胆必下 | 3d陈华今晚就赌一个胆搜索一下 | 专家预测3d号码准确 | 3d上下五千年专家预测 | 于海滨点评加专家一语 | 3d下期预测最精准的一注号码 | 3d正版藏机图总汇全图 | 3d专家预测牛彩网 | 今天3d开机号和试机号对应金码 | 3d试机号近10期(模拟) | 中国福彩3D独胆专家精准预测 | 詹天佑最新预测3d | 最准3d预测专家推荐号 | 3d专家预测最准确最新推荐号码 | 今天3d开机号和试机号码结果查询 | 3d最新专家预测汇总大全 | 牛彩网3d专家预测汇总 | 3d预测专家推荐号码 | 3d预测专家最准确 | 3d预测今晚推荐号 | 3d单双走势图表 | 今日正版藏机图全部汇总239期 | 福家老三3d推荐号 | 3d预测一注号推荐今晚 | 西施姐姐就赌一个独胆 | 3d独胆专家推荐独胆 | 3d于海滨杀码图 | 今天专家推荐号码3d | 白骨精3d独胆图今天 | 今天最准3d预测号 | 今于海滨最新预测今天 | 3d任意两码差值尾走势图 | 于海滨3d预测今天 | 福彩3D独胆老师必中最新 | 3d最准预测号 | 今晚3d结果 | 今晚3d试机号千禧试机号金码关注 | 3d预测专家最准确今天 | 3d 今日太湖字谜 | 今日3d一句定三码最准和值谜 | 今天3d专家推荐号 | 3d独胆王定位独胆定位 | 近50期3d开奖结果 | 3d专家预测最新 | 3d独胆专家预测 | 3d百位四胆| 今天三d专家推荐号码 | 三d牛彩网开机号试机号是多少 | 3d于海滨预测预测牛彩网 | 解太湖3d字谜太湖 | 今天3d藏机图正版藏机图藏机图太湖横屏 | 3d预测今晚最准专家预测号码 | 3d预测最精准一注 | 3d和值尾振幅近100期走势图 | 于海滨三地杀码 | 3d正版藏机图谜汇总 | 3d预测最准确的专家 | 3d今天断组预测 | 3d预测号最新最准牛彩网 | 于海滨海3d专家预测今晚一注 | 今日钱王给胆点评 | 3d和值振幅走势图带连线坐标 | 铁人铁胆3d包星定位最新今天 | 中国彩吧更一懂彩民最新版本更新时 | 三d试机号后专家预测汇总 于海滨专家3d今天预测 | 3d专家预测最准确最新今天牛彩 | 张克永3d预测今天 | 今天3d字谜解太湖字谜 | 千禧试机号金码今天的 | 3d两胆精准预测 | 3d专家预测最准确| 3d今天开机号试机号码查询 | 三天计划独胆牛人 | 太湖字谜马后炮3d总汇 | 排五预测最准专家 | 3d最新专家预测汇总大全 | 3d预测最准确专家预测 | 【开心毒胆】今天 | 2025排五守号推荐 | 3d太湖专家预测今晚 | 今天3d专家预测汇总 | 今晚3d专家推荐号 | 今日3d太湖字谜三字诀试机号 | 3d专家预测最准确号码 | 3d预测最准专家预测号码 | 3d陈华今晚独胆推荐 | 今日3d开机号和试机号关注码千禧 | 太湖钓叟3d字谜三字诀 | 3d直选一注 | 3d专家预测最准最新 | 今日3d直选 | 今日精准预测推荐3d号码 | 3d彩吧预测,预测 | 3d和值牛彩网| 牛彩网3d预测汇总 | 千禧3d试机号金码关注码杀码今天3d | 于海滨最新预测今天 | 今日期3d太湖字谜 | 3d专家最准确预测 | 今天3d开机号和试机号码是多少 | 3d牛彩网字谜图谜总汇九 | 中国福彩3D独胆实时精准预测 | 3d和值谜汇总大全 | 3d预测专家推荐最新 | 2012099期3d开奖结果 | 今日3d太湖字谜三字诀 | 钱多多3d百位定独胆 | 3d预测最准确专家预测牛彩网 | 3d双胆图 | 3d胆拖价格表 | 詹天佑3d推荐 | 3d预测最准的专家预测 | 3d最精准专家预测汇总今天 | 3d开奖号码今晚走势图 | 最准3d预测专家推荐号 | 3d精准直选一注 | 今晚最全3d晚间字谜汇总192期 | 3d独胆专家推荐独胆 | 手机牛彩网3d预测 | 最准一个毒胆 | 今于海滨点评专家一语定胆 | 今晚3d直选一注 | 明天太湖3d三字诀 | 3d预测专家汇总预测 | 今天3d开机号和试机号多少? | 3d彩宝贝字谜| 3d推荐号码今晚预测 | 3d今晚开奖号是多少 | 3d通辽独胆王今天 | 3d精准预测最准的专家 | 3d十大专家汇总精选一注 | 近10期3d开奖结果 | 今晚3d直选一注 | 3d白娘子跨度字谜汇总今天牛彩网 | 太湖字谜马后炮3d总汇 | 3d专业版(走势图带连线) | 3d最准确的专家预测 | 天才计划三天计划独胆 | 3d预测最准确的专家 | 千禧3d试机号关注码今天 | 3d北斗专家北斗预测今天079期3d | 3d试机号后专家预测推荐汇总 | 3d百位四胆 | 3d今晚专家预测 | 福家老三3d推荐号 | 3d和尾振幅走势图3d专家 | 3d预测今日最新推荐 | 3d北斗专家北斗预测今天079期3d | 7号电池最建议买的三个型号 | 3d今晚开奖号码多少 | 3d预测专家最准确的专家预测今晚 | 3d今天专家推荐号码推荐 | 千禧3d试机号关注号 | 3d今天预测号| 55125预测汇总3d | 3d太湖解字谜 | 3d今天专家预测号码 | 今天3d太湖字谜三字诀 | 3d湘西胆王今日字谜 | 3d今天专家预测号码 | 中国福彩3D独胆当天精准预测最新 | 3d今晚最准专家预测号码 | 3d今天专家预测推荐号码 | 3d独胆必下一个胆 | 中国福彩3D独胆当天预测最新 | 3d预测杀码 | 3d詹天佑3d预测分析 | 3d单一跨度走势图表 | 3d预测专家最准确今天 | 今晚3d一注50倍 | 3d试机号历史出现情况天齐网 | 3d百个位差值振幅走势图100期 | 3d专家预测推荐 | 3d开机号和试机号金码关注对应码 | 中国福彩3D独胆高手命中率 | 3d专家预测最准最新今天 | 3d今晚专家推荐号 | 3d专家最新最准预测 | 3d开机号和试机号200期列表 | 三d十拿九稳预测号码 | 3d专家预测推荐号码 | 3d今天开机号和试机号是多少 | 金银胆神金胆银胆的最新消息 | 3d小红人三天计划 | 今晚3d出的什么号 | 今日3d预测号码推荐 | 今晚3d推荐号码 | 今晚3d开机号和试机号是多少 | 于海滨3d免费预测 | 3d专家预测最准牛彩网 | 3d胆1拖9直选多少钱一注 | 3d预测专家精准推荐 | 詹天佑3d今天最新预测 | 3d今晚上预测号码 | 3d专家今天推荐号 | 3d推荐号今晚专家预测最准确 | 3d振幅和值尾走势图 | 3d最精准的专家预测 | 3d推荐号今日预测 | 陈华今晚独胆特别关注 | 千禧试机号金码关注号对应码杀码 | 排3藏机图正版藏机图今天 3d八哥图库总汇d字谜图谜总汇大全 | 3d专家推荐预测号 | 3d预测号码最准最新准专家预测号 | 3d布衣独胆王 | 3d近100期的开奖号码和试机号 | 今晚3d专家推荐 | 中国福彩3D独胆实时精准预测 | p3故事小王双胆下一今天 | 机选一注3d | 3d 今天 试机号开机号3 | 顶级胆神双胆必下 | 唐龙3d预测今日出号点评 | 3d千禧试机号金码关注码 | 3d开奖号码今晚走势图 | 今天3d太湖字谜三字诀 | 3d独胆10中10 | 于海滨专家预测3d两吗 | 3d今日太湖字谜图 | 一名将3d双胆预测 | 3d今天开机号和试机号码 | 今日3d专家预测号码推荐 | 中国福彩3D独胆最新推荐 | 3d今晚预测100% | 太湖字谜3d和值谜 | 3d千禧试机号关注码金码是什么 | 福彩3D独胆大神精准预测 | 3d组选中一注多少钱 | 最准3d专家预测推荐 | 3d千禧金码试机号关注码 | 3d今天专家推荐号码 | 3d预测号专家预测 | 今晚3d预测推荐一注 | 3d今晚精彩预测 | 3d今晚专家预测推荐 | 3d预测最准确的专家 | 3d今晚最准最新专家推荐号 | 今日3d专家预测号码 | 3d今晚专家预测最准确一注 | 3d开机号,试机号和开奖号 | 3d号码预测牛彩网 | 3d预测最准确的专家 | 3d今晚最准三注 | 今天的3d太湖字谜 | 藏机图3d正版总汇 | 3d预测最准确专家预测牛彩网 | 十拿九稳预测专家分析 | 毒牛人三天计划 | 3d十大专家推荐号码汇总 | 今天3d试机号开机号是什么 | 3d钱王老头给胆点评 | 3d太湖钓叟三字诀字谜汇总 | 3d必中永久直选500注大底 | 3d独胆必下一独胆 | 3d计算公式 | 陈华今晚就赌一个胆预测 | 3d专家预测推荐号最新 | 3d专家预测于海滨 | 最准3d预测专家推荐号 | 毒胆牛人三天计划必出 | 3d今天开机号和试机号金码对应码 | 詹天佑3d预测 | 3d两胆精准预测 | 牛彩网专家汇总汇总3d | 3d太湖专家预测今晚 | 3d预测最准确的专家 | 3d开机号试机号今天的 | 3d今天专家预测号码 | 3d开机号试机号30期列表走势图 | 3d专家预测最准确最新推荐号码 | 詹天佑3d预测 | 3d今晚专家预测最准确一注 | 3d预测号码最准确专家预测 | 陈华今天就赌一个胆3d | 3d专家预测号 | 十拿九稳今天预测专家 | 3d预测号码最准最新准专家预测号家彩网 | 3d精准预测最准的专家 | 福彩3D独胆下期推荐必中 | 毒胆牛人3天计划 | 千禧3d试机号关注码金码试机号 | 牛彩网3d预测汇总大全手机版下载 | 3d今晚预测直选一注3d一注预测 | 今天3d开机号 试机号是多少 | 于海滨专家3d预测 | 今天的3d开机号和试机号查询 | 3d专家预测最准最新 | 3d和值尾振幅走势图近50期 | 老炮子3d直选三注 | 3d定胆| 3d李明启预测号 | 3d专家推荐最新预测 | 3d最新准专家预测 | 今天3d开机号试机号对应码列表 | 3d十大专家双胆预测汇总 | 3d詹天佑3d预测分析 | 3d马前屁解太湖字谜 | 3d试机号今天晚上是多少 | 3d双胆独胆推荐 | 3d专家预测最准确最新新闻 | 3d最精准专家预测汇总今天 | 3d今晚最准最新专家推荐号 | 3d十大专家杀跨度汇总 | 3d北斗专家北斗预测今天079期3d | 3d专家最新最准预测 | 今日3d专家预测总汇 | 3d今晚出啥号 | 最准杀码王p3 | 3d带连线走势图(专业版) | 3d百十和值尾振幅走势图 | 3d单个冷号最大遗漏 | 3d预测最新最准3d之家 | 三地百位振幅3d之家走势图 | 3d预测一注号推荐今晚 | 三d预测牛彩网汇总 | 3d专家预测最准确今天 | 今晚3d试机号千禧试机号金码关注 | 3d今天开机号和试机号查询100期 | 3d今天专家预测最准确 | p3故事小王双胆下一今天 | 3d专家预测最准确最新新闻 | 3d近30期开机号试机号牛彩网 | 推荐一注3d号码 | 3d专家最新最准专家预测汇总 | 毒胆牛人三天计划 | 今晚试机号多少3d | 十拿九稳预测最准100% | 3d专家推荐最精准的号码 | 3d和值尾振幅走势图彩宝贝 | 钱王点评+钱王老头预测 | 3d今天开机号和试机号码200 | 今日太湖字谜3d总汇 | 3d开机号试机号关注号金码对应码 | 3d今晚上预测号码 | 3d今日太湖字谜图 | 马后炮解3d太湖字谜总汇大全 | 3d今晚预测开奖号码 | 3d预测推荐汇总牛彩网采摘收集 | 今晚3d开机号试机号金码关注码 | 3d今晚专家预测推荐号 | 今于海滨3d预测今天牛彩网 | 太湖试机号后一句定三码3d字谜 | 牛彩网3d走势图表 | 3d试机号今天晚上金码92期 | 3d于海滨上的今天预测 | 毒胆牛人三天计划必出 | 3d专家预测最准确今天上一期 | 3d最精准的专家预测 | 3d316期太湖字谜 | 彩界女王双胆独胆 | 詹天佑今天3d推荐 | 今天3d杀码 | 中国福彩3D独胆专家精准预测 | 3d开机号和试机号金码关注 | 今天3d的开机号和试机号是多少号 | 3d詹天佑3d预测 | 3d胆王双胆独胆 | 于海滨3d预测免费 | 3d今天开机号和试机号码 | 3d预测专家最准确的专家预测 | 3d詹天佑3d预测 | 3d十大专家推荐号码汇总 | 于海滨点评专家一语定胆保真版 | 3d专家今日推荐号码 | 3d专家最新最准预测 | 3d下期预测最精准的一注号码 | 3d今天晚上的开奖号码 | 3d预测最准确专家预测 | 3d今天专家推荐号码 | 3d预测专家推荐最准确 | 于海滨3d免费预测最新的 | 3d今天断组预测 | 3d和值尾振幅走势图3d走势3d之家 | 小薇3d预测今天推荐 | 今天3d定位字谜二 | 3d专家预测最准确最新新闻 | 3d专家预测推荐最新 | 千禧3d试机号金码关注码对应码今晚 | 3D独胆独家推荐最新 | 3d今天预测最准确专家 | 3d万能三码共有几注 | 3d今天专家推荐号码推荐 | 3d之家预测专家预测 | 今晚上3d出奖结果 | 3d预测杀码| 3d今天专家预测推荐号码 | 3d北斗专家北斗预测今天079期3d | 钱王今天3d预测号 | 3d今晚预测准确的专家预测 | 3d字谜汇总大全总汇大全 | 3d今晚专家预测重点号码 | 中国福彩3D独胆最新推荐最新 | 于海滨海3d最新预测 | 3d最近1000期走势图表综合版图片 | 千禧关注码试机号金码 | 马后炮解今日太湖字谜三字诀 | 3d下期预测最精准的一注号码 | 3d太湖钓叟字谜三字诀了3d开奖 | 于海滨3d预测免费每日精选 | 3d专家预测最准确| 周星星3d预测手机牛彩网 | 3d专家免费预测 | 3d专家预测最准确最新今天 | 3d今天专家预测最新最准 | 3d推荐号今日预测 | 3d最新预测专家推荐 | 3d太湖字谜总汇大全 每天更新 | 三七进二得三码猜一生肖 | 3d各类和值最新谜字谜今天 | 3d定百位一个号多少钱 | 3d和值尾振幅走势图50期 | 3d今晚专家预测推荐 | 唐龙点评3d预测 | 3d买一个独胆中了得多少钱 | 于海滨专家3d今天预测 | 3d和值尾振幅走势图彩宝贝 | 3d近100期开奖结果全部 | 3d基本走势图. | 3d专家预测号码手机牛彩网 | 3d专家预测汇总牛彩网收集汇总 | 3d今天推荐号码是多少 | 今晚3d一注50倍 | 排三平均值振幅走势图3d之家 | 3d开机号和试机号今天全部 | 于海滨3d预测号 | 中国福彩3D独胆最新推荐 | 3d千禧开机号试机号关注金码对应码 | 福彩3D独胆当天分析最新 | 今晚3d出的什么号 | 3d之家独胆,双胆 | 3d于海滨预测预测牛彩网 | 3d预测最准确专家预测 | 今晚3d的开奖号码结果 | 今天晚上3d推荐号码 | 3d往年历史今天开奖结果 | 【开心毒胆】今天 | 3d今晚必中一注 | 3d开机号近30期列表彩宝网 | 今天3d开机号试机号牛彩列表 | 小红人的计划三天计划 | 3d预测专家推荐最准确 | 3d千禧开机号试机号关注金码对应码 | 陈华3d今晚赌独一胆天齐网 | 最准杀码王p3 | 今晚3d一注50倍 | 今天3d试机号开机号牛彩网 | 3d今天试机号和开机号 | 3d独胆双胆独胆3d之村 | 3d直选一注50倍单挑 | 今日3d太湖字谜三字诀排三开奖结果 | 3d近500期试机号和开奖号码 | 今晚3d预测推荐一注 | 3d解太湖字谜汇总 | 3d独胆王精准100% | 福彩3D独胆明日分析 | 3d最新准专家预测 | 3d十大专家精准预测汇总 | 浙江风采3d走势图表 | 3d独胆三天必出计划论坛 | 3D独胆大神杀号最新 | 3d独胆专家预测 | 3d今天专家推荐号码推荐 | 今晚3d试机号码和开机号 | 3d独胆专家推荐独胆 | 3d今晚预测最准确一注 | 今日太湖字谜3d总汇 | 3d试机号后专家预测 | 今日3d预测 | 于海滨今日3d预测 | 3d断组预测 | 詹天佑3d| 马到成功杀两码最新版本更新内容 | 3d之家双胆独胆预测 | 3d专家预测最准确今天上一期 | 3d买一个独胆中了得多少钱 | 北斗3d今日专家预测推荐 | 今天三d专家推荐号码 | 3d直选走势图(专业版) | 3d今天开机号和试机号码牛彩网 | 3d预测专家最准确的专家预测今晚 | 3d中奖情况 | 三码合一是什么意思? | 3d开机号和试机号金码和关注码 | 3d北斗专家北斗预测今天079期3d | 3d今天专家推荐号码推荐 | 3d字太湖字谜 | 3d专家预测最准确今天 | 一定牛3d杀码 | 3d今天的推荐号 | 福利3d开奖号码 | 太湖字谜马后炮3d总汇 | 詹天佑今天3d推荐 | 于海滨3d免费预测最新的 | 苦命人3d推荐一注 | 3d今天开机号和试机号 | 于海滨今日杀码图最新 | 龙头凤尾今日预测 | 3d预测最准确专家预测牛彩网 | 稳准狠三天计划 | 3d必中永久直选500注大底 | 3d预测推荐汇总大全 | 千禧三地试机号对应码金码 | 3d专家预测号码手机牛彩网 | 3d专家最准确预测 | 铁人铁胆包星定位今天最新结果 | 今晚3d预测最准一注 | 3d直选历史遗漏查询 | 3d今天开机号试机号是几 | 福彩3D独胆老师必中最新 | 3d今晚专家推荐号 | 3d独胆必下一 | 铁人真胆一句定三码3d字谜彩搜网 | 3d独胆必下一个胆 | 3d专家预测最准确最新汇总对应码 | 3d今晚最准专家预测号码 | 3d开奖号历史上的今天 | 中国福彩3D独胆今日走势最新 | 3D独胆团队命中率最新 | 3d预测最准专家预测号码 | 3d专家最新最准专家预测 | 今天三字诀太湖字谜 | 3d通杀一码准确率100% | 今日3d开机号和试机号列表三十期 | 3d专家预测最准确今天上一期 | 千禧今晚3d试机号关注码金码 | 3d今晚最准最新专家推荐号 | 铁人铁胆定位包是预测 | 最准3d预测专家推荐号 | 毒胆牛人三天计划必出 | 福彩3D独胆下期杀号最新 | 3d专家于海滨 | 3d今晚最准专家预测号码 | 今日3d钱王点评 | 3d玩胆先生双胆独胆 | 铁人铁胆3d定位包星 | 3d彩界精英独胆双胆 | 于海滨最新预测今天 | 今晚3d开奖号码多少 | 3d今晚专家推荐号 | 3d近15期开奖号码结果 | 3d下期预测最精准的一注号码 | 于海滨3d今晚预测号码 | 3d今晚必中三个号码预测 | 于海滨3d预测免费每日精选 | 3D独胆实时推荐 | 3d个位走势图表 | 3d两胆王双胆必下 | 3D独胆高手精准预测 | 今天3d开机号和试机号金码 | 3d最大值振幅走势图彩经 | 于海滨海3d预测保真 | 3d专家预测最准确今天3d | 3d今天最新最准专家预测最 | 今晚快乐八专家预测推荐号 | 天才计划三天计划独胆 | 3d姜子牙一句定三码最准字谜汇总 | 3d预测推荐汇总牛彩网采摘收集 | 3d专家预测推荐号码最准最新 | 3d今晚预测最新最准确号码牛彩网 | 专家预测3d号码准确 | 张克永专家3d预测 | 今天3d詹天佑预测分析 | 3d藏机图天齐正版藏机图 | 3d农村小伙子最新预测 | 今晚3d预测最准一注 | 今晚最准的一注3d | 今晚3d开奖直选结果 | 今晚3d专家推荐号 | 3d专家预测号码手机牛彩网 | 三d十拿九稳预测号码 | 3d今天开机号试机号是几 | 今日3d马后炮解太湖字谜 | 中国福彩3D独胆本期命中率 | 3d中国独胆王今天 | 张克永最新3d预测 | 3d独胆必下一 | 3d火火独胆双胆 | 3d今天开机号和试机号100期 | 3d最新专家预测推荐 | 小林3d最新预测今天 | 3d今天推荐号码是多少 | 3d长中剑客预测今天 | 试机号后牛彩网专家预测3d | 3d专家推荐最精准的号码 | 詹天佑3d预测今天推荐号码 | 3d预测最精准预测 | 3d预测推荐汇总大全 | 3d专家直选最精准一注 | 千禧试机号及金码 | 3d彩宝网开机号和试机号 | 唐龙一胆今天最新 | 3d和值尾振幅走势图彩宝贝 | 3d专家预测最准最新 | 3d开机号试机号今天最新50期 | 3d正版太湖字谜图谜 | 3d于海滨专家预测 | 3d今日牛彩网 | 3d最精准专家预测汇总今天 | 3d天中杀码图专区 | 3d直选形态走势图彩宝网 | 3d字谜总汇今日3d字谜总汇牛彩网 | 3d今晚专家预测推荐 | 3d开机号和试机号码牛彩网 | 3d今晚预测最准确一注 | 陈华3d今晚就赌一个胆天齐网 | 3d专家今天推荐号码推荐 | 3d今晚预测直选四注 | 3d和值走势图表综合版 | 3d彩宝网开机号和试机号 | 3d今天开机号和试机号322 | 今天3d字谜解太湖字谜 | 小红人的计划三天计划 | 3d今日预测最准专家预测 | 3d詹天佑3d预测 | 3d专家预测汇总牛彩网收集汇总 | 3d太湖钓叟字谜三字诀乐彩论坛 | 3d彩报图今天图库彩吧 | 今日3d正版藏机图,藏机图汇总,天中网 | 3d独胆预测 | 3d十位走势图彩经网 | 于海滨一语定胆保真 | 3d预测最准最新准专家预测号码 | 詹天佑3d预测推荐 | 于海滨3d预测今天 | 牛彩网专家汇总汇总3d | 3d最新专家预测汇总牛部长预测 | 3d千禧开机号试机号关注金码对应码 | 今天太湖字谜3d字谜太湖钓叟 | 三字诀太湖三字诀字谜 | 唐龙点评每日一胆龙 | 3d谜语太湖钓叟3d谜语今天 | 毒胆牛人三天计划必出 | 牛彩网近30期3d开机号试机号 | 今晚3d直选一注 | 3d预测最准确的专家预测软件 | 3d跨度分位走势图图感觉 | 今天的3d太湖字谜 | 3d专家预测号 | 太湖钓叟排三字诀字谜 | 3d姜子牙一句定三码最准字谜汇总 | 于海滨3d免费预测最新的 | 三地千禧开机号试机号金码关注 | 今日3d预测号 | 3d和值谜汇总大全 | 3d专家预测最准确最新今天牛彩 | 3d预测最新最准专家 | 于海滨点评专家一语定胆保真版 | 最准一个毒胆 | 3d预测最准确专家预测 | 3d今晚开奖号结果3b | 排五奖号 | 3d今晚和值字谜 | 今日正版藏机图全部汇总 | 3d最大值振幅走势图遗漏 | 3d精准预测最准的专家直选 | 3d今晚开奖结果走势图 | 3d金码开机号和试机号 | 3d预测专家最准最新 | 3d今天推荐号码是多少 | 孟庆会点评 专家一语定胆 稳准狠三天计划 | 于海滨海3d预测今天 | 北京胆王2彩吧图库 | 3d藏机图正版图汇总 | 北斗3d今日预测 | 3d之家预测专家预测 | 3d今晚专家预测推荐号 | 3d推荐号今晚专家预测最准确 | 3d推荐号今晚专家预测最准确 | 3d预测最准最新准专家预测号码 | 3d预测号最新最准牛彩网 | 机选一注3d | 3d字谜历史记录 | 3d下期预测最精准的一注号码 | 3的杀码图| 于海滨海3d专家预测 | 东北小胆神今晚独胆 | 3d开机号和试机号30期列表 | 3d詹天佑预测分析牛彩网 | 3d双胆独胆推荐 | 今晚3d专家预测精选一注 | 3d彩界元宝就看一个独胆 | 3d预测最准最新准专家预测 | 3d预测总汇手机牛彩网 | 3d预测最准确的专家预测软件 | 马后炮解今日太湖字谜三字诀 | 3d四码直选多少钱一注 | 3d千禧开机号和100期试机号 | 3d预测专家最准最新 | 3d走势图专家推荐号码 | 钱王点评十钱王给胆下一期预测 | 3d北斗专家北斗预测今天079期3d | 3d今晚预测直选四注 | 千禧关注码试机号金码 | 3d预测最准的专家预测 | 3d今晚最准专家预测号码 | 3d专家预测号码最准确 | 3预测,3d专家预测,最准确今天彩网 | 福家老三3d推荐号 | 3d独胆专家推荐独胆 | 3d和值跨度走势图带连线 | 3d预测专家推荐最准确 | 3d最精准的专家预测 | 3d专家预测最准最新 | 三d试机号后专家预测汇总 于海滨专家3d今天预测 | 今晚3d直选推荐 | 3预测,3d专家预测,最准确今天彩网 | 今天3d专家预测汇总 | 3d最准一注(单挑王) | 3d今晚十大专家预测汇总 | 2025长期守号最佳5注推荐 | 3d个位振幅走势图近50期 | 3d之家北斗今日预测 | 太湖字谜钓叟3d字谜 | 3d和值尾振幅走势图50期 | 3d千禧试机号金码关注最近10期 | 3d最精准专家预测汇总今天 | 3d最新预测专家推荐 | 3d北斗专家北斗预测今天079期3d | 三d牛彩网开机号试机号是多少 | 3d牛彩网100期开机号和试机号 | 3d今晚最稳一注 | 3d藏机图正版图汇总 | 3d十大专家杀三码 | 今天3d金码试机号对应码开机号 | 陈华今晚就赌一胆今天最新 | 3d独胆双胆天齐网 | 詹天佑最新预测3d | 3d三天计划独胆王 | 3d推荐号今晚专家预测 | 3d最准确预测专家 | 3d预测一注推荐 | 千禧试机号关注号金码是什么 | 牛彩网专家汇总汇总3d | 3d和值推算公式 | 三d预测专家最新推荐 | 太湖谜3d太湖钓叟字谜 | 周不出最新3d杀码 | 牛彩3d专家预测 | 于海滨3d专家预测今天 | 今天最新3d开机号试机号 | 3d计算机开机号夏天推荐 | 今日3d字谜一句定三码和值谜定1 | 唐龙点评3d预测 | 3d太湖字谜每天更新 | 3d今晚开出什么号码 | 3d预测专家精准推荐号 | 牛彩网3d走势图表 | 骄子铁鹰解3d字谜今日 | 3d图谜字谜总汇 | 3d杀码一定牛 | 太湖谜3d太湖钓叟字谜 | 三地千禧试机号关注金码对应码 | 3d今天开机号和试机号232 | 今日3d十大专家双胆总汇 | 詹天佑3d预测今天推荐号码 | 3d预测最准专家预测牛彩网 | 3d今晚推荐号 | 牛彩网杀码图汇总 | 3d预测号码最准确专家预测 | 3d条件预测专家专区 | 3D独胆实时推荐 | 3d今天开机号和试机号322 | 福彩3D独胆今晚必中最新 | 3d专家预测最准最新今天 | 3d最准预测专家预测汇总 | 3d最新最准预测号码今天 | 今晚3d预测开奖号码推荐 | 今晚3d试机号开机号金码号 | 千禧3d试机号关注号 | 万能四码使用技巧 | 今天3d开机号 试机号是多少 | 老炮子预测今晚三地 | 3d精准定位专家预测 | 于海滨海3d预测牛彩网 | 今晚3d试机号码和开机号 | 福彩3D独胆下期杀号最新 | 太湖字谜三字诀论坛 | 钱王老头点评牛彩网 | 詹天佑今日最新点评 | 3d今天的开机号和试机号查询 | 3d专家预测最准确号码 | 今晚3d直选推荐 | 3d铁人包星定胆天齐网 | 西施姐姐精心推算一独胆146 | 今日3d专家预测号码推荐 | 成功路上3d双胆独胆 | 3d316期太湖字谜 | 铁娘子三天计划独胆必下300 | 今晚3d必出号 | 今晚快乐八专家预测推荐号 | 今晚3d专家预测精选一注 | 太湖钓叟三字诀字谜更新 | 3d最精准专家预测汇总今天 | 今日3d一句定三码最准和值谜 | 今天3d开机号试机号牛彩列表 | 3d今天专家预测号码最准确 | 中国福彩3D独胆最新推荐最新 | 3d今晚必出的一注 | 3d独胆专家推荐独胆 | 3d预测最准专家预测号 | 3d今天开机号和试机号码727 | 小财神三天计划独胆必下 | 3d武当玉女掌门一句定三码字谜 | 福彩3D独胆下一期必中 | 3d十大专家预测汇总 | 十拿九稳的最新预测 | 3d千禧试机号关注金码30期 | 今天3d出的什么号 | 今晚3d推荐号码是多少 | 3d预测詹天佑最新 | 周星星3d预测手机牛彩网 | 3d谜语字谜太湖天齐网 | 3d独胆中中中 | 詹天佑3d预测 | 詹天佑3d预测号 | 3d专家推荐最精准的号码 | 千禧之年3d开机号试机号金码关注 | 中国福彩3D独胆今晚走势最新 | 于海滨专家预测3d两吗 | 今于海滨3d预测今天单线联系 | 3d预测号专家预测 | 十拿九稳预测分析 | 3d开奖号码走势图表 | 3d今晚最准最新专家推荐号 | 3d直选100%中奖绝技 | 3d詹天佑预测分析牛彩网 | 今晚3d专家推荐号码 | 今晚3d开奖号试机号 | 3d试机号后专家预测推荐汇总 | 3d推荐号码今晚预测 | 牛彩网3d预测汇总大全手机版下载 | 陈华今晚就赌一个胆预测 | 3d今天专家推荐号码 | 3d预测专家最准确的专家预测今晚 | 今晚3d开奖号是多少 | 3d专家预测号 | 3d专家预测最准确最新汇总对应码 | 今天3d开机号关注号试机号金码 | 3d邻孤传走势图乐彩 | 3d预测专家最准最新 | 今天p3藏机图正版藏机图 | 3d今天开机号试机号码 | 3d预测最新最准3d之家 | 2002146期3d开奖结果 | 3d今晚试机号是多少查询 | 今日焰舞3d焰舞字谜汇总大全 | 最准的3d专家预测 | 于海滨3d预测牛彩网 | 3d今晚的开奖号码 | 3d精准预测推荐 | 牛彩网3d专家预测汇总 | 3D独胆最新分析 | 今于海滨3d预测今天牛彩网 | 3d开心毒胆独胆王 | 3D独胆下期预测 | 3d十大专家推荐号码汇总 | 3d今日正版藏机图最新更新内容 | 3d预测专家推荐最准确 | 3d预测最准最新准专家预测 | 张克永专家3d预测 | 今日3d预测 | 专家3d专家推荐 | 万能6码走势图 | 千禧3d关注码 | 3d直选一注今天 | 3d试机号后专家预测汇总 | 3d直选走势图(专业版) | 中国福利3d今天模拟试机号 | 今日3d杀码最新 | 三d十拿九稳预测号码 | 3d牛彩网断组预测 | 3d字太湖叟字谜 | 3d预测推荐汇总牛彩网采摘收集 | 3d推荐号今晚专家预测 | 3d晶晶必下一独胆今天 | 3d双胆独胆推荐 | 3d太湖字谜总汇总(正版) | 3d最准专家预测号今晚3d试机号 | 3d专家预测最准今天 | 三d走势图基本走势图彩宝网 | 北斗3d今日预测 | 3d专家预测最准确最新新闻 | 今晚3d专家预测精选一注 | 3d藏机图完整版今天 | 3d今晚开机号试机号金码关注码今天 | 十拿九稳的最新预测 | 唐龙3d预测今日出号点评 | 3d预测最准专家预测牛彩网 | 今于海滨3d杀码图24210 | 3d双胆下一| 3d詹天佑预测分析牛彩网 | 3d今天预测最准确专家 | 3d专家预测推荐号码 | 3d个位振幅走势图近50期 | 3d今天专家预测最准确 | 今晚3d出的什么号 | 3d今天专家推荐号码推荐 | 3d开机号和试机号今天金码关注号 | 钱王今天3d预测号 | 福彩3D独胆下一期推荐最新 | 3d最准确预测专家 | 布衣3d独胆双胆王 | 3d直选一注预测 | 3d今天开机号试机号是几 | 3D独胆下期最新预测 | 今晚预测3d号 | 今晚3d推荐号码 | 今晚3d专家推荐号码是多少 | 今晚3d专家推荐号码是多少 | 3d今晚专家预测最准确一注 | 今天最新3d开机号试机号关注码 | 3d今晚专家推荐预测重点号码 | 3d买一个独胆中了得多少钱 | 3d藏机图正版藏图汇总大全 | 独胆计划王 | 3d近100期开机号码 | 3D独胆明日推荐最新 | 3d预测最准确专家 | 3d今天专家推荐号码推荐 | 铁娘子三天计划独胆必下300 | 3d试机号后专家推荐汇总 | 财神爷独胆三天计划,就这么牛 | 3d今天精选五注 | 3d今晚预测最新最准确 | 3d今晚专家预测最准确一注 | 3d预测号码最准确专家预测 | 独胆王三天计划 | 3d跨度五行走势图3d之家 | 钱王点评+钱王老头预测 | 福彩3D独胆老师杀号最新 | 毒胆牛人三天计划必出 | 3d阴阳走势图表图 | 3d今日专家推荐号 | 牛人高手【3d精选】 | 3d于海滨预测预测牛彩网 | 开机号试机号3d今天 | 3d毒毒毒胆胆胆中中中 | 今天3d号码推荐 | 3d选5个号多少钱 | 3b预测汇总牛彩网 | 3d杀码图汇总牛彩网 | 3d专家预测最准确最新汇总 | 3d字谜太湖解字谜 | 3d专家预测推荐号最新 | 3d专家最新最准专家预测 | 唐龙3d预测号| 3d专家最新最准专家预测汇总 | 3d今天专家推荐号码 | 3D独胆大神命中率最新 | 3d预测专家最准确 | 今日3d十大专家双胆总汇 | 3d和值基本走势图表 | 3d字谜太湖钓叟三字诀今天 | 3d预测最准最新准专家预测 | 3d直选至今未出号 | 3d结果开奖号码今晚 | 专家预测3d预测 | 3d今晚预测开奖号码 | 3d专家预测最准确最新今天牛彩 | 3d千禧开机号试机号关注金码 | 3d独胆王定位独胆定位 | 于海滨3d预测牛彩网 | 3d今晚最准最新专家推荐号 | 太湖三字诀字谜三 | 3d牛彩网断组预测 | 3d专家预测推荐最新 | 3d最准的预测专家 | 今天买哪三个号码好 | 3d开机号和试机号是多少 | 3d手机预测牛彩网 | 3d最准确最新专家预测 | 3d詹天佑最新预测今天 | 3d下期预测最精准的一注号码 | 3d带线走势图连线走势图 | 3d今天的试机号开机号是多少 | 3d杀码大全 天齐网 于海滨3d最新预测 千禧3d试机号金码关注码对应码今晚 | 3d今天中了多少注直选 | 今天3d千禧试机号关注号金码号 | 3d今晚最准专家推荐号 | 今天专家推荐号码3d | 3d千禧试机号金码关注码 | 今晚3d开奖号试机号 | 今日3d直选一注 | 晚秋3d今晚和值谜 | 3d预测号码最准最新准专家预测号 | 牛彩网3d专家预测汇总 | 3d预测专家推荐最新 | 3d专家预测号码手机牛彩网 | 3d今日开机号和试机号及关注码 | 3d牛彩网断组预测 | 专家推荐一注6+1 | 3d近30期开奖号码 | 3d专家预测最准确最新今晚预测 | 3d牛彩网字谜图谜汇总九 | 今晚3d开奖号多少 | 3d最精准的专家预测 | 祖师爷独胆三天计划 | 3d走势图带连线图表牛彩网 | 3d试机号开机号今天查询排五 | 3d预测一注号推荐今晚 | 3d预测推荐汇总牛彩网采摘收集 | 中国福彩3D独胆下期推荐推荐最新 | 三d十拿九稳预测号码 | 千禧p3试机号关注号金胆对应号 | 3d多少钱一注 | 3d十位单选振幅走势图 | 3d今晚专家预测最准确号码 | 3d开奖号码走势图表 | 詹天佑今日3d预测 | 3d试机号近10期(模拟) | 3d预测专家准确推荐 | 3d今晚专家推荐 | 3d今晚100倍 万能三码的使用方法 | 于海滨海3d专家预测 | 今日3d专家预测号码推荐 | 詹天佑预测3d | 3d专家预测最准确最新今天牛彩 | 3d詹天佑最新预测今天 | 3d必出规律胆 | 3d推荐牛彩网 | 3d最准专家预测 | 于海滨3d预测号 | 3d直选三注 | 3d今天开机号试机号200期 | 3d专家预测最准确最新今天牛彩 | 3d和值和尾走势图带连线图表 | 中国福彩3D独胆独家预测 | 牛彩网3d预测汇总大全 | 于海滨专家预测3d | 詹天佑3d最新消息今天 | 3d形态预测静态版 | 3d专家预测最准 | 3d十大专家杀跨度汇总 | 3d静态版预测静态版 | 3d 今天 试机号开机号3 | 3d预测专家推荐最准确 | 3d最准确的专家预测 | 3d彩吧图库44462 | 3d今天专家推荐号码推荐 | 3d试机号开机号今天金码关注 | 福彩3D独胆大神精准预测最新 | 3d最精准的专家预测精选 | 3d最准专家预测号今晚3d试机号 | 3d今天开机号和试机号232 | 3d两胆王 | 3d推荐号今晚专家预测 | 3d专家预测推荐汇总 | 3d正版藏机图谜汇总 | 3d预测最新最准专家 | 3d今天开机号和试机号322 | 3d预测推荐 | 今天3d开机号 试机号是多少 | 3d晚秋和值谜彩吧图库 | 3d专家预测最准确最新今天牛彩 | 福彩3D独胆下期最新推荐 | 了3d开奖结果 今天晚上 | 马到成功杀两码最新版本更新内容 | 3d预测今晚最准专家预测号码 | 于海滨今日杀码图最新 | 3d开机号试机号近100期开奖号码 | 3d组选中一注多少钱 | 3d百十和尾振幅走势图走势 | 3d今天专家预测最准确 | 牛彩网3d专家预测汇总 | 免费计划软件 | 太湖谜3d太湖钓叟字谜 | 3d今天专家预测最准确 | 3d推荐最新最准专家预测 | 3d 试 机 号今晚 | 3d独胆双胆专家预测网 | 太湖解3d字谜汇总 | 3d今日开机号和试机号及关注码 | 3d百位四胆 | 3d今晚100倍 万能三码的使用方法 | 3d必中永久直选500注大底 | 3d精准预测最准的专家 | 3d百个位和值尾走势图 | 今日精准预测推荐3d号码 | 3d试机号开机号号码今天 | 詹天佑3d今日预测 | 3d字图谜总汇 | 于海滨海3d专家杀码 | 3d十大专家精准预测汇总 | 3d计算机开机号夏天推荐 | 3d字谜图谜总汇全图汇总 | 3d杀码图汇总牛彩网 | 于海滨海3d预测免费每日精选3d开奖号 | 3d晚间字谜总汇大全 | 3D独胆明日分析 | 3d詹天佑最新预测 | 今天3d藏机图正版藏机图藏机图太湖横屏 | 3d十大专家预测汇总 | 3d盐都三胆家彩网 | 3d专家预测最准 | 2025长期守号最佳5注推荐 | 小林3d最新预测今天 | 今日钱王给胆点评 | 3d今晚中奖号157 | 3d基本走势图表新浪网 | 今天最准3d预测号 | 3d今晚一注 | 三d今日太湖字谜解 | 三d字谜总汇大全 | 经典小胆王三天计划配组合 | 三d预测专家最新推荐 | 3d于海滨上的今天预测 | 3d字谜总汇今日3d字谜总汇牛彩网 | 铁人铁胆3d定位包星预测 | 3d专家预测最准确最新今天 | 今晚最准一注3d | 3d最准的预测专家 | 最准3d专家预测推荐 | 3d试机号后专家推荐汇总 | 3d晚间字谜总汇大全 | 今晚3d试机号开机号 | 于海滨3d杀码图 | 3d今天专家预测最准 | 3d最准确预测100%一注 | 铁人铁胆包星定位今天最新结果 | 今天3d于海滨预测 | 福彩3D独胆下一期命中率最新 | 今日3d开奖号太湖字谜总汇 | 3d的预测号是多少 | 玩胆先生今晚双胆 | 3d推荐最新最准专家预测 | 千禧3d试机号关注号 | 3d专家最新最准专家预测 | 今晚3d试机号开机号金码号 | 3d预测一注号推荐今晚 | 3d今天专家推荐号码是多少 | 自创3d绝杀四码方法细节 | 最准3d专家预测推荐 | 3d藏机图正版藏机图太湖字谜 | 3d预测专家精准推荐 | 3d今晚出的什么号 | 3D独胆下一期精准预测 | 3d专家预测推荐号码最准最新 | 3d百位个位和值走势图 | 3d预测最准确的专家 | 今晚3d预测总汇 | 天齐藏机图汇总正版藏机图 | 3d预测最准确的专家预测软件 | 今天太湖钓叟3d字谜三字诀 | 3d直选形态走势图彩宝网 | 3d今天专家预测最准确 | 3d预测专家最准最新 | 今晚3d独胆王 | 3d试机号后专家预测推荐汇总 | 3d预测最准确的专家 | 3d和值牛彩网 | 今天3d太湖字谜三字诀 | 3d最大值振幅走势图遗漏 | 3D独胆大神命中率最新 | 3d开机号试机号近100期开奖号码 | 詹天佑3d预测号 | 万能四码图表 | 3d今晚最准最新专家推荐号 | 三d走势图基本走势图彩宝网 | 太湖马后炮3d钓叟字谜 | 3d开机号和试机号金码关注对应码 | 3d杀码图谜| 3d和值尾振幅走势图近100期 | 3d今日热销号 | 3d预测最准确的专家 | 3d海滨点评一语定胆今天最新推荐 | 今天3d太湖钓叟字谜三字诀 | 3d今晚预测最准确一注今天 | 3d精选号码推荐今天最新 | 于海滨海3d预测今天 | 3d推荐专家汇总 | 三地千禧开机号试机号金码关注 | 今天3d专家预测汇总 | 于海滨专家预测 | 3d神仙姐姐独胆一个 | 钱王点评十钱王给胆下一期预测 | 3d今天最新最准专家预测最 | 3d开机号今天试机号30期 | 3d近30期开奖结果 | 沈宝桢个人简历 | 今日3d藏机图正版藏机图310 | 3d最新专家预测汇总大全 | 中国福彩3D独胆下期推荐杀号最新 | 福彩3D独胆最新预测 | 3d最大值走势图彩经网 | 3d今天开机号和试机号开奖结果 | 3d预测最准专家 | 3d太湖字谜官网 | 3d跨度振幅走势图3d专家 | 3d专家最新最准专家预测汇总 | 3d今天专家推荐号码推荐 | 3d预测最准确的专家 | 太湖试机号后一句定三码3d字谜 | 3d开机号和试机号近100期列表 | 3d北斗专家北斗预测今天079期3d | 3d于海滨上的今天预测 | 千禧3d试机号金码今天关注码对应码 | 于海滨最新预测今天 | 3d今天绕胆图彩之网 | 3d天中杀码图专区 | 3d直选走势图(专业版) | 3d个位振幅走势图近50期 | 千禧3d试机号关注码金码今天的 | 3d专家预测最准确今天 | 3d今晚惊天一注预测 | 3d精准定位专家预测 | 福家老三3d推荐号 | 3d圣手字谜图谜 | 今日3d预测号码推荐 | 3d二天独胆王 | 3d双胆独胆推荐 | 3d预测专家最准确今天 | 今晚3d专家推荐 | 3d杀码十大专家 | 今晚3d专家推荐 | 于海滨海3d专家预测 | 至尊计划王三天计划独胆 | 3d走势图和值振幅 | 3d最大值振幅走势图遗漏 | 3d今天最新最准专家预测最 | 《金银胆神》金胆银胆3d最新一期开奖 | 3d开奖号今天结果 今晚 | 3d今天专家预测最准确 | 福彩3D独胆本期推荐 | 3d胆王双胆独胆 | 3d十大专家杀跨度汇总 | 今日3d专家推荐号码 | 3d开机号和试机号金码关注 | 今天3d开机号试机号牛彩网 | 3d走势图专家推荐号码 | 福彩3D独胆老师必中最新 | 3d谜语今天字谜今天的3d字谜是什么? | 3d独胆双胆 | 3d最准确最新专家预测 | 于海滨今天预测 | 于海滨3d预测牛彩网 | 3预测,3d专家预测,最准确今天彩网 | 3d带线走势图牛彩网 | 3d预测专家推荐号码推荐 | 3d最准一注号码 | 3d今日太湖字谜 | 真实的谎言3d字谜追加和值谜 | 3d最新专家预测汇总大全 | 3d今晚预测直选四注 | 中国福彩3D独胆当天精准预测最新 | 今天专家推荐号码3d | 3d今晚专家预测最准确一注 | 3d独胆双胆 | 3d的预测号是多少 | 今晚3d专家推荐号码是多少 | 今晚3d直选推荐 | 3d推荐号今晚专家预测 | 今天3d太湖钓叟字谜三字诀 | 3d中奖情况 | 3d今天最新最准专家预测最 | 张克永专家3d预测 | 十拿九稳预测分析 | 3d双胆大师 | 今天最新3d开机号试机号关注码 | 3d开机号和试机号今天 今晚 | 3d专家最新最准专家预测汇总 | 白骨精3d独胆图今天 | 3d今晚最精准专家 | 3d精准定位专家预测 | 于海滨海3d预测保真 | 3d千禧试机号金码关注码 | 沈宝桢个人简历 | 今晚3d独胆王 | 3d平均值走势图振幅3d之家 | 今于海滨3d杀码 | 3d双胆预测 | 精准3d独胆 | 3d试机号开机号今天最新 | 今天的3d开机号试机号 | 《天才计划》三天计划独胆3d | 3d今天开机号和试机号开奖结果 | 3d试机号后专家预测 | 北斗3d今日专家预测推荐 | 三d走势图基本走势图彩宝网 | 3d十个位差值振幅走势图3d之家 | 小林3d预测 | 3d专家解太湖字谜汇总 | 3d走势图基本走势图表 | 千禧3d试机号关注码金码列表 | 今晚3d专家预测精选一注 | 于海滨今日杀码图最新 | 3d最准的预测专家 | 3d专家预测最新 | 3d钱王老头给胆点评 | 3d彩界精英独胆双胆 | 3d开奖号历史上的今天 | 詹天佑最新预测3d | 3d最准一个独胆方法 | 3d预测 下一期 3d预测专家 3d预测 | 3d专家预测最新推荐 | 近30期3d开机号 | 今天的3d太湖字谜 | 排五预测专家预测 | 今晚3d预测总汇 | 3d北斗专家北斗预测今天079期3d | 于海滨3d彩吧图库 | 3d百十差振幅走势图 | 3d今晚专家推荐号 | 唐龙每日一胆天齐网 | 福彩3D独胆明日分析最新 | 今日3d直选一注 | 小红人的三天计划今天是什么 | 3d今晚最准专家预测号码145 | 3d预测今晚最准专家预测号码 | 牛彩网3d预测汇总大全手机版下载 | 全民胆王3d独胆一个 | 今日3d预测号码推荐 | 中国福彩3D独胆独家预测 | 财神爷三天计划必下更新 | 3d太湖一语定胆字谜论坛 | 3d谜语今天字谜今天的3d字谜是什么? | 3d盐都三胆家彩网 | 牛彩网3d预测汇总 | 3d独胆王正版 | 今于海滨3d杀码图 | 詹天佑3d今晚预测号码 | 3d今晚专家预测推荐号 | 3d最新专家预测推荐 | 3d双胆独胆推荐 | 今天的太湖3d字谜 | 马后炮解今日太湖字谜三字诀 | 3预测,3d专家预测,最准确今天彩网 | 铁人铁胆包星定位今天最新结果 | 最准3d预测专家推荐号 | 3d今天开机号和试机号232 | 唐龙一胆 | 3d于海滨预测预测牛彩网 | 3d今晚开奖结果号码是 | 陈华3d独胆推荐 | 3d牛彩网专家预测汇总 | 3d试机号3d之家金码 | 三天计划3d独胆必出论坛 | 太湖字谜三字诀论坛 | 3d近100期试机号和开奖号是多少 | 太湖钓叟三字诀字谜解释总汇 | 3d最准专家预测号今晚3d试机号 | 3d试后太湖一语定胆字谜 | 3d玩彩老头预测今天号码 | 3d跨度公式98准确率 | 3d今晚开奖号码多少 | 3预测,3d专家预测,最准确今天彩网 | 3d专家詹詹天佑最新推荐 | 3d杀码一定牛 | 铁人铁胆包星定位今天最新结果 | 中奖开奖结果3d | 于海滨专家3d预测 | 三地千禧关注码试机号 | 3d今晚专家预测推荐号 | 3d推荐号今晚专家预测 | 太湖三字谜太湖3d钓叟 | 今晚3d专家预测最准确 | 张克永3d预测今天 | 今日3d太湖字谜三字诀洞庭游侠 | 3d预测号码最准确专家预测 | 3d五码复式| 近10期3d开奖结果 | 今晚3d专家推荐号码 | 中国福彩3D独胆最新推荐最新 | 3d藏机图天齐正版藏机图 | 3d玩彩老头预测今天号码 | 3d独胆双胆独胆3d之村 | 小财神三天计划独胆必下 | 福彩3D独胆高手预测 | 3d预测最准专家预测号 | 3d牛彩网专家预测 | 3d最晚间字谜汇总大全 | 3d今天专家推荐号码推荐 | 3d预测最准最新牛彩网 | 3d走势图基本走势图 | 詹天佑最新预测 | 于海滨专家3d今天预测 | 齐彩网3d专家预测 | 3d预测最准的专家预测 | 唐龙3d预测今日出号点评 | 3d今晚最准专家预测号码145 | 3d推荐最新最准专家预测 | 昨天3d开奖号是多少 | 今日3d预测号码推荐 | 3d北斗专家北斗预测今天079期3d | 3d精准预测推荐 | 3d预测专家推荐号码 | 3d金胆王| 3d和值尾金木水火土走势图 | 3d藏机诗藏机图天中图库 | 专家3d预测汇总 | 金银胆神金胆银胆的最新消息 | 于海滨3d预测今天 | 3d预测最准最新准专家预测号码 | 3d预测专家最准确的专家预测 | 3d今晚精选一注 | 3d专家预测推荐最新 | 3d预测 下一期 3d预测专家 3d预测 | 3d千禧开机号试机号关注金码对应码 | 3d预测专家推荐最新 | 3d开机号和试机号近100期列表 | 3d今晚预测3d更准 | 3d今天预测最准确专家 | 3d独胆专家预测 | 最新3d预测专家预测 | 3d最精准专家预测汇总今天 | 3d今晚推荐号 | 最准3d预测专家推荐号 | 3d今晚的独胆 | 今日3d专家预测号码推荐 | 3d试机号后专家预测推荐汇总 | 3d预测专家最准最新 | 3d推荐最新最准专家预测 | 3d最新专家预测推荐 | 今晚快乐八专家预测推荐号 | 3d专家预测最准确最新今天牛彩 | 3d今天最新最准专家预测最 | 3d近100期的开奖号码和试机号 | 3d太湖字谜字谜汇总 | 3d预测号码最准最新准专家预测号 | 最准3d预测专家推荐号 | 3d今晚最准专家推荐号 | 3d开机号与试机号金码 | 中国福彩3D独胆最新必中 | 3d试机号开机号今天晚上金码号 | 今日3d预测号 | 3d定胆技巧准确率100% | 于海滨杀码图 | 今天买哪三个号码好 | 3d今晚专家推荐预测重点号码 | 福彩3D独胆老师必中 | 马后炮解今日太湖字谜三字诀 | 3d今晚上预测号码 | 3d今天专家预测号码 | 今天3d专家推荐重点号 | 3d百十差振幅走势图 | 今日3d专家预测号最准确 | 马后炮解3d太湖字谜总汇大全 | 3d单式怎么才算中奖 | 今日3d钱王点评 | 三d胆| 3d综合走势图直选 | 今晚3d推荐号 | 3d今天预测最准确专家 | 于海滨点评专家一注定胆保真版162期 | 3D独胆今晚命中率最新 | 今天3d推荐号码今晚预测 | 今天3d试机号开机号是什么 | 3d百个位和值尾走势图 | 太湖3d字谜太湖钓叟三字诀 | 3d今晚专家预测推荐 | 3d今晚预测最准确一注 | 3d小胆神独胆今天 | 3d今晚字谜太湖字谜是什么 | 3d精准预测最准的专家直选 | 3d今晚和值推荐 | 3d今晚专家预测推荐号 | 自创3d绝杀四码方法细节 | 3b千喜今天试机号关注金码 | 3d和值尾振幅走势图专业版 | 浙江风采3d走势图表 | 3d今晚最稳一注 | 于海滨海3d专家预测 | 3d今晚十大专家预测汇总 | 最准3d专家预测推荐 | 3d今天开机号和试机号码 | 3d预测最准最新准专家预测号码 | 3d字谜总汇今日3d字谜总汇牛彩网 | 3d条件预测专家专区 | 3d于海滨上的今天预测保真 | 3d预测最准确专家 | 3d白娘子跨度字谜汇总今天牛彩网 | 历史3d开奖结果 | 今天三d专家推荐号码 | 今天3d马后炮解太湖字谜汇总 | 3d今晚最稳 | 3d预测今晚最准专家预测号码 | 3d必中永久直选500注大底 | 3d牛彩网.| 今天3d开机号和试机号 | 3d预测专家推荐最准确 | 白骨精3d独胆图今天 | 小薇3d预测今天推荐 | 3d专家预测独胆最准确 | 陈华今晚就赌一个胆今天最新更新内容 | 3d专家预测最准最新今天 | 3d字谜财神一语定一注 | 3d预测最准的专家预测 | 3d三胆| 3d专家预测最准确最新汇总对应码 | 3d今天专家推荐 | 3d专家预测最准确今天 | 专家3d专家推荐 | 3d单双走势图表 | 3d计算公式精准100%计算 | 于海滨海3d预测牛彩网 | 3d今天开机号 试机号查询 | 3D独胆下期推荐分析最新 | 3d杀码于海滨 | 今晚3d直选推荐 | 3d今天专家预测推荐号码 | 3d预测最准确专家预测 | 3d藏机图完整版今天 | 3d牛彩网断组预测 | 3d结果开奖号码今晚 | 3d专家最新最准专家预测汇总 | 千禧3d开机号试机号金码 | 3d专家最新最准今天预测 | 3d字图谜总汇 | 3d最准预测专家汇总大全 | 3d基本走势图全部 | 3d专家预测最准最新 | 十拿九稳今天预测专家 | 今晚3d试机号码和开机号 | 3d正版藏机图天齐网汇总 | 3d最准确预测专家 | 3d预测今晚最准专家预测号码 | 3d十大专家预测汇总 | 于海滨3d杀码 | 3d跨度走势图图表 | 3d于海滨上的今天预测保真 | 3D独胆大神命中率最新 | 今天的太湖3d字谜 | 千禧3d试机号关注码金码列表 | 3d和值专家推荐和值 | 今天3d牛彩网专家预测 | 于海滨3d最新预测 | 中国杀码王绝杀 | 3d今晚上预测号码 | 小林3d最新预测今天 | 今日3d专家预测号最准确 | 今晚3d专家推荐号码是多少 | 今于海滨3d预测今天 | 3d独胆必下一 | 3d基本走势图表新浪网 | 排3藏机图正版藏机图今天 3d八哥图库总汇d字谜图谜总汇大全 | 3d字谜太湖解字谜 | 3d今晚专家预测推荐 | 3d杀码大全 天齐网 于海滨3d最新预测 千禧3d试机号金码关注码对应码今晚 | 中国福彩3D独胆最新推荐 | 于海滨预测3d号 | 中国福彩3D独胆当天精准预测 | 今日3d太湖字谜三字诀排三开奖结果 | 3d今晚预测最新最准确号码牛彩网 | 3d詹天佑预测汇总 | 今日3d专家预测号码推荐 | 3d走势图带连线图表 | 3d预测最准最新牛彩网 | 3d基本走势图 综合 太湖三字诀字谜三 | 于海滨海3d预测免费每日精选3d开奖号 | 3d专家今天预测一注 | 3d太湖字谜一语定胆 | 3d藏机图正版藏机图太湖字谜 | 3d开机号今天近100期南方查询 | 今天3d开奖号是多少 | 3d今晚最准最新专家推荐号 | 福彩3D独胆团队必中最新 | 千禧3d试机号关注号 | 3d独胆双胆预测 | 千禧关注码试机号金码 | 今日3d预测专家推荐 | 3d今天开机号和试机号开奖结果 | 陈华今晚就赌一胆今天最新 | 3d万能大底共250注直选 | 于海滨杀码图天齐网 | 3d专家预测最准确最新今天牛彩 | 3d最新最准专家预测号码 | 今晚3d专家推荐号码是多少 | 于海滨海3d预测保真 | 3d专家预测推荐号码最准最新 | 3d和值尾振幅走势图彩宝贝 | 3d太湖字谜三字诀 | 今晚开奖号码3d开奖结果 | 3d开机号和试机号近100期列表 | 3d专家预测最准确最新新闻 | 铁人铁胆3d定位包星预测 | 3d顶级胆神双胆 | 3d今日专家推荐号 | 3d今晚上专家推荐号 | 千禧之年3d开机号试机号金码关注 | 3d今晚预测直选四注 | 3d万能大底共250注直选 | 财神爷三天计划独胆组合 | 3d谜语字谜太湖天齐网 | 3d今天专家预测最准确 | 牛彩网3d走势图表 | 于海滨3d预测今天 | 今日正版3d藏机图全部汇总 | 3d专家预测推荐汇总 | 七爷独胆今晚一个胆 | 玩胆先生今晚双胆 | 今日3d钱王点评 | 3D独胆团队命中率最新 | 3d最新准专家预测 | 千禧3d今天的试机号 | 3d百位个位和值走势图 | 3d专家预测最新 | 3d牛彩网字谜图谜汇总九 | 3d今晚预测准确的专家预测 | 15选5预测最准十专家预测 | 3d最准确最新专家预测 | 3d字谜太湖钓叟三字诀17500 | 3d大富好预测汇总 | 牛彩网3d预测 | 于海滨精准杀码图 | 3d专家最新最准预测 | 福彩3D独胆实时杀号 | 3d预测专家最准确 | 3d和值尾走势图(专业版) | 一代女王p3杀两胆独胆 | 于海滨3d预测今天 | 助赢计划软件免费版下载安装 | 3d詹天佑最新预测今天 | 3d专家预测推荐最新 | 3d试机号开机号近50期 | 3d一语定胆字谜今天 | 3d正版藏机图总汇全图 | 3d最准确预测专家 | 3d预测号最新最准牛彩网 | 3d开奖结果今晚号码 | 3d专家预测最准最新今天 | 北斗3d今日专家预测推荐 | 3d最小值振幅走势图3d之家 | 牛彩网3d专家预测汇总 | 詹天佑今天3d推荐 | 李明启3d最新预测今天 | 3d今天专家推荐号码推荐 | 福彩3D独胆下一期预测最新 | 3d精准预测最准的专家 | 3d双胆独胆非常非常 | 3d最精准的专家预测精选 | 牛彩网杀码大全 | 3d杀码专家杀码最精准 | 3d预测 下一期 3d预测专家 3d预测 | 福彩3D独胆最新推荐最新 | 3d直选至今未出号 | 今日3d字谜太湖钓叟字谜 | 3d今晚最准专家预测号码145 | 福彩3D独胆本期命中率 | 3d预测牛彩网预测汇总 | 3d今晚预测开奖号码 | 3d最精准专家预测汇总今天 | 3d今天最新最准专家预测最 | 最准3d专家预测推荐 | 3d专家今天推荐号码推荐 | 大师诸葛亮今晚一个独胆 | 太湖钓叟三字诀字谜更新 | 3d最准专家预测号 | 3d太湖专家预测今晚 | 福彩3D独胆最新必中最新 | 3d解太湖字谜汇总 | 3d专家预测最准最新 | 3d今日预测最准专家预测 | 3d于海滨上的今天预测 | 于海滨海3d杀码图 | 3d今天专家预测号码 | 3d十个位差值振幅走势图3d之家 | 中国福彩3D独胆内部走势最新 | 3d今晚100倍 万能三码的使用方法 | 3d开机号近30期列表彩宝网 | 马后炮解3d太湖字谜总汇大全 | 3d今晚专家推荐预测重点号码 | 3d今晚精选一注 | 3d今晚的开奖号码 | 牛彩网近30期3d开机号试机号 | 今天3d詹天佑预测分析 | 3d杀码图汇总牛彩网 | 3d今晚最准专家预测号码 | 3d今天专家预测推荐号码 | 牛彩网3d专家预测汇总摘要 | 3d预测 下一期 3d预测专家 3d预测 | 3d今天推荐号码 | 3d预测最准最新准专家预测号码 | 牛彩网杀码大全 | 今天最新3d开机号试机号 | 3d最新预测专家推荐 | 中国福彩3D独胆专家推荐最新 | 中国福彩3D独胆当天走势最新 | 福彩3D独胆本期命中率 | 钱王点评钱王老头预测 | 千禧3d试机号关注码今天 | 3D独胆高手精准预测 | 今日3d太湖字谜每天更新 | 3d独胆专家推荐独胆 | 十拿九稳预测最准100% | 3d专家今天推荐号 | 3d今晚上推荐号码 | 中国福彩3D独胆专家精准预测最新 | 3d今晚最准专家预测号码 | 福彩3D独胆下一期推荐 | 3d推荐最新最准专家预测 | 3d今天专家预测推荐号码 | 3d白娘子跨度字谜汇总今天牛彩网 | 骄子铁鹰解3d字谜今日 | 3D独胆团队精准预测最新 | 3d今天的试机号和开机号 | 于海滨点评专家一语定胆保真版 | 于海滨杀码今天最新版 | 小龙一语定三胆3d今日字谜 | 3d专家推荐预测号 | 3d最准确预测专家 | 3d双胆独胆必下一 | 3d最晚间字谜汇总大全 | 3d专家预测最准最新今天 | 3d独胆专家推荐独胆 | 3d独胆王独胆预测 | 3d今天最准专家预测 | 唐龙每日一胆天齐网 | 今天3d专家推荐号 | 今天的3d推荐号码是多少 | 中国福彩3D独胆下期推荐推荐最新 | 3d开机号和试机号9.30分 | 3d今天专家预测最新最准 | 今天3d专家推荐号 | 中国福彩3D独胆下期推荐杀号最新 | 3d十大专家双胆预测汇总 | 3d预测最准最新准专家预测号码 | 3d直选一注预测 | 3d今日预测最准专家预测 | 于海滨的今日预测 | 三地千禧关注码试机号 | 千禧试机号金码今天的 | 于海滨3d预测今天 | 中国杀码王绝对 | 3d预测牛彩网| 卫星电话最建议买的三个型号 | 龙头凤尾今日预测 | 3d独胆双胆专家预测网 | 3d詹天佑预测分析牛彩网 | 3d太湖字太湖字谜今天 | 3d最新专家预测推荐 | 太湖三字谜太湖3d钓叟 | 于海滨3d最新预测 | 3d詹天佑最新预测今天 | 3d独胆10 10 | 3d预测专家推荐 | 3d十大专家汇总精选一注 | 3d今晚十大专家预测汇总 | 3d太湖钓叟字谜三字诀乐彩论坛 | 于海滨今日3d预测 | 3d专家预测更准确今天 | 千禧3d试机号金码今天关注码对应码 | 3d精准预测最准的专家直选 | 3d预测专家最准最新 | 3d均值振幅走势图表图 | 3d三胆预测| 3d预测最准确的专家 | 3d牛彩网采摘收集预测汇总 | 3d预测图 | 福彩3D独胆下期杀号最新 | 3d中间最小两码差值振幅走势图 | 3d今晚精选预测一注 | 千禧3d试机号关注号 | 3d字谜财神一语定一注 | 3d彩宝网开机号和试机号 | 3d今晚专家预测 | 3d预测最准的专家 | 3d之家双胆独胆预测 | 3d专家推荐| 今晚3d直选推荐 | 3d独胆双胆独胆3d之村 | 3d预测专家推荐最准确 | 3d今晚专家预测最准确号码 | 3d今天推荐号码是多少 | 3d字谜历史记录 | 3d今晚最准专家预测号码 | 解太湖3d字谜太湖 | 3d字谜今日字谜总汇 | 3d专家预测最准确最新汇总对应码 | 3d和尾振幅走势图3d专家 | 3d今天开机号试机号码查询 | 今晚于海滨海3d预测3d | 于海滨3d预测号 | 今晚3d专家预测精选一注 | 3d专家预测于海滨 | 孟庆会点评 专家一语定胆 稳准狠三天计划 | 7号电池最建议买的三个型号 | 今天3d开机号和试机号牛彩网 | 预测3d今晚开奖号 | 3d,预测 | 3d双胆独胆非常稳 | 马后炮解3d字谜 | 3d千禧试机号开机号金码 | 3d北斗专家北斗预测今天079期3d | 3d字谜图谜总汇全图汇总 | 3d试机号今晚牛彩网 | 今于海滨3d杀码 | 3d专家预测最准 | 3d专家预测推荐号码 | 今晚3d预测开奖号码推荐 | 3d预测最准确最新 | 3d今晚预测开奖号码 | 千禧试机号关注金码是什么 | 3d最新专家预测推荐 | 小红人的三天计划今天是什么 | 今天的3d开机号和试机号查询 | 三天计划3d独胆必出论坛 | 3d专家预测最准最新 | 3d千禧试机号开机号金码 | 3d推荐号今晚专家预测最准确 | 詹天佑最新预测3d | 3d十大专家精准预测汇总 | 今日3d专家预测号码推荐 | 《中国杀码王》3d | 3d预测专家最准确 | 3d独胆王精准100% | 3d今晚专家预测推荐号 | 今天的3d推荐号码是多少 | 今日3d太湖字谜三字诀试机号 | 3d今日专家推荐号 | 3d六码复式多少钱一注 | 3d直选走势图(专业版) | 今晚开奖号码3d开奖结果 | 李明启3d预测最新号码 | 3d太湖字谜总汇大全 每天更新 | 今天的3d推荐号码是多少 | 3d紫云涧专家预测推荐 | 3d预测号码最准确专家预测 | 3d专家预测最准确最新新闻 | 于海滨一语定胆 | 3d历史今天开奖结果 | 3d一句定三码最准字谜 | 今晚3d专家预测精选一注 | 于海滨预测号 | 3d预测专家最准最新 | 3D独胆团队精准预测最新 | 今晚3d推荐号码是多少 | 3d晶晶必下一独胆今天 | 3d于海滨预测预测牛彩网 | 3d今晚最准专家预测号码 | 3d今晚必出的一注 | 3d试机号后专家推荐汇总 | 于海滨3d今晚预测号码 | 三d预测专家预测今天最新 今于海滨3d预测 | 3d直选至今未出号 | 今晚3d预测最准一注 | 3d开心毒胆独胆王 | 3d今天专家推荐号码是多少 | 3d专家预测最准确最新推荐号码 | 今晚3d专家推荐号码是多少 | 张克永3d预测今天 | 3d跨度振幅走势图3d专家 | 3d今晚专家预测最准确一注 | 3d今日开机号和试机号及关注码 | 财神爷三天计划独胆组合 | 3d专家预测最准确最新今天牛彩 | 于海滨的今日预测 | 于海滨3d预测 | 毒胆牛人三天计划 | 3d试机号开奖号走势图表 | 中国福彩3D独胆实时精准预测 | 3d专家预测最准确今天南方双彩网 | 3d专家预测最准确今天 | 3d今晚专家推荐号 | 3d结果开奖号码今晚 | 3d太湖钓叟字谜汇总正版藏机图 | 于海滨专家预测 | 于海滨3d最新预测 | 3d今晚专家预测推荐号 | 排五开奖最新结果排5 | 3d百位个位和值走势图 | 3d太湖字谜每天更新 | 3d詹天佑预测汇总 | 今晚3d和值推荐 | 3d直选一注必中 | 3d预测专家最准确今天 | 3d试机号开机号号码今天 | 中国福彩3D独胆实时推荐 | 3d藏机图正版藏机图汇总今天最新图片 | 今日3d最准开机号 | 3d今天开机号和试机号码 | 3d百十和值尾振幅走势图 | 3d今晚专家推荐号 | 3d徐文轩今晚推荐号码 | 3d专家预测最准确最新今天牛彩 | 3d最精准独胆王 | 最准3d预测专家推荐号 | 今天的3d开机号和试机号查询 | 今天3d开机号 和试机号 查询结果 | 中国福彩3D独胆当天精准预测 | 3d下期预测最精准的一注号码 | 今天最新3d开机号试机号关注码 | 今日3d字谜3d一句定三码诗天中图 | 3d试机号3d之家金码 | 3d最准确最新专家预测 | 3d十大专家杀跨度汇总 | 3d今晚专家预测重点号码 | 3d今晚专家推荐号 | 助赢计划软件免费版下载安装 | 3d预测最新最准专家 | 3d推荐号码今晚预测 | 3d百十和尾振幅走势图走势 | 今天最准3d预测号 | 3d牛彩网专家预测 | 今晚钱王点评推荐号 | 3d专家今日推荐号码 | 今晚3d开奖号码多少 | 3d百位个位和值走势图 | 十拿九稳今天预测专家 | 于海滨最新3d预测今天 | 3d最准预测号 | 福彩3D独胆独家命中率最新 | 3d今晚专家预测推荐 | 3d于海滨专家预测 | 3d藏机图正版藏机图太湖字谜 | 3d今晚预测直选四注 | 3d最准专家预测方法 | 3d专家今天推荐号 | 3d今晚预测最新最准确 | 3d今天专家推荐号码推荐 | 3d试机号后专家预测推荐汇总 | 福彩3D独胆下期推荐最新 | 3d专家预测今天最新准确号 | 3d独胆陈华今晚就赌一个胆 | 3d开机号和试机号今天全部 | 推荐一注3d号码 | 今天3d字谜解太湖字谜 | 3d陈华今晚就赌一胆o11预测 | 3d今晚专家预测推荐号 | 3d最大值走势图彩经网 | 3d铁人包星定胆天齐网 | 3d今日开机号和试机号及关注码 | 3d最准专家预测号 | 3d邻孤传走势图乐彩 | 牛彩网近30期3d开机号试机号 | 3d谜语字谜太湖天齐网 | 3d试机号开机号号码今天 | 3d开奖号码走势图表 | 3d北丐七爷独胆 | 3d预测专家最准确的专家预测今晚 | 3d预测一注号推荐一3d预测一注今天 | 今天专家推荐号码3d | 3d和值走势图彩宝网 | 正版真精华布衣天下今天推荐号码 | 3d百位定位走势图 | 今晚3d专家预测汇总 | 太湖马后炮3d钓叟字谜 | 3d最准确预测专家 | 3d今晚最准专家推荐号码 | 3d推荐号码今晚预测 | 3d鸿运坊预测号 | 3d专家预测最准最新 | 陈华今晚就赌一个胆今天最新更新内容 | 3d今天晚上的开奖号码 | 3d开机号试机号奖号 | 唐龙预测一胆今天 | 3d条件预测专家专区 | 今日3d预测专家推荐 | 今日3d预测专家推荐 | 3d预测詹天佑 | 天才计划三天计划独胆 | 3d基本走势图表 | 3d十个位差值振幅走势图3d之家 | 千禧开机号试机号关注号金码杀码 | 今天3d开机号试机号对应码列表 | 三地杀码高手 | 3d预测詹天佑最新 | 今于海滨点评专家一语定胆 | 3d开机号和试机号码牛彩网 | 3d今晚预测最新最准确号码牛彩网 | 3d走势图带连线图表牛彩网 | 3d预测最准确的专家预测软件 | 3d直选综合走势图表图 | 詹天佑3d最新预测今天 | 于海滨三地杀码 | 3d专家预测推荐汇总 | 3b千喜今天试机号关注金码 | 3d今晚惊天一注预测 | 3d百个差振幅走势图近100期 | 千禧3试机号金码关注码金码 | 看彩大亨看独胆双胆预测 | 3d和值尾振幅走势图带连线图表 | 3d十大专家推荐号码汇总 | 3d字谜太湖解 | 3d廊坊鸿运 | 3d直选一注50倍单挑 | 今天3d专家推荐重点号 | 3d近100期开奖结果全部 | 3d今晚惊天一注预测 | 3d廊坊鸿运正版推荐 | 3d精准预测最准的专家 | 3d独胆双胆 | 3d陈华今晚独胆预测 | 千禧试机号金码关注 | 成功路上3d双胆独胆 | 3d预测最准确的专家 | 3d太湖钓叟字谜汇总正版藏机图 | 太湖字谜3d和值谜 | 小财神三天计划独胆必下 | 3d今日热销号| 3d今晚专家预测推荐 | 今晚3d直选一注 | 3d预测最准最新准专家预测 | 十拿九稳专家预测专栏 | 3d太湖钓叟三字诀字谜汇总 | 3d今天开机号试机号码查询 | 3d今天专家推荐号码是多少 | 3d于海滨上的今天预测保真 | 3d杀码想要| 3d独胆必下一独胆布衣正 | 宇海宾杀码图 | 于海滨一语点评今日 | 今天3d专家推荐号 | 3d独胆专家推荐独胆 | 3d通杀一码准确率100% | 詹天佑3d推荐 | 小财神三天计划独胆必下 | 千禧p3试机号关注号金胆对应号 | 今天最新3d开机号试机号关注码 | 3d最新专家预测汇总大全 | 3d走势图(带连线版) 试机号 | 今天3d牛彩网专家预测 | 马后炮解今日太湖字谜三字诀 | 3d单一跨度走势图表 | 3d李明启最新预测今天 | 3d专家今日推荐号码 | 3d专家预测最准最新今天 | 詹天佑3d今日推荐 | 千禧3d试机号关注码金码试机号 | 钱王点评十钱王给胆下一期预测 | 3d开机号试机号今天最新50期 | 3d基本走势综合图 | 今晚3d预测最准一注 | 唐龙一胆| 3d预测专家最准确今天 | 3d双胆预测| 于海滨3d预测免费每日精选 | 3d今晚预测一注 | 3d今日开机号和试机号及关注码 | 3d试机号牛彩网近三十期 | 3d阴阳走势图表图 | 3d詹天佑最新预测牛彩网 | 于海滨专家预测 | 3d精准预测最准的专家 | 今日3d专家预测总汇 | 两天计划双胆王 | 3d预测今晚推荐号 | 3d专家今天推荐号 | 3d独胆必下一独胆布衣正 | 3d和值25点有哪几注 | 3d专家杀码天中图库 | 中国福彩3D独胆明日推荐最新 | 排五预测最准专家 | 今天晚上三d开奖结果 | 近100期3d开机号和试机号 | 3d今晚预测100%| 3d十大专家预测汇总 | 廊坊鸿运3d最新预测 | 于海滨最新3d预测推荐今天 | 今于海滨3d预测今天牛彩网 | 3d最小差值振幅走势图 | 詹天佑3d今晚预测号码 | 万能四码找下期奖号 | 至尊计划王三天计划独胆 | 3d预测号最新最准牛彩网 | 3d于海滨预测预测牛彩网 | 3d六大专家杀码汇总 | 3d今日开机号和试机号及关注码 | 今晚3d独胆王 | 3d预测分析 | 3d推荐号3d推荐号码 | 今天最新3d开机号试机号关注码 | 三d预测专家预测 | 3d推荐最新最准专家预测 | 3d两胆精准预测 | 3d杀码十大专家天齐网 | 钱王老头点评牛彩网 | 3d之家预测专家预测 | 3d最准预测专家推荐 | 3d专家预测最准确最新今天牛彩 | 3d今天最新最准专家预测最 | 3d今晚上必出号 | 中国福彩3D独胆下期最新必中最新 | 3d预测一注号推荐 | 于海滨3d预测号 | 千禧3d试机号金码关注码杀码今天3d | 3d基本走势图 综合 太湖三字诀字谜三 | 3d双胆独胆推荐 | 一代女王决杀两胆免费观看 | 3d带专业连线走势图 | 3D独胆大神命中率最新 | 3d预测最准专家预测号 | 3d专家预测独胆最准确 | 3d和值走势图彩宝网 | 3d最准专家预测号 | 3d专家预测汇总牛彩网彩摘收集 | 3d预测总汇手机牛彩网 | 3d于海滨上的今天预测保真 | 3d独胆专家推荐独胆 | 太湖字谜三字诀论坛 | 3d神仙姐姐独胆一个 | 3d牛彩网采摘收集预测汇总 | 太湖试机号后一句定三码3d字谜 | 3d预测最准专家预测号码 | 3d专家推荐预测号 | 今日3d直选一注 | 3d专家预测最准今天 | 今天3d开机号和试机号金码 | 十拿九稳今天预测 | 于海滨3d今晚预测 | 3d和值012走势图带连线图 | 3d千禧今晚试机号码 | 詹天佑3d今天最新预测 | 3d走势图(专业连线版) | 3d今晚最准专家预测号码 | 福彩3D独胆内部杀号 | 今晚3d专家推荐号码是多少 | 3d最准确最新专家预测 | 3d今晚上专家推荐号 | 最准3d专家预测推荐 | 3d紫云涧专家预测推荐 | 3d三胆| 3d今天晚上精选一注 | 千禧试机号关注号金码是什么 | 财神一语定一注3d字谜 | 我是毒胆王,今晚独胆 | 3d今晚出的什么号 | 天才计划三天计划独胆 | 3D独胆实时推荐 | 3d今晚预测最准确一注今天 | 3d专家最新最准预测 | 彩宝贝十大专家杀蓝号 | 飞向阳光龙头凤尾今天最新消息 | 3d詹天佑最新预测 | 福彩3D独胆下一期推荐最新 | 于海滨3d预测免费 | 三天计划3d独胆必出论坛 | 詹天佑3d今晚预测号码 | 陈华今晚就赌一个胆今天最新更新内容 | 十拿九稳十大专家预测汇总最新一期 | 3d试机号开机号近50期 | 3d北盟天机图藏机图 | 3d最大值振幅走势图3之家 | 3d藏机图正版藏机图汇总今天最新图片 | 3d跨度公式98准确率 | 今晚3d专家推荐 | 牛彩网3d走势图表 | 3d推荐号今晚专家预测最准确 | 3d十个位差值振幅走势图3d之家 | 3d今晚的开奖号码 | 3d于海滨预测预测牛彩网 | 詹天佑3d预测 | 3d专家预测于海滨 | 陈华3d今晚就赌一个胆天齐网 | 3d牛彩网字谜图谜总汇九 | 3d海滨点评一语定胆今天最新推荐 | 3d推荐号今晚专家预测最准确 | 詹天佑3d今晚预测号码 | 3d预测最准确的专家 | 3d专家专家预测汇总 | 排三今晚十拿九稳最新预测 | 3d试机号后专家预测汇总 | 于海滨海3d专家预测今天 | 3d今晚预测最新最准确号码牛彩网 | 3d预测最准最新牛彩网 | 中国福彩3D独胆实时精准预测 | 于海滨一语定胆天齐网 | 陈华3d今晚就赌一个胆天齐网 | 3d今晚最准三注 | 3d今晚最准专家预测号码 | 今日詹天佑3d预测分析 | 今日3d预测专家推荐 | 陈华今晚独胆特别关注 | 3d近30期开奖结果 | 3预测,3d专家预测,最准确今天彩网 | 3d推荐号今晚专家预测最准确 | 廊坊鸿运3d推荐今天 | 今天3d试机号开机号牛彩网 | 3d今天的开机号和试机号查询 | 三d牛彩网开机号试机号是多少 | 3d千禧开机号和试机号码 | 3d和值基本走势图表 | 3d今晚预测 | 3d太湖字谜总汇大全 每天更新 | 3d今晚试机号是多少 | 3d北斗专家北斗预测今天079期3d | 3d专家预测最准确| 3d预测最准最新准专家预测号码 | 于海滨点评专家一语保真 | 3d专家预测最准确最新今天 | 3D独胆本期预测最新 | 3d试机号牛彩网近三十期 | 3d牛彩网采摘收集预测汇总 | 3d今晚专家预测重点号码 | 3d计算机开机号夏天推荐 | 陈华3d今晚就赌一个胆天齐网 | 于海滨海3d专家预测今天 | 于海滨专家3d今天预测 | 3d专家最新最准专家预测汇总 | 3d今晚最准专家预测号码 | 于海滨一语定胆天齐网 | 3d绝杀二码今天最新更新内容 | 今日3d预测 | 今天p3藏机图正版藏机图 | 3d晚间字谜汇总汇 | 于海滨专家3d今天预测 | 3d直选一注必中 | 今于海滨3d预测今天牛彩网 | 今天3d开机号和试机号牛彩网 | 3d预测号码最准最新准专家预测号 | 3d六码复式多少钱一注 | 3d最准专家预测方法 | 3d专家最准确预测 | 3d最大值振幅走势图彩经 | 中国福彩3D独胆下期分析最新 | 3d和值尾振幅走势图50期 | 3d十大专家预测汇总 | 3d最准一个独胆方法 | 3d詹天佑预测分析牛彩网 | 3d和值和尾振幅走势图 | 詹天佑最新预测3d | 排三杀码专家定位杀码天齐网 | 3d今晚预测最准确一注今天 | 3d开机号和试机号今天金码关注号 | 3d基本走势图表新浪网 | 专家推荐最热一注是什么 | 3d推荐最新最准专家预测 | 3d和值尾振幅近100期走势图 | 97654天中图库,今天晚3d试机号 | 3d字谜图谜总汇 | 3d两胆王双胆必下 | 今日3d开奖号太湖字谜总汇 | 3d最准专家预测号 | 3d阴阳走势图表图 | 3d今晚预测最新最准确号码牛彩网 | 3d专家预测牛彩网 | 布衣杀码图3d杀码 | 今日3d开奖号太湖字谜总汇 | 詹天佑3d最新消息今天 | 3d今日预测最准专家预测 | 今晚最准一注3d | 3d邻孤传走势图乐彩 | 3d最新专家预测推荐 | 3d推荐号3d推荐号码 | 3d最新专家预测汇总大全 | 今晚3d开奖号是多少 | 3d太湖钓叟字谜三字诀论坛 | 开心毒胆王今晚独胆 | 3d预测专家推荐 | 3d预测专家最准确的专家预测今晚 | 3d今日预测最准专家预测 | 神仙姐姐杀码今天的 | 齐彩网3d专家预测 | 千禧开机号试机号关注号金码杀码 | 牛彩网预测专家3d | 3d焰舞和值谜字谜 | 3d单一跨度走势图表 | 最准3d专家预测推荐 | 陈华3d今晚赌独一胆天齐网 | 3d最小值振幅走势图3之家 | 3d预测专家最准确 | 于海滨专家一语定胆十每日 | 3d走势图带连线图表 | 毒胆牛人3天计划 | 天齐藏机图汇总正版藏机图 | 3d太湖17500字谜 | 3D独胆团队精准预测最新 | 3d千禧开机号试机号关注金码 | 今晚牛彩网3d预测汇总 | 3d今晚专家预测推荐号 | 今天晚上3d开奖 | 3d精选号码推荐今天最新 | 今天3d牛彩网专家预测 | 3d今晚专家预测重点号码 | 3d今天专家预测最准 | 3d廊坊鸿运 | 于海滨3d免费预测最新的 | 3d今晚最准专家预测号码 | 3d海滨点评一语定胆今天最新推荐 | 于海滨3d专家预测今天 | 3d今日专家推荐号 | 3d最新准专家预测 | 正版真精华布衣天下今天推荐号码 | 今天3d开机号和试机号 | 于海滨海3d专家预测今晚一注 | 詹天佑今日3d预测 | 3d各路专家预测汇总大全最新 | 今天3d藏机图正版藏机图藏机图太湖横屏 | 中国福彩3D独胆老师分析最新 | 3d直选精准100%免费 | 三d三胆 | 千禧3d试机号关注码金码试机号 | 3d最新专家预测汇总 | 今晚3d专家推荐号码 | 3d最新最准预测号码今天 | 今于海滨3d杀码图24210 | 3d专家预测最准确今天南方双彩网 | 3d今天专家推荐 | 3D独胆团队精准预测最新 | 3d开机号和试机号金码关注对应号 | 3d今晚专家预测重点号码 | 直选三注必中一注3d | 今天3d正版太湖字谜 | 今于海滨3d预测今天 | 97654天中图库,今天晚3d试机号 | 3d千禧试机号关注码金码今天晚 | 于海滨3d今晚预测号码 | 于海滨预测3d | 无敌胆王独胆双胆 | 3d预测专家最准最新 | 3d试机号后专家预测汇总手机网 | 北斗3d今日专家预测推荐 | 3d开机号和试机号码牛彩网 | 3d预测推荐汇总 | 詹天佑3d预测今天推荐号码 | 3d姜子牙一句定三码最准字谜汇总 | 福彩3D独胆最新推荐最新 | 3d预测詹天佑 | 3d独胆必下一独胆准 | 詹天佑3d预测推荐 | 3d百位绝杀一码 | 3d今天专家预测最新最准 | 于海滨预测3d号 | 3d徐文轩今晚推荐号码 | 3d十大专家预测汇总 | 3d今晚开奖结果号码是 | 千禧3d开机号试机号金码 | 今天3d开机号和试机号 | 近10期3d开奖结果 | 3d专家最新最准专家预测 | 今晚3d直选推荐 | 预测今晚3d一注 | 3d预测最准最新牛彩网 | 3d今晚必中一注 | 3d开机号和试机号码牛彩网 | 3d字谜汇总大全总汇牛彩网开机号 | 3d谜语字谜太湖天齐网 | 今天3d精选一注 | 马后炮解3d太湖钓叟字谜总汇大全 | 3d百十和尾振幅走势图走势 | 3d专家预测最准确今天牛彩网 | 3d专家预测号码最准确 | 今天最新3d开机号试机号 | 3d今晚最准的一注 | 千禧3d试机号金码关注码牛彩网 | 3d专家预测最准确最新今天牛彩 | p3千禧试机号关注金码 | 3d专家预测最新最准推荐 | 今天3d金码试机号对应码开机号 | 3d开机号试机号30期列表走势图 | 3d专家预测最准确最新汇总对应码 | 3d走势图专家推荐号码 | 今天的3d太湖字谜 | 3d单个冷号最大遗漏 | 3d彩界精英独胆双胆 | 3d预测专家精准推荐 | 3D独胆下期推荐预测最新 | 无敌胆王独胆双胆 | 助赢计划软件免费版下载安装 | 独胆王三天计划 | 今晚3d专家预测精选一注 | 飞向阳光龙头凤尾预测 | 今晚3d开奖直选结果 | 今日3d一注推荐 | 福彩3D独胆本期推荐 | 3d免费专家预测推荐 | 3d开机号,试机号,金码号,对应码100 | 三d预测专家 | 今晚3d推荐号 | 3d预测号码最准最新准专家预测号家彩网 | 3d千禧试机号关注码金码是什么 | 3d今天开机号和试机号232 | 3d独胆10中10 | 今天3d开机号和试机号码是多少 | 3d太湖钓叟字谜汇总正版藏机图 | 今天3d藏机图正版藏机图藏机图太湖横屏 | 福彩3D独胆大神精准预测最新 | 3d阴阳走势图表图 | 97654天中图库,今天晚3d试机号 | 3d推荐号今晚专家预测 | 太湖钓叟排三字诀字谜 | 3d开机号试机号关注号金码对应码 | 于海滨点评专家一语定胆保真版 | 3d直选一注必中 | 于海滨今天预测 | 陈华3d今晚就赌一个胆 | 3d老炮子直选三注 | 神龙毒胆王今晚给胆 | 3d今晚和值推荐 | 3d太湖钓叟字谜三字诀了3d开奖 | 两天双胆计划王 | 3d六码组三多少钱一注 | 3d独胆双胆预测 | 3d专家詹詹天佑最新推荐 | 3d今天专家预测号码最准确 | 3d今晚上专家推荐号 | 于海滨专家3d今天预测 | 3d最新专家预测汇总牛部长预测 | 3d预测专家精准推荐 | 3d十个位差值振幅走势图3d之家 | 3D独胆内部精准预测 | 中国杀码王绝杀 | 3d开奖号走势图表 | 3d六码复式多少钱一注 | 3d预测 下一期 3d预测专家 3d预测 | 3d预测今晚推荐号 | 3d之家预测专家预测 | 3d陈华今晚独胆推荐 | 3d十大专家预测汇总 | 神仙姐姐杀码今天 | 今于海滨一语定胆保真今天 | 牛彩网3d预测汇总大全手机版下载 | 3d紫云涧专家预测推荐 | 今日钱王给胆点评 | 3d今日开机号和试机号及关注码 | 3d白娘子跨度字谜汇总今天牛彩网 | 开心笨小孩3d独胆 | 3d今天专家预测号码最准确 | 北斗3d今日专家预测推荐 | 天齐藏机图汇总正版藏机图 | 3d今晚最准专家预测号码145 | 3d预测号专家预测 | 专家推荐最热一注是什么 | 玩胆先生今晚双胆 | 3d今晚十大专家预测汇总 | 3d今日预测推荐号 | 3d试机号后专家预测汇总 | 3d预测最准专家预测牛彩网 | 成功路上3d双胆独胆 | 3d专家推荐最精准的号码 | 3d晚秋和值谜字谜图 | 3d专家最准确预测 | 3d今天的推荐号 | 3d胆王帅哥独胆双胆 | 3d开机号和试机号近100期列表 | 太湖钓叟3d字谜三字诀 | 3d专家预测最准确最新今天牛彩 | 3d预测最准最新准专家预测号码 | 3d今天开机号和试机号码 | 3d今晚最准最新专家推荐号 | 3d最精准专家预测汇总今天 | 3d预测今晚最准专家预测号码 | 中国福彩3D独胆下期推荐杀号最新 | 三d试机号后专家预测汇总 于海滨专家3d今天预测 | 3d今晚最准专家预测号码 | 3d双胆预测 | 3d试机号今天晚上是多少 | 今晚钱王点评推荐号 | 天才三天独胆计划 | 3d双胆大师 | 3d预测号码最准确专家预测 | 千禧开机号和试机号对应金码 | 唐龙3d预测号 | 3d专家预测最准最新 | 3d和值振幅走势图彩宝贝 | 千禧3d关注码 | 3d最准确最新专家预测 | 3d推荐号3d推荐号码 | 千禧试机号关注金码是什么 | 3d专家詹詹天佑最新推荐 | 3d今晚预测精准 | 3d今晚开奖号码走势图 | 十拿九稳预测专家分析 | 3d预测最准确的专家 | 3d走势图全图表 | 3d谜语今天字谜今天的3d字谜是什么? | 3d专家独胆推荐 | 3d预测今晚最准专家预测号码 | 今晚3d试机号开机号金码号 | 3d预测专家精准推荐 | 3d专家预测推荐最新 | 3d紫云涧专家预测推荐 | 3d最准一注(单挑王) | 今晚3d出的什么号 | 3d至尊独胆 | 今天3d开机号和试机号查询结果彩吧 | 3d今晚必中一注一 | 3d同期历史对比 | 3d专家预测最准最新今天 | 3d最新预测专家推荐 | 千禧3d试机号金码关注码码关注码双彩论六个 | 3D独胆下一期精准预测 | 3d今晚推荐号 | 3d牛彩网专家预测 | 3d直选三注 | 3d专家预测最准最新今天 | 自创3d绝杀四码方法细节 | 3d直选一注今天 | 今日3d字谜太湖钓叟字谜 | 3d今天开机号试机号100期 | 3d独胆三天必出计划论坛 | 3d今晚最准专家预测号码 | 杀码3d杀码图 | 北斗3d今日预测 | 3d千禧开机号和100期试机号 | 3d怎么守号不亏 | 廊坊鸿运3d推荐今天 | 预测今晚3d一注 | 三地千禧开机号试机号金码关注 | 3d开机号和试机号今天多少 | 千禧3d开机号试机号金码 | 3d近30期开机号试机号开奖号查询 | 中国福彩3D独胆最新推荐最新 | 今于海滨3d预测今天单线联系 | 3d字字谜图谜总汇 | 3d专家预测最准确最新今天牛彩 | 牛彩网3d专家预测汇总 | 3d开奖号今晚晚上 | 3d推荐号今日预测 | 3d专家杀码图 | 3d于海滨上的今天预测保真 | 十拿九稳今天预测专家 | 3d预测专家精准推荐号 | 3d独胆是什么意思 | 十拿九稳专家最新预测 | 3d专家预测最准确最新汇总对应码 | 十拿九稳预测分析 | 正版真精华布衣天下今天推荐号码 | 3d玩彩老头预测今天号码 | 太湖字谜马后炮3d总汇 | 3d最新专家预测精选一注 | 今天的3d推荐号码是多少 | 3d彩吧图库手机牛彩网 | 3d开机号试机号奖号 | 3d开机号和试机号今天查询 | 三天计划3d独胆必出论坛 | 三d独胆| 3d直选精准100%免费 | 3d推荐号今晚专家预测 | 太湖字谜三字诀汇总 | 3d最准的预测专家 | 于海滨三地杀码 | 3d布衣双胆独胆王 | 太湖钓叟3d字谜太湖字 | 3d字谜今日字谜总汇 | 今天3d开机号和试机号码结果查询 | 专家推荐一注6+1 | 3d今天开机号和试机号322 | 3d开奖号今天结果 今晚 | 3d布衣独胆王 | 太湖钓叟三字诀字谜更新 | 3d太湖钓叟字谜汇总正版藏机图 | 3d火火独胆双胆 | 3d最新准专家预测 | 3d基本走势综合图 | 三地千禧开机号试机号金码关注 | 千禧3d试机号金码关注码牛彩网 | 3d专家预测最准最新 | 财神爷独胆三天计划,就这么牛 | 3d试机号今天开机号查询结果 | 3d一语定胆字谜今天 | 3d李明启预测号 | 北京胆王2彩吧图库 | 于海滨点评专家一语定胆保真版 | 3d神仙姐姐独胆一个 | 3d 试 机 号今晚 | 3d所有走势图 | 3d字谜太湖钓叟三字诀今天 | 3d开机号和试机号金码今天的 | 3d推荐最新最准专家预测 | 3d预测最准专家 | 3d直选开奖结果 | 3d专家预测最准确最新推荐号码 | 唐龙3d预测| 3d预测专家 | 3d天齐网最准预测 | 3d今晚专家推荐预测重点号码 | 3d必中永久直选500注大底 | 3d最准确专家预测 | 3d预测今晚推荐号 | 2025315期3d开奖结果 | 今日3d专家预测号码 | 3d专家预测最新最准推荐 | 3d最准的预测专家 | 3d预测推荐汇总大全 | 陈华3d独胆推荐 | 3d试机号今天开机号查询结果 | 3d专家预测更准确今天 | 3d今晚开奖号结果 | 三字诀太湖三字诀字谜 | 3d今晚专家预测 | 今天3d开机号和试机号全部 | 唐龙点评3d预测今天 | 3d近500期试机号和开奖号码 | 中国杀码王绝杀 | 3d开机号和试机号码牛彩网 | 3d专家预测最准确最新今天牛彩 | 3d图库彩吧彩报第三版 | 3d双胆神算今天必下 | 小红人的计划三天计划独胆 | 3d今天开机号试机号是几 | 3d预测今晚推荐号 | 今天太湖钓叟3d字谜三字诀 | 三d预测最准十专家预测今晚 | 今天3d开机号和试机号 | 三d牛彩网开机号试机号是多少 | 3d专家今天预测一注 | 3d独胆双胆专家预测网 | 3d杀码图谜_专区杀码 | 3d独胆双胆专家预测网 | 福彩3D独胆独家预测最新 | 免费计划软件 | 3d试机号近10期彩经网 | 3d独胆双胆预测推荐 | 3d牛彩网采摘收集预测汇总 | 3d必下双胆 | 3d今晚必出一注100%准确直选推荐 | 3d今晚预测精准 | 3d千禧试机号和金码关注 | 于海滨3d专家预测 | 3d老炮子直选三注 | 3d带专业连线走势图 | 3d开奖号走势图表 | 今晚3d专家推荐号码是多少 | 3d太湖钓叟字谜三字诀 | 于海滨今日杀码图最新 | 北斗3d今日专家预测推荐 | 福彩3D独胆大神精准预测最新 | 孟庆会点评 专家一语定胆 稳准狠三天计划 | 3d近30期开机号试机号开奖号查询 | 3d专家预测推荐号码最准最新 | 3d专家预测最准确最新汇总 | 3d今晚预测最准确一注今天 | 今晚3d预测推荐一注 | 专家预测3d号码准确 | 投资计划3d乐彩论坛 | 3d独胆专家推荐独胆 | 独胆三天计划 | 3d和值尾振幅走势图带连线图表 | 唐龙3d预测今日出号点评 | 3d独胆专家预测 | 3d今晚最准专家推荐号码 | 3d今晚专家预测推荐号 | 3d玩彩老头预测今天号码 | 排五近100期开奖号结果 | 铁人铁胆定位包星 | 祖师爷独胆三天计划 | 3d专家今日推荐号码 | 3d今天开机号,试机号 | 福彩3D独胆本期命中率 | 3预测,3d专家预测,最准确今天彩网 | 3d专家预测最准确最新汇总 | 3d詹天佑推荐号 | 3d开机号近30期列表彩宝网 | 专家预测3d号码准确 | 杀码大全汇总 | 3d专家预测号码推荐今天 | 廊坊鸿运3d最新预测 | 千禧3d今晚的试机号码 | 3d独胆专家预测 | 中国福彩3D独胆专家精准预测最新 | 3d天中杀码图专区 | 3d怎么守号不亏 | 3d詹天佑最新预测今天 | 3d杀码十大专家 | 免费计划软件 | 3d开机号和试机号今天查询 | 3d最精准一注 | 3d预测专家最准确的专家预测今晚 | 小红人的计划三天计划 | 今天3d千禧试机号关注号金码号 | 3d十大专家精准预测汇总 | 千禧p3试机号关注号金胆对应号 | 3d专家预测最准确最新汇总对应码 | 今晚3d独胆王 | 齐彩网3d专家预测 | 3d推荐号码今晚预测 | 3d百个位和值尾走势图 | 今晚3d专家最精准的预测 | 最准3d预测专家推荐号 | 福彩3D独胆下期推荐最新 | 3d开机号今天近100期南方查询 | 于海滨海3d专家预测今晚一注 | 3d独胆必下一独胆布衣正 | 北斗3d今日专家预测推荐 | 天齐网3d必中两胆今天 | 今晚3d专家最精准的预测 | 今天3d专家预测号码 | 今日3d专家预测号最准确 | 3d字谜汇总大全总汇牛彩网开机号 | 3d和走势图 和值尾连线 | 3d开机号今天试机号30期 | 专家预测3d号码准确 | 3d专家预测最准确今天上一期 | 2002146期3d开奖结果 | 3d三胆预测 | 顶级胆神双胆下一 | 3d詹天佑推荐号 | 3d最新最准专家预测号码 | 3d十大专家双胆预测汇总 | 3d十位单选振幅走势图 | 今日3d一句定三码和值谜食物全部 | 3d独胆必下一独胆3d独胆预测 | 3d最准的独胆, | 3d今晚专家推荐号 | 于海滨最新3d预测今天 | 最准的3d专家预测 | 今天3d专家预测号码 推荐 | 于海滨点评专家一注定胆保真版 | 福彩3D独胆本期命中率 | 3d预测最新最准专家 | 3d试机号和开奖号走势图 | 3d预测今日最新推荐 | 顶级胆神双胆下一 | 于海滨3d预测 | 3d十大专家推荐号码汇总 | 3d中间最小两码差值振幅走势图 | 3d杀码专家杀码最精准 | 今日3d太湖字谜三字诀洞庭游侠 | 最新3d预测专家预测 | 3d今天预测号 | 3d独胆双胆 | 3d走势图的基本走势图 | 3d今晚开出什么号码 | 3d专家今天推荐号 | 3d试机号开机号今天金码关注 | 3d十大专家预测汇总 | 今天3d开机号试机号码 | 超级毒胆| 3d专家推荐精选号码 | 3D独胆实时推荐 | 3d今天专家推荐号码 | 3d牛彩网| 3d专家预测最准确| 3d预测最准专家预测牛彩网 | 3d机选一注 | 3d最准专家预测号今晚3d试机号 | 3D独胆实时推荐最新 | 3d千禧今晚试机号码 | 3d今天专家推荐号码推荐 | 3d今晚上专家推荐号 | 3d千禧开机号试机号关注金码对应码 | 福彩3D独胆下一期命中率最新 | 3d专家预测推荐号最新 | 于海滨点评专家一语保真 | 3d精准预测最准的专家 | 3d预测最新最准专家推荐号码 | 3d和值振幅走势图彩宝贝 | 三d便民字谜图谜总汇 | 3预测,3d专家预测,最准确今天彩网 | 福彩3D独胆下期推荐预测 | 3d于海滨预测预测牛彩网 | 3d彩皇网| 3d预测专家推荐号码推荐 | 3d通杀一码 | 今晚最准的一注3d | 太湖字谜太湖钓叟三字诀 | 3d最准杀码 | 3d推荐号今晚专家预测最准确 | 3d专家最精准的推荐 | 于海滨点评专家一注定胆保真版162期 | 马后炮解3d字谜 | 排三太湖钓叟字谜三字诀 | 天才计划三天计划独胆 | 3d走势图带连线图表牛彩网 | 3d今晚专家预测最准确号码 | 3d预测推荐汇总牛彩网采摘收集 | 3d最精准专家预测汇总今天 | 3d三天计划独胆王 | 今日詹天佑3d预测 | 3d预测号最新最准牛彩网 | 千禧试机号金码今天的 | 3d上下五千年专家预测 | 千禧今晚3d试机号关注码金码对应 | 毒胆牛人三天计划必出 | 小红人的三天计划今天是什么 | 3d最准确预测专家 | 3d预测专家最准最新 | 小胆神玩毒胆我3d | 3d预测天齐网 | 于海滨3d专家预测今天 | 今日3d开机号和试机号关注码千禧 | 今晚3d专家推荐重点号码 | 3d万能大底共250注直选 | 专家3d专家推荐 | 3d晶晶必下一独胆今天 | 福彩3D独胆高手杀号最新 | 3d双胆预测 | 3d直选一注| 3d毒胆双胆三胆 | 3d基本走势图表新浪网 | 今日3d藏机图正版藏机图134 | 3d最准预测专家预测汇总 | 中国福彩3D独胆今晚走势最新 | 3d今晚推荐号 | 近10期3d开奖结果 | 推荐一注3d号码 | 3d白娘子跨度字谜汇总今天牛彩网 | 于海滨海3d预测牛彩网 | 今日正版3d藏机图全部汇总 | 今晚3d专家预测最准确 | 3d开机号和试机号金码关注对应码 | 3d预测最准确的专家预测软件 | 今天3d开机号 和试机号 查询结果 | 3d号码预测| 3d今晚最准专家推荐号 | 3d彩报图今天的第五版 | 排3藏机图正版藏机图今天 3d八哥图库总汇d字谜图谜总汇大全 | 3d开机号试机号近100期开奖号码 | 中国福彩3D独胆下期最新必中最新 | 3d太湖字谜总汇总(正版) | 今日3d预测号码推荐 | 3d预测今晚最新最准确 | 3d今日专家推荐号 | 今天太湖字谜3d字谜太湖钓叟 | 3d最新基本走势图表 | 最新3d预测专家预测 | 3d圣手字谜图谜 | 3d下期预测最精准的一注号码 | 3d一语定胆太湖字谜 | 陈华3d今晚就赌一个胆天齐网 | 于海滨今日3d预测 | 精准3d独胆 | 3d农村小伙子最新预测 | 3d预测最准专家预测牛彩网 | 3d小鱼图今日背面字谜 | 3d百位个位和值走势图 | 天齐网专家杀码大全 | 今天3d专家预测号码 推荐 | 廊坊鸿运3d推荐今天 | 3d最准确最新专家预测 | 3d太湖字谜每天更新 | 3d预测专家精准推荐 | 于海滨3d今晚预测 | 3d和值和尾走势图带连线图表 | 今日3d预测号码推荐 | 3d最准专家预测号今晚3d试机号 | 3d今天中了多少注直选 | 3d预测专家推荐最新 | 3d独胆双胆专家预测网 | 3d开机号和试机号200期列表 | 试机号开机号金码关注号对应码3d | 3d试机号后专家预测汇总手机网 | 中国福彩3D独胆下期推荐 | 于海滨一语定胆 | 今晚3d专家预测精选一注 | 3d免费预测汇总牛彩网 | 今天最新3d开机号试机号关注码 | 3d预测专家推荐号码 | 3d十大专家精准预测汇总 | 今天3d开机号和试机号牛彩网 | 3d太湖字谜三字诀 | 3d开奖号码近50期 | 牛人独胆二天计划 | 小红孩3d独胆今天 | 福彩3D独胆下一期走势最新 | 3d各类和值谜追加汇总 | 唐龙一胆今天最新 | 3d千禧试机号码金码关注码 | 排五专家预测精准 | 3d开机号和试机号今天 今晚 | 3d每天一个独胆 | 3d专家今天预测一注 | 3d和值尾振幅走势图3d之家 | 福彩3D独胆最新推荐最新 | 3d今天预测最准确专家 | 3d紫云涧专家预测推荐 | 3d精选号码推荐今天最新 | 3d跨度遗漏值振幅走势图彩经网 | 詹天佑3d今晚预测号码 | 福彩3D独胆明日推荐 | 天才计划三天计划独胆 | 詹天佑3d点评预测 | 孟老师专家预测3d | 3d北丐七爷独胆 | 3d直选走势图(专业版) | 3d专家预测今天最新准确号 | 于海滨3d预测天齐网 | 3d预测专家汇总预测 | 正版真精华布衣天下今天推荐号码 | 3d跨度振幅走势图3d专家 | 3d最大值振幅走势图彩经 | 3d和值尾振幅走势图近100期 | 3d今晚必中一注 | 3d今天开机号和试机号是多少 | 3d独胆专家推荐独胆 | 3d中间值振幅走势图之家 | 3d近30期开机号试机号牛彩网 | 3d开机号和试机号今天千禧 | 3d字太湖字谜 | 廊坊鸿运3d推荐今天 | 3d预测最准确的专家预测软件 | 3d双胆预测 | 苏会文3d预测今天推荐 | 排五奖号 | 3d开机号和试机号200期列表 | 3d双胆独胆非常非常稳定 | 3d双胆大师| 3d玩彩老头预测今天号码 | 3d今晚100倍| 3d字谜今天太湖字谜 | 3d预测专家精准推荐 | 3d和值基本走势图新浪网 | 3d千禧试机号金码关注码 | 3d直选一注50倍单挑 | 3d今天专家预测最准 | 3d预测最准确的专家预测软件 | 3d恋预测今晚预测是哪里出的 | 专家预测3d号码准确 | 今晚3d专家推荐号码是多少 | 牛彩网近30期3d开机号试机号 | 3d直选一注50倍单挑 | 3d走势图专家推荐号码 | 中国福彩3D独胆内部杀号 | 千禧开机号试机号关注号金码杀码 | 3d今晚一注 | 3d下期预测最精准的一注号码 | 2014年359期3d焰舞字谜 | 3d专家最新最准预测 | 3d走势图基本走势 | 3d千禧试机号开机号对应码关注号 | 中国福彩3D独胆当天预测最新 | 97654天中图库,今天晚3d试机号 | 今天3d开机号 试机号是多少 | 今天3d于海滨预测 | 3d毒胆双胆三胆 | 3d带专业连线走势图 | 今天的3d开机号试机号 | 今日3d字谜太湖钓叟字谜 | 三字诀太湖三字诀字谜 | 3d今天专家预测推荐号码 | 3d今晚专家预测重点号码 | 中国福彩3D独胆本期命中率 | 3d钱王老头给胆点评 | 3d今晚惊天一注预测 | 3d预测专家最准确的专家预测今晚 | 于海滨专家预测3d | 3d预测最准的专家预测 | 福家老三3d推荐号 | 3d今天专家预测号码最准确 | 于海滨海独胆预测 | 3d跨度五行走势图3d之家 | 3d十位单选振幅走势图 | 3d预测今天更准 | 3d带连线走势图(专业版) | 北斗3d专家预测 | 专家彩宝贝预测汇总 | 至尊计划王三天计划独胆 | 三d开机号和试机号今天牛彩网彩 | 3d之家双胆独胆预测 | 3d詹天佑3d预测 | 3d今晚惊天一注预测 | 3d千禧试机号金码关注码对应码 | 3d今晚专家预测推荐号 | 3d村独胆双胆3| 福彩3D独胆高手杀号最新 | 3d预测专家最准确今天 | 解今日太湖3d字谜 | 3d预测今日最新推荐 | 于海滨海3d预测免费每日精选3d开奖号 | 今晚3d直选推荐 | 3D独胆专家精准预测最新 | 千禧试机号关注金码是什么 | 詹天佑3d预测推荐 | 3d预测今晚推荐号 | 3d今天最新最准专家预测最 | 今晚最全3d晚间字谜汇总192期 | 3d定和值公式| 3D独胆本期推荐 | 3d上下五千年专家预测 | 拼搏在线3d开机号和试机号列表 | 于海滨3d预测免费每日精选 | 3d开机号和试机号今天金码0 | 3d预测最准最新准专家预测号码 | 3d字谜太湖字 | 3d最准专家预测号 | 铁人铁胆包星定位今天最新结果 | 3d最准预测专家汇总大全 | 毒胆牛人3天计划 | 3d专家今日推荐号码 | 3d今天专家预测号码 | 中国福彩3D独胆独家预测 | 3d专家预测独胆最准确 | 3d今晚专家推荐预测重点号码 | 3d今晚开奖结果号码是 | 3d北斗专家北斗预测今天079期3d | 3d今天专家预测推荐号码 | 3d千禧试机号金码关注最近10期 | 解太湖3d字谜太湖 | 3d直选一注50倍单挑 | 3d今天预测最准确专家 | 3d每期必中27注 | 3d开奖号今晚晚上 | 于海滨3d杀码图145 | 3d近100期的开奖号码和试机号 | 3d开机号试机号今天最新50期 | 福彩3D独胆下期推荐预测 | 3d今晚出的号码 | 三地杀码高手 | 3d金码开机号和试机号 | 中国福彩3D独胆内部走势最新 | 3d预测最准确专家预测 | 3d和值遗漏值尾走势图 | 3d今晚预测准确的专家预测 | 3d专家今日推荐号码 | 3d专家预测最准最新 | 3d今天预测最准确专家 | 于海滨点评专家一注定胆保真版162期 | 3d紫云涧专家预测推荐 | 解今日太湖3d字谜 | 中国杀码王绝杀 | 3d和值专家推荐和值 | 3d今晚必下一个胆 | 今晚的3d试机号是多少 | 七爷独胆今晚一个胆 | 3d和值尾振幅近100期走势图 | 3d推荐号今晚专家预测最准确 | 今于海滨3d预测今天单线联系 | 三d今日预测 | 3d走势图全图表 | 3d专家预测推荐 | 牛彩网杀码图汇总 | 今晚3d开奖结果是多少 | 今日钱王给胆点评 | 3d今晚最准专家预测号码145 | 今日3d字谜太湖钓叟字谜 | 詹天佑3d最新预测今天 | 3d太湖专家预测今晚 | 3d走势图专业版(带连线) | 3d推荐号码今晚预测 | 今晚3d开奖直选结果 | 了3d开奖结果 今天晚上 | 今晚3d专家推荐号码 | 今天3d双双独胆字谜 | 3d独胆必下一独胆 | 3d最准确预测专家 | 3d今天预测最准确专家 | 唐龙点评3d预测今天 | 3d下期预测最精准的一注号码 | p3故事小王双胆下一今天 | 三d十拿九稳预测号码 | 3d专家预测最准确最新今晚预测 | 3d开机号和试机号今天多少 | 3d直选三注 | 3d财神爷今晚独胆 | 今天晚上3d开奖结果 | 太湖3d字谜图谜总汇 | 廊坊鸿运3d推荐今天 | 骄子铁鹰解3d字谜今日 | 今晚3d专家推荐号码 | 3d免费预测 | 3d预测专家最准确的专家预测今晚 | 3d今天专家推荐号码 | 3d中奖多少钱一注 | 于海滨海独胆预测 | 3d预测 下一期 3d预测专家 3d预测 | 万能四码使用技巧 | 3d预测专家推荐号码推荐 | 3d最精准的专家预测精选 | 今天太湖钓叟3d字谜三字诀 | 唐龙3d预测今日出号点评 | 于海滨海3d预测保真 | 今晚3d试机号千禧试机号金码关注 | 3d太湖字谜总汇总(正版) | 3d双胆预测3d双胆下3d 双胆推荐 | 三天计划3d独胆必出论坛 | 今天3d开机号和试机号对应金码 | 排五开机号试机号今天查询 | 3d之家独胆,双胆 | 3d单一跨度走势图表 | 今天3d中奖| 3d专家预测最准确今天 | 3d千禧开号试机号关注金码对 | 3d基本走势图(专业版)近200期 | 今晚3d专家预测精选一注 | 中国福彩3D独胆最新推荐 | 3d今晚专家预测推荐号 | 3d今晚试机号是多少 | 陈华3d今晚赌独一胆天齐网 | 3d专家预测最准牛彩网 | 毒胆牛人三天计划必出 | 3d316期太湖字谜 | 3d下期预测最精准的一注号码 | 3d今晚预测直选一注 | 3d预测专家推荐最准确 | 3d精准预测推荐 | 福彩3D独胆下期最新推荐 | 3d今晚专家预测推荐号 | 3d精准预测| 3d千禧试机号关注号金码号开机号 | 最准3d专家预测推荐 | 今晚3d直选一注 | 3d专家预测最准确最新新闻 | 今天专家推荐号码3d | 3d两天独胆王 | 3d于海滨上的今天预测保真 | 3d今天专家预测号码最准确 | 3d今日太湖字谜 | 今晚3d开奖号是多少 | 3d今晚最稳一注 | 3d家彩预测 | 今日3d预测专家推荐 | 3d武当玉女掌门一句定三码字谜 | 财神爷三天计划 | 3d最准专家预测号 | 今天3d专家预测号码 推荐 | 3D独胆下期推荐走势最新 | 今天3d开机号,试机号是多少 | 3d百位走势图带连线图表专业版 | 3d同期历史对比 | 3d试机号和开奖号走势图 | 牛彩网近30期3d开机号试机号 | 3d预测最准的专家预测 | 3d预测专家汇总预测 | 3d专家今天推荐号 | 今天3d开机号试机号对应码列表 | 今晚3d精准一注直选 | 齐彩网3d专家预测 | 今天3d太湖钓叟字谜三字诀 | 中国福彩3D独胆下期推荐推荐最新 | 今天专家推荐号码3d | 排五专家预测精准 | 3d最全晚间字谜汇总大全 | 专家推荐一注6+1 | 3D独胆专家推荐 | 3d今晚预测一注 | 3d专家预测汇总牛彩网收集汇总 | 钱王点评3d之家 | 3d预测最准的专家预测 | 今日詹天佑3d预测分析 | 3d直选是什么意思 | 三d十拿九稳预测号码 | 今天3d太湖钓叟三字诀字谜 | 今天3d于海滨预测 | 牛人独胆二天计划 | 福彩3D独胆下期走势最新 | 福家老三3d推荐号 | 3d杀码公式最新 | 3d专家最新最准预测 | 3d推荐最新最准专家预测 | 3d百位走势图带连线图表专业版 | 詹天佑3d推荐 | 今于海滨3d预测今天单线联系 | 3d精选号码推荐今天最新 | 3d今晚预测最新最准确 | 3d今天预测最准确专家 | 3d今晚最准最新专家推荐号 | 3d今于海滨杀码图 | 神仙姐姐今天最新杀码 | 3d精选号码推荐今天最新 | 3d专家预测最新 | 3d预测专家推荐最准确 | 3d开奖号历史上的今天 | 太湖3d字谜三字诀 | 今晚3d专家推荐 | 3d的开机号试机号奖号表 | 3d专家今天推荐号 | 3d 试 机 号今晚 | 彩界毒胆大师一枚毒胆 | 3d十大专家双胆预测汇总 | 今天3d开机号试机号牛彩网 | 千禧试机号金码关注号对应码杀码 | 今天晚上3d开奖结果 | 太湖三字谜太湖3d钓叟 | 3d开奖结果近10期 | 中国福彩3D独胆老师分析最新 | 3d精准预测最准的专家直选 | 中国彩吧更一懂彩民最新版本更新时 | 3D独胆明日分析 | 千禧3d试机号金码关注码对应码 | 詹天佑3d最新预测今天 | 至尊计划王三天计划独胆 | 近100期3d开机号和试机号 | 3d今天专家推荐号码推荐 | 3d专家最新最准专家预测汇总 | 试机号后牛彩网专家预测3d | 3d计算机开机号夏天推荐 | 3d试机号近30期牛彩网 | 3d独胆必下一独胆准 | 今晚3d开奖号是多少 | 3d今晚专家预测最准确号码 | 今晚3d专家预测最准确 | 3d北斗专家北斗预测今天079期3d | 3d百位遗漏振幅走势图南方双彩网 | 3d和值宫数线走势图 | 中国福彩3D独胆老师分析最新 | 3d财神爷今晚独胆 | 3d于海滨预测预测牛彩网 | 3d 今天 试机号开机号3 | 3d跨度遗漏值振幅走势图彩经网 | 张克永3d预测今天 | 唐龙预测一胆今天 | 詹天佑预测3d | 3d彩吧试机号今天最新 | 神仙姐姐杀码今天 | 今晚3d专家推荐 | 今晚3d专家推荐号 | 3d试机号开机号近50期 | 3d最准确预测专家 | 千禧3d开机号试机号金码 | 3d基本走势图表新浪网 | 福彩3D独胆本期命中率 | 今日焰舞3d焰舞字谜汇总大全 | 3d独胆必下一独胆3d独胆预测 | 3d预测专家推荐最新 | 3d家彩网| 3d开奖号今天结果 今晚 | 毒胆牛人3天计划 | 天才三天独胆计划 | 3d专家预测最准确今天牛彩网 | 3d预测推荐汇总大全 | 3d太湖专家预测今晚 | 福彩3D独胆下一期推荐最新 | 3d十位走势图带连线图表专业版 | 三d走势图基本走势图彩宝网 | 3d于海滨上的今天预测保真 | 3d金码开机号和试机号 | 3d千禧试机号金码关注最近10期 | 3d推荐最新最准专家预测 | 3d詹天佑预测分析牛彩网 | 3d预测最准的专家预测 | 3d解太湖字谜汇总精选 | 3d今日专家推荐号 | 3d字谜太湖最新 | 3d今晚出啥号 | 彩坛老顽童3d独胆 | 3d今晚最准专家预测号码145 | 3d独胆双胆3d之家 | 千禧今晚3d试机号关注码金码 | 3d试机号后专家推荐汇总 | 3d今晚必出的一注 | 财神一语定一注3d字谜 | 铁人铁胆包星定位今天最新结果 | 毒胆牛人三天计划必出 | 3d今日专家推荐号 | 3d直选一注必中 | 3d北斗专家北斗预测今天079期3d | 3d北斗专家北斗预测今天079期3d | 牛彩网3d预测分析汇总大全 | 今日3d直选一注 | 千禧3d试机号金码关注码码关注码双彩论六个 | 3d专家预测牛彩网 | 毒胆牛人三天计划必出 | 今天晚上3d推荐号码 | 今天3d专家预测号码 | 3d预测专家最准确的专家预测今晚 | 3d下期预测最准一注 | 3d牛彩网100期开机号和试机号 | 3d小龙一句定三码今日字谜天中图 | 3d今晚专家推荐预测重点号码 | 今晚3d直选推荐 | 千禧3d今晚的试机号码 | 今天三d专家推荐号码 | 3d跨度遗漏值振幅走势图彩经网 | 今天3d专家预测汇总 | 牛彩网3d预测汇总大全 | 今日3d开奖号太湖字谜总汇 | 3d开机号试机号30期列表彩宝网 | 今晚3d出的什么号 | 千禧3d试机号关注码金码今天的 | 3d和值跨度走势图带连线 | 家彩专门提供3d试机号开机号 | 3d两胆必出方法 | 于海滨今日杀码图最新 | 孟庆会老师3d预测彩吧图库今天 | 3d预测专家推荐最新 | 中国福彩3D独胆团队命中率最新 | 3d预测今晚最准专家预测号码 | 神仙姐姐杀码今天 | 3d太湖字谜汇总今天 | 3d推荐最新最准专家预测 | 3d专家预测号 | 3d预测一注精准 | 排五预测最准专家 | 今天专家推荐号码3d | 3d杀码公式最新 | 3d推荐最新最准专家预测 | 3d今晚最准专家推荐号 | 3d独胆专家推荐独胆 | 牛兄双胆| 3d今天专家推荐号码推荐 | 3d预测 下一期 3d预测专家 3d预测 | 3d今晚专家推荐 | 3d胆王双胆独胆 | 3d最准专家预测号今晚3d试机号 | 3d选5个号多少钱 | 3d基本走势图 综合 太湖三字诀字谜三 | 于海滨海3d专家预测 | 3d杀码于海滨| 牛彩3d专家预测 | 于海滨3d今晚预测号码 | 詹天佑3d今天最新预测 | 千禧3d试机号金码关注码码关注码双彩论六个 | 3d老虎独胆| 3d专家预测最准确最新今晚预测号 | 于海滨3d预测牛彩网 | 牛彩网杀码大全 | 福利3d开奖号码 | 经典小胆王三天计划配组合 | 3d百个位和值尾走势图 | 3d十大专家汇总精选一注 | 3d牛彩网试机号后专家预测汇总 | 于海滨三地杀码 | 3d百十差振幅走势图 | 3d专家预测最准确今天南方双彩网 | 小红人的计划三天计划独胆 | 天齐藏机图汇总正版藏机图 | 3d金胆王 | 3d试机号开机号号码今天 | 中国福彩3D独胆最新必中最新 | 太湖字谜钓叟3d字谜 | 于海滨3d预测号 | 3d藏机图正版藏机图汇总今天最新 | 3d最精准专家预测汇总今天 | 西施姐姐精心推算一独胆146 | 3d太湖字谜总汇总(正版) | 3d今天断组预测 | 3d小龙一句定三码今日字谜天中图 | 3d预测最准专家 | 三天计划胆十组合 | 千禧3d试机号金码关注码今天 | 3d最新专家预测汇总大全 | 3d预测号码最准确专家预测 | 3d今晚预测直选一注3d一注预测 | 万能四码图表 | 3d最准确预测专家 | 今日3d一注推荐 | 3d试机号今天开机号查询结果 | 中国福彩3D独胆高手命中率 | 3d预测天齐网 | 今天3d字谜解太湖字谜 | 3d近100期开奖结果全部 | 3d跨度振幅走势图3d专家 | 3d走势图和值振幅 | 3d今晚专家推荐预测重点号码 | 三d独胆| 福彩3D独胆团队必中最新 | 小德3d今天双胆定位 | 铁人铁胆3d定位包星预测 | 三d字谜图谜总汇牛彩网 | 今日3d直选 | 3d预测总汇手机牛彩网 | 3d打一个独胆中了多少钱 | 3d精选号码推荐今天最新 | 3d之家预测专家预测 | 3d今晚和值推荐 | 3d最新专家预测汇总 | 3预测,3d专家预测,最准确今天彩网 | 3d杀码图谜_专区杀码 | 马到成功杀两码最新版本更新内容 | 3d今晚最准专家预测号码 | 3d开机号和试机号今天查询 | 今天3d开机号和试机号多少? | 3d牛彩图谜字谜总汇九 | 中国福彩3D独胆今日精准预测 | 3d詹天佑预测分析牛彩网 | 3d中间号走势图振幅走势图 | 3d预测今晚最准专家预测号码 | 中国福彩3D独胆下期最新必中 | 3d专家推荐号 | 3d詹天佑预测分析牛彩网 | 3d专家预测汇总牛彩网彩摘收集 | 3d今日预测最准专家预测 | 3d今晚预测准确的专家预测 | 3d今晚预测3d更准 | 3d精准预测最准的专家直选 | 3d专家最新最准专家预测汇总 | 今天3d开机号 试机号是多少 | 3d今晚预测准确的专家预测 | 3d试机号后专家预测推荐汇总 | 3d推荐最新最准专家预测 | 3d最准杀码 | 3d预测专家最准确的专家预测今晚 | 十拿九稳预测专家分析 | 3d开奖结果近10期 | 3d专家最新最准专家预测汇总 | 唐龙3d预测号 | 3d北斗专家北斗预测今天079期3d | 3d预测专家最准确的专家预测 | 今天的3d开机号和试机号中奖号 | 3d预测专家最准确的专家预测今晚 | 3d2025322期太湖字谜 | 3d今晚必出的一注 | 财神爷三天计划必下更新 | 于海滨今天杀码3d | 3d杀码条件今天最准 | 福彩3D独胆实时杀号 | 3D独胆下期推荐预测最新 | 于海滨今天杀码3d | 今天专家推荐号码3d | 3d藏机图天齐正版藏机图 | 3d今天专家预测最准确 | 3d四码直选多少钱一注 | 3d杀码大全| 3d字谜解太湖字谜 | 3d专家预测汇总 | 3d专家最新最准预测 | 3d双胆| 3d至尊计划独胆 | 今天晚上3d开奖结果 | 今晚3d号码开奖结果多少 | 今天3d千禧试机号关注号金码号 | 今于海滨3d预测今天单线联系 | 今天的3d太湖字谜 | 3d预测今晚推荐号 | 3d专家今日推荐号码 | 独胆三天计划 | 3d杀码高手 | 独胆王三天计划 | 3d专家预测推荐号码 | 3d今天开机号试机号牛彩网 | 3d今天专家预测最准确 | 3d买4个号直选多少钱 | 三d推荐号专家预测今天 | 3d最准确的专家预测 | 3d最准预测号 | 今于海滨最新预测今天 | 3d今天开机号,试机号 | 3d直选三注必中免费 | 十拿九稳今天预测专家 | 3d今天专家推荐号码 | 3d预测最准确的专家 | 3d今晚预测精准 | 3d预测最准确的专家 | 周星星3d预测手机牛彩网 | 3D独胆实时必中最新 | 中国福彩3D独胆当天精准预测最新 | 3d预测专家最准确的专家预测今晚 | 3d预测专家汇总预测 | 3d廊坊鸿运精选号码推荐 | 3d预测专家最准确的专家预测昨天 | 3d预测最准专家预测牛彩网 | 今天3d专家预测汇总 | 3d千禧试机号和金码关注 | 3d预测最准最新准专家预测号码 | 3d专家今天预测一注 | 3d今晚预测直选一注3d一注预测 | 今天3d开机号试机号码 | 3d鬼手字谜和谜 | 今日3d太湖三字谜 | 3d今晚最准专家推荐号 | 3d跨度振幅近100期走势 | 中奖开奖结果3d | 3d开机号和试机号今天多少 | 3d开机号试机号奖号 | 3d和值尾振幅走势图专业版 | 3d今日专家精准推荐号 | 3d专家预测最准确最新推荐号码 | 3d今天开机号和试机号开奖结果 | 3d今天专家预测号码最准确 | 明天太湖3d三字诀 | 今晚上必中一注 | 3d最大值振幅走势图3之家 | 3d太湖字谜总汇大全 每天更新 | 3d预测最准确专家预测 | 3d预测最新最准专家 | 3d今日预测最准专家预测 | 3d试机号和开奖号走势图 | 铁娘子三天计划独胆必下300 | 3d胆王专家定十位 | 万能6码走势图 | 3d专家预测最准确今天 | 三d牛彩网开机号试机号是多少 | 今于海滨3d预测今天275 | 今天3d开机号和试机号全部 | 3d独胆中了给多少钱 | 詹天佑3d推荐 | 3d和值基本走势 | 今日3d预测专家推荐 | 3d预测最准确专家预测 | 3d今晚必出号 | 3d字谜总汇今日3d字谜总汇牛彩网 | 3d詹天佑最新预测今天 | 3d计算机开机号夏天推荐 | 3d推荐号码今晚预测 | 3d今天最新最准专家预测最 | 3d千禧开机号试机号关注金码 | 三d之家独胆 | 今天3d开机号和试机号对应金码 | 今天专家推荐号码3d | 3d最准一个独胆毒胆 | 3d专家预测最准双胆 | 今晚3d试机号开机号金码号 | 于海滨海3d专家预测今晚一注 | 毒胆牛人三天计划必出 | 中国福彩3D独胆下期推荐 | 3d千禧开号试机号关注金码对 | 今天3d太湖字谜三字诀 | 3d太湖字谜图谜总汇 | 3d预测专家推荐最准确 | 3d藏机图正版图汇总 | 3d预测总汇手机牛彩网 | 3d最精准专家预测汇总今天 | 张克永专家3d预测 | 今天3d专家预测汇总 | 3d专家预测最准确最新推荐号码 | 3d双胆独胆| 3d和尾振幅走势图3d专家 | 3d今晚必中一注一 | 3d今晚预测精准 | 今日3d马后炮解太湖字谜 | 3d今晚专家预测重点号码 | 2025长期守号最佳5注推荐 | 今于海滨3d预测今天单线联系 | 中国福彩3D独胆下期分析最新 | 北斗3d今日专家预测推荐 | 福彩3D独胆下期最新推荐 | 3d詹天佑预测分析牛彩网 | 唐龙点评3d预测今天 | 3d和值尾振幅走势图彩宝贝 | 钱王今天3d预测号 | 3d试机号后专家预测汇总 | 3d百位定位走势图 | 2014年359期3d焰舞字谜 | 铁人铁胆3d定位包星预测 | 福彩3D独胆下期分析 | 财神一语定一注3d字谜 | 3d今天专家推荐号码 | 十大专家3d预测汇总 | 3d最准预测专家推荐 | 3D独胆老师命中率 | 3d预测一注号推荐一3d预测一注今天 | 3d预测最准确专家 | 试机号开机号金码关注号对应码3d | 今于海滨3d预测今天牛彩网 | 排3藏机图正版藏机图今天 3d八哥图库总汇d字谜图谜总汇大全 | 牛彩预测汇总3d最新 | 3d正版藏机图天齐网汇总 | 3d开机号和试机号金码关注对应码 | 3d陈华今晚就赌一个胆搜索一下 | 3d预测詹天佑最新 | 3d预测最准预测号 | 太湖3d字谜图谜总汇 | 3d于海滨预测预测牛彩网 | 福彩3D独胆下期推荐最新 | 3d推荐最新最准专家预测 | 3d免费专家预测推荐今天最新 | 3d预测最准最新牛彩网 | 3d和走势图 和值尾连线 | 3d今晚开奖结果号码是 | 3d独胆双胆预测推荐 | 3d今晚最准最新专家推荐号 | 今天3d开机号和试机号多少? | 3d最准预测专家推荐 | 3d今晚专家预测 | 3d今晚必中一注一注 | 福家老三3d推荐号 | 3d预测专家推荐最准确 | 3d上下五千年专家预测 | 成功路上3d双胆独胆 | 马后炮解今日太湖字谜三字诀 | 3D独胆本期预测最新 | 3d字谜总汇今日3d字谜总汇牛彩网 | 排三太湖钓叟字谜三字诀 | 3d和值专家推荐和值 | 3d今晚专家预测推荐 | 万能三码的使用方法 | 中国福彩3D独胆当天走势最新 | 千禧试机号关注号金码是什么 | 今天3d专家推荐重点号码 | 2014年359期3d焰舞字谜 | 3d 试 机 号今晚 | 3d字谜图谜总汇全图汇总 | 今天3d的开机号和试机号是多少号 | 今天3d开机号试机号牛彩网 | 今晚3d出的什么号 | 3D独胆下期推荐预测最新 | 3d今天专家推荐号码是多少 | 福彩3D独胆老师精准预测 | 3d开机号和试机号今天千禧 | 今天3d金码试机号对应码开机号 | 福彩3D独胆下一期推荐 | 3d紫云涧专家预测推荐 | 高手看3d经典独胆组合 | 3d专家最新最准专家预测 | 3d开机试机号金码号关注号 | 3d推荐最新最准专家预测 | 3d开机号和试机号今天千禧 | 福彩3D独胆老师必中最新 | 3d牛彩网专家预测 | 3d小鱼图今日背面字谜 | 今天专家推荐号码3d | 3d马前屁解太湖字谜 | 三d预测专家最新推荐 | 于海滨海3d专家预测 | 3d詹天佑最新预测今天 | 3d今天开机号和试机号金码对应码 | 牛彩网预测专家3d | 3d预测专家推荐最准确 | 3d预测推荐汇总牛彩网采摘收集 | 今日3d十大专家双胆总汇 | 3d三天计划独胆王 | 3d的开机号试机号奖号表 | 太湖3d字谜图谜总汇 | 3d预测一注推荐 | 六鬼神算图3d谜图 | 3d计算机开机号夏天推荐 | 今天3d金码试机号对应码开机号 | 3d今晚开奖号多少 | 3d看胆精英独胆 | 3d最大值振幅走势图彩经 | 3d今天专家推荐号码推荐 | 中国福彩3D独胆内部走势最新 | 3d和值尾振幅走势图3d走势3d之家 | 3d天宇和值谜字谜 | 3d开机号和试机号9.30分 | 3d徐文轩今晚推荐号码 | 3d直选一注今天 | 3d预测专家最准确的专家预测今晚 | 3d专家预测最准最新今天 | 3d推荐号今晚专家预测最准确 | 今天的太湖3d字谜 | 3d辽宁独胆王 | 三d试机号后专家预测汇总 于海滨专家3d今天预测 | 3d预测推荐汇总大全 | 3d字谜今天太湖字谜 | 最准3d专家预测推荐 | 太湖字谜马后炮3d总汇 | 助赢计划软件官网版下载 | 小龙一语定三胆3d今日字谜 | 张克永最新3d预测 | 今日3d太湖字谜三字诀排三开奖结果 | 3d詹天佑预测分析牛彩网 | 今晚3d专家预测精选一注 | 3d海滨点评一语定胆今天最新推荐 | 3d专家推荐最精准的号码 | 今晚3d开奖号是多少 | 3d太湖专家预测今晚 | 3d今天开机号试机号对应码关注码 | 3d今晚中奖号157 | 3d专家预测号码手机牛彩网 | 家彩专门提供3d试机号开机号 | 3d钓叟字谜三字诀官网 | 专家预测3d号码准确 | 天齐藏机图汇总正版藏机图 | 3d专家预测最准最新 | 今晚3d开奖结果是多少 | 排三平均值振幅走势图3d之家 | 3d太湖钓叟字谜三字诀论坛 | 3d今晚最准专家预测号码145 | 3d两胆精准预测 | 3d杀码图专区,杀码图 | 3d必中直选 | 西施姐姐就赌一个独胆 | 3d最精准专家预测汇总今天 | 唐龙点评每日一胆龙 | 解太湖3d字谜太湖 | 3d双胆独胆 | 3d专家预测号 | 三d便民字谜图谜总汇 | 太湖字谜钓叟3d字谜 | 3d今天专家预测推荐号码 | 今晚3d开奖号是多少 | 3d今天专家预测号码 | 毒胆牛人三天计划必出 | 预测3d | 今天3d金码试机号对应码开机号 | 于海滨点评专家一语定胆保真版 | 3d开机号试机号今天的 | 3d独胆专家推荐独胆 | 3d今天开机号和试机号牛彩网 | 3d杀码高手| 于海滨的今日预测 | 3d谜语字谜太湖天齐网 | 3d近30期开奖结果 | 3d双胆独胆 | 3d最精准专家预测汇总今天 | 张克永专家3d预测 | 三天计划胆十组合 | 近30期3d开机号和试机号 | 近10期3d开奖结果 | 今晚开奖号码3d开奖结果 | 于海滨3d预测今天 | 3d最精准专家预测汇总今天 | 福彩3D独胆明日分析最新 | 今天晚上3d开奖结果 | 3d孙大财就赌一个胆 | 于海滨最新3d预测今天 | 今晚3d专家最精准的预测 | 3d试机号今天开机号查询 | 三天计划3d独胆必出论坛 | 3d预测最准专家预测牛彩网 | 3d推荐号今日预测 | 3d牛彩网| 3d最准专家预测号今晚3d试机号 | 中国福彩3D独胆专家推荐最新 | 3d专家预测最准今天 | 3d专家预测最准最新今天 | 3d预测专家推荐最准确 | 3d今天专家预测最准确 | 3d专家预测于海滨 | 3D独胆下期最新预测 | 詹天佑3d最新消息今天 | 3d百十个位杀码家彩网 | 3d计算机开机号夏天推荐 | 3d千禧金码试机号关注码 | 最准3d预测专家推荐号 | 3d预测牛彩网 | 千禧3d试机号金码关注码杀码今天3d | 神龙毒胆王今晚给胆 | 3d开奖号走势图表 | 天才计划三天计划独胆 | 最准3d预测专家推荐号 | 3d各类和值谜追加汇总 | 3D独胆最新分析 | 3d太湖字太湖字谜 | 千禧3d试机号关注码金码试机号 | 今日排五专家推荐与预测 | 3d专家最新最准预测 | 3d今天专家推荐号码推荐 | 三d五码复式打一注多少钱啊 | 3d独胆专家推荐独胆 | 3d和值牛彩网 | 3d最准的独胆, | 3d二天独胆王 | 3d正版藏机图谜汇总 | 今天3d太湖钓叟三字诀字谜 | 三d今日太湖字谜解 | 北斗3d今日专家预测推荐 | 詹天佑今天3d推荐 | 3d精准推荐号 | 3d今晚开奖结果走势图 | 十拿九稳预测专家分析 | 3D独胆大神走势 | 天齐网专家杀码大全 | 3d近30期开奖结果 | 3d字谜图总汇 | 3d预测牛彩网预测汇总 | 中国福彩3D独胆最新必中最新 | 3d专家今日推荐号码 | 3d今天中了多少注直选 | 3d最新专家预测汇总大全 | 于海滨一语定胆天齐网 | 3d推荐号今晚专家预测最准确 | 3d推荐号今日预测 | 今晚3d专家预测精选一注 | 3d精准推荐号 | 3d陈华今晚就赌一胆o11预测 | 3d最新专家预测汇总大全 | 3d十大专家精准预测汇总 | 太湖字谜马后炮3d总汇 | 宇海宾杀码图 | 3d专家预测推荐号码最准最新 | 3d推荐号今晚专家预测 | 3d的预测号是多少 | 毒牛人三天计划 | 3D独胆大神杀号最新 | 唐龙一语定胆最新 | 3d预测最准确专家预测牛彩网 | 今日正版3d藏机图汇总 预测 | 3d今晚预测最新最准确号码牛彩网 | 自创3d绝杀四码方法细节 | 3d预测专家 | 3d今日专家精准推荐号 | 今晚3d开机号试机号金码 | 3d单个冷号最大遗漏 | 3d最大值振幅走势图遗漏 | 3d最准专家预测号 | 3d最新专家预测汇总大全 | 今晚3d精准一注直选 | 3d预测一注推荐 | 3d今天最新最准专家预测最 | 3d最新专家预测推荐 | 专家预测3d号码准确 | 3d今晚专家预测推荐 | 3d专业版(走势图带连线) | 三d十拿九稳预测号码 | 3d预测号码最准最新准专家预测号家彩网 | 北京胆王2彩吧图库 | 3d今晚最准专家推荐号 | 3d六码组三多少钱一注 | 3d今晚预测直选一注3d一注预测 | 布衣杀码图3d杀码 | 3d今晚专家推荐 | 3d预测最准确的专家预测软件 | 排五专家预测精准 | 3d预测专家推荐 | 3d十位走势图带连线图表专业版 | 今晚3d专家预测精选一注 | 3d试机号和开奖号走势图 | 3d千禧试机号关注号金码号开机号 | 3d十位走势图彩经网 | 3d阿福图库图谜大全 | 最准的3d专家预测 | 3d开机号和试机号今天金码0 | 于海滨专家3d今天预测 | 今晚3d专家推荐号码是多少 | 孟老师专家预测3d | 3d杀码图谜_专区杀码 | 3d廊坊鸿运正版推荐 | 3d正版藏机图天齐网汇总 | 3d走势图带连线图表牛彩网 | 3d彩吧预测,预测 | 大师诸葛亮今晚一个独胆 | 詹天佑3d预测今天推荐号码 | 3d预测专家 | 三d毒胆预测| 三d十拿九稳预测号码 | 3d北盟天机图藏机图 | 排五奖号 | 今日排三太湖钓叟字谜三字诀 | 3d开机试机号金码号关注号 | 今天3d詹天佑预测分析 | 财神爷独胆三天计划,就这么牛 | 3d独胆二天计划 | 3d近30期开机号试机号牛彩网 | 3d最新专家预测推荐 | 3d千禧开机号试机号 | 3d最新专家预测汇总 | 中国杀码王3d绝杀 | 3d和值振幅走势图彩宝贝 | 3d经典小胆王 | 3d精选号码推荐今天最新 | 骄子铁鹰解3d字谜今日 | 3d预测最准的专家 | 福彩3D独胆下期最新推荐 | 3d开机号试机号今天最新50期 | 今日3d直选一注 | 3d今晚最准最新专家推荐号 | 3d开心毒胆独胆王 | 3d预测号码最准确专家预测 | 3d北斗专家北斗预测今天079期3d | 中国福利3d今天模拟试机号 | 3d试机号今天开机号查询结果 | 3d太湖钓叟字谜三字诀乐彩论坛 | 3d推荐号今晚专家预测 | 福彩3D独胆老师精准预测最新 | 3d李明启预测号 | 中国福彩3D独胆内部走势最新 | 3d预测专家最准确 | 3d近300期试机号和开奖号码 | 3d今晚专家预测推荐号 | 今晚3d预测开奖号码推荐 | 3d今晚专家推荐预测重点号码 | 排五开奖最新结果排5 | 3d今晚最准专家预测号码 | 于海滨专家一语定胆十好心人 | 3d今晚专家预测推荐 | 3d推荐号| 今日3d预测专家推荐 | 推荐一注3d号码 | 3d预测詹天佑最新 | 3d预测最准确专家 | 3d今天推荐号码 | 3d今晚最准的一注 | 3d最准预测专家预测大 | 3d专家预测最准确最新今天牛彩 | 三七进二得三码猜一生肖 | 3d下期预测最精准的一注号码 | 3d专家预测最准最新今天 | 3d字谜汇总大全总汇大全 | 3d北斗专家北斗预测今天079期3d | 3d预测专家汇总预测 | 3d预测最准专家预测 | 成功路上3d双胆独胆 | 今日3d预测号码推荐 | 3d预测最准的专家预测 | 3d牛彩网试机号后专家预测汇总 | 3d专家预测最准今天 | 十拿九稳十大专家预测汇总最新一期 | 3d开机号和试机号200期列表 | 3d图库彩吧彩报第三版 | 3d毒毒毒胆胆胆中中中 | 3d专家预测推荐号码最准最新 | 3d独胆双胆专家预测网 | 3d最准确的专家预测 | 三3d太湖字谜 | 今晚3d开奖号是多少 | 3d杀码专家杀码天齐网 | 3d千禧开机号试机号关注金码 | 《金银胆神》金胆银胆3d最新一期开奖 | 3d专家预测最新 | 张克永3d预测今天 | 3d试机号后专家预测推荐汇总 | 3d专家预测推荐最新 | 今天太湖字谜3d字谜太湖钓叟 | 3d今天开机号和试机号牛彩网 | 3d十大专家汇总大全 | 3d今晚精准推荐一注 | 投资计划独胆三天计划 | 3d和值尾振幅走势图50期 | 3d推荐号今晚专家预测 | 3d最新专家预测推荐 | 3d今天推荐号码 | 3d和值最近(500)期走势图 | 3d 图谜字谜总汇 | 3d预测号码最准最新推荐 | 3d今天开机号和试机号322 | 3d直选三注 | 于海滨点评专家一语定胆保真版 | 于海滨点评加专家一语 | 于海滨3d预测牛彩网 | 3d今晚惊天一注预测 | 3d杀码大全 | 3d今晚的独胆 | 3d今晚预测直选四注 | 千禧关注码试机号金码 | 陈华今晚独胆特别关注 | 福彩3D独胆本期命中率 | 今天3d专家推荐号 | 2014年359期3d焰舞字谜 | 天齐网专家杀码大全 | 3d精准预测推荐 | 3d预测今晚推荐号 | 3d直选形态走势图彩宝网 | 6+1专家预测号 | 3d最准确最新专家预测 | 3d预测专家最准确的专家预测今晚 | 今天3d推荐号码今晚预测 | 3d和值尾遗漏走势图 | 于海滨最新3d预测今天 | 3d专家预测最准确最新今晚预测 | 3d最新专家预测推荐 | 中国福彩3D独胆最新必中最新 | 3d今天开机号和试机号牛彩网 | 张克永3d预测今天 | 3d太湖字太湖字谜 | 3d双胆独胆非常非常稳定 | 3d绝杀一码绝杀 | 3d预测专家 | 3d字谜太湖解 | 3d直选形态走势图彩宝网 | 3d推荐最新最准专家预测 | 牛彩网杀码大全 | 于海滨今天3d预测号 | 牛人独胆三天计划 | 3d今晚预测最新最准确 | 今天太湖字谜3d字谜太湖钓叟 | 3d专家今天预测汇总 | 3d最新最准预测号码今天 | 3d彩吧图库44462 | 试机号千禧关注金码 | 3d预测最准确专家预测 | 6+1专家预测号 | 3d今晚最准最新专家推荐号 | 3d最准的预测专家 | 3d今天专家预测最准 | 3d预测专家精准推荐 | 3d专家预测推荐最新 | 试机号后牛彩网专家预测3d | 3d经典小胆王 | 3d推荐号今晚专家预测 | 3d杀码最准确 | 于海滨3d预测牛彩网 | 3d今天专家预测最准确 | 排三今晚十拿九稳最新预测 | 詹天佑最新预测3d | 千禧试机号金码关注码的历史记录 | 3d开机号和试机号今天 今晚 | 3d百位个位和值走势图 | 3d于海滨一语定胆今天 | 太湖钓叟3d字谜三字诀 | 于海滨一语定胆保真 | 3d推荐号今晚专家预测 | 唐龙一胆今天最新 | 3d今天的推荐号 | 牛彩网近30期3d开机号试机号 | 3d个位走势图表 | 3d今晚最新预测 | 于海滨海3d预测今天 | 三地百位振幅3d之家走势图 | 3d专家预测最准确 | 千禧试机号及金码 | 唐龙每日一胆天齐网 | 3d孙大财就赌一个胆 | 太湖3d字谜今天的 | 今天太湖字谜三字诀是什么 | 3d鬼手字谜和谜 | 推荐一注3d号码 | 今日太湖字谜3d字谜太湖钓叟 | 3d今天最新最准专家预测最 | 3d平均值走势图振幅3d之家 | 詹天佑今天3d推荐 | 今于海滨3d杀码图24210 | 3d今日号码推荐 | 3d预测专家最准确的专家预测今晚 | 太湖谜3d太湖钓叟字谜 | 3d预测最准确的专家 | 3d就打一个胆中了多少钱 | 3d千禧开号试机号关注金码对 | 千禧试机号金码关注码的历史记录 | 3d独胆怎么打 | 今晚解太湖3d字谜 | 3d走势图带连线图表 | 3d和值尾金木水火土走势图 | 3d于海滨预测预测牛彩网 | 3d和值尾金木水火土走势图 | 3d最新最准专家预预测 | 3d今天专家推荐 | 拼搏在线3d开机号和试机号列表 | 三d独胆| 今晚3d预测最准一注 | 中国福彩3D独胆专家精准预测最新 | 钱王点评+钱王老头预测 | 马后炮解3d太湖字谜总汇大全 | 3d今天最准专家预测 | 3d精选号码推荐今天最新 | 今天3d太湖字谜三字诀 | 3d太湖字太湖字谜 | 3预测,3d专家预测,最准确今天彩网 | 3d今晚专家推荐号 | 廊坊鸿运3d预测今天 | 3d牛彩网预测| 无敌胆王今日双胆 | 3d试机号金码号是多少 | 3d今晚预测最新最准确号码牛彩网 | 3d独胆双胆3d之家 | 3d和值基本走势图表 | 3d今晚上推荐号码 | 3d近50期开奖号码 | 今晚三d推荐什么号码 | 3d今晚最准专家推荐号码 | 3d今天专家推荐号码推荐 | 3d今天专家预测号码 | 3d预测今晚最准专家预测号码 | 于海滨3d最新预测 | 千禧关注码试机号金码 | 3d今晚开奖结果号码是 | 3d十大专家推荐号码汇总 | 今天的太湖3d字谜 | 3d洞庭湖水今日预测分析 | 今天3d的开机号和试机号是多少号 | 牛彩网3d预测分析汇总大全 | 3d下期预测最精准的一注号码 | 3d今晚开出什么号码 | 中国福彩3D独胆下期推荐杀号最新 | 3d最新预测专家推荐 | 3d万能三码中奖秘诀 | 今晚3d开奖号是多少 | 今天3d于海滨预测 | 3d试机号开机号今天金码关注 | 3d专家预测最准确最新汇总 | 3d预测专家推荐号码 | 3d最新专家预测精选一注 | 3d詹天佑预测分析牛彩网 | 今日精准预测推荐3d号码 | 3d今天开机号和试机号322 | 于海滨3d预测 | 3d专家最新最准专家预测汇总 | 3d牛彩网专家预测汇总 | 3d专家预测牛彩网 | 3d今晚专家推荐预测重点号码 | 3d牛彩图谜字谜总汇九 | 3d预测专家最准确的专家预测 | 今天3d于海滨预测 | 3d今日预测最准专家预测 | 3d北斗专家北斗预测今天079期3d | 詹天佑3d最新消息今天 | 2025排五守号推荐 | 3d专家预测最准最新今天 | 3d推荐号今日预测 | 3d于海滨预测预测牛彩网 | 今晚3d开奖号多少 | 3d今天最新最准专家预测最 | 三地杀码高手 | 3d开机号和试机号今天 今晚 | 今日3d专家预测总汇 | 太湖试机号后一句定三码3d字谜 | 今天3d牛彩网专家预测 | 3d今晚开奖结果号码是 | 宇海滨预测3d | 3d预测最准确的专家 | 3d詹天佑最新预测 | 小红人的三天计划今天是什么 | 3d预测最准确的专家 | 3d专家预测最准今天 | 今日3d藏机图正版藏机图310 | 3d今天开机号试机号码查询 | 于海滨今日杀码图最新 | 3d独胆三天必出计划论坛 | 太湖3d字谜图谜总汇 | 3D独胆下期推荐走势最新 | 3d预测今晚最新最准确 | 3d最新最准专家预预测 | 3d今天的试机号和开机号 | 今晚3d专家预测汇总 | 3d往年历史今天开奖结果 | 3d今日推荐号 | 今天3d专家推荐重点号 | 十拿九稳的最新预测 | 双胆王看双胆3d | 3d最准的预测专家 | 3d预测一注号推荐今晚 | 今于海滨杀一码 | 于海滨专家一语定胆十每日 | 3d推荐号今晚专家预测 | 牛彩网3d预测汇总大全 | 开奖结果3d今天晚上 | 3d牛彩网和值走势图 | 3d徐文轩今晚推荐号码 | 7号电池最建议买的三个型号 | 3d预测最准确的专家 | 今天3d詹天佑预测分析 | 今晚3d预测最准一注 | 近1000期3d开奖结果 | 福彩3D独胆下期预测 | 今晚3d出的什么号 | 3d今晚和值字谜 | 3d预测专家推荐号码推荐 | 今日3d一注推荐 | 3d,预测 | 3d今晚专家预测最准确一注 | 3d于海滨预测预测牛彩网 | 3d预测最准专家预测 | 3d预测最新最准专家 | 千禧试机号及金码 | 3d专家预测最准最新 | 3D独胆下一期精准预测 | 3d百个差振幅走势图近100期 | 今晚3d专家推荐 | 龙头凤尾今日预测 | 詹天佑3d今天最新预测 | 3d今天专家预测号码 | 今天3d专家预测号码 | 陈华3d独胆推荐 | 福彩3D独胆老师精准预测最新 | 3d预测今晚最新最准确 | 3d今天开机号和试机号码727 | 陈华3d今晚赌独一胆天齐网 | 3d专家最新最准专家预测汇总 | 中国福彩3D独胆内部杀号 | 3d今晚专家预测最准确一注 | 3d专家预测最准确今天上一期 | 3d今天专家预测推荐号码 | 今天3d中奖| 3d图谜字谜总汇 | 三天计划3d独胆必出论坛 | 3d藏机图正版藏机图太湖字谜 | 今晚3d专家推荐 | 3d专家预测号| 3d单个冷号最大遗漏 | 最准3d专家预测推荐 | 3d推荐号3d推荐号码 | 今天的3d藏机图正版藏图 | 三地百位振幅3d之家走势图 | 近50期3d开奖结果 | 3d太湖字谜字谜汇总 | 北斗3d今日专家预测推荐 | 3d预测一注精准 | 3d预测专家最准确 | 3d今天专家预测号码 | 3d单一跨度走势图表 | 3d预测专家推荐号码 | 3d预测专家最准确 | 牛彩网3d专家预测汇总 | 3d最新最准专家预测号码 | 3d独胆双胆3d之家 | 三d预测最准十专家预测今晚 | 太湖钓叟三字诀字谜更新 | 今天3d牛彩网专家预测 | 3d最精准的专家预测精选 | 3d专家今天推荐号 | 3d军长独胆定位 | 3d今晚预测准确的专家预测 | 3d走势图专家推荐号码 | 3d天宇和值谜字谜一句定三码 | 3d直选走势图(专业版) | 骄子铁鹰解3d字谜今日 | 3d今晚开奖号码结果是多少 | 3d长中剑客预测今天 | 于海滨点评专家一注定胆保真版 | 于海滨今日杀码图最新 | 3d专业版(走势图带连线) | 3d今晚专家看独胆 | 3d专家预测推荐号码最准最新 | 于海滨海3d专家杀码 | 3d十位胆方法100准确 | 3d字谜总汇今日3d字谜总汇牛彩网 | 3d今晚预测号码 | 3d预测号码最准最新准专家预测号家彩网 | 中国福彩3D独胆今晚走势最新 | 千禧3d今天的试机号 | 于海滨3d最新预测 | 3d太湖专家预测今晚 | 今天3d开机号和试机号多少? | 3d千禧试机号关注码金码今天晚 | 于海滨3d杀码预测 | 3d詹天佑最新预测今天 | 三d今晚预测推荐十注 | 3d今天专家推荐号码推荐 | 唐龙点评3d预测今天 | 3d今天预测最准确专家 | 今天3d牛彩网专家预测 | 3d预测今晚推荐号 | 排三杀码专家定位杀码天齐网 | 十拿九稳预测专家分析 | 3d推荐专家汇总 | 3d最大值振幅走势图彩经 | 今日精准预测推荐3d号码 | 3d牛彩网采摘收集预测汇总 | 3d今天的试机号和开机号 | 3d故事小王双胆 | 3d试机号历史出现情况天齐网 | 今日3d太湖三字谜 | 3预测,3d专家预测,最准确今天彩网 | 今晚3d专家最精准的预测 | 3d预测专家精准推荐 | 于海滨3d预测今天 | 近10期3d开奖结果 | 中国福彩3D独胆专家推荐最新 | 3d开机号和试机号今天千禧 | 3d今天开机号试机号是几 | 排3太湖钓叟字谜三字诀 | 3d近15期开奖号码结果 | 宇海宾杀码图 | 陈华3d独胆推荐 | 3d基本走势图表 | 3d直选走势图(专业版) | 3d百个位和值尾走势图 | 3d今天最新最准专家预测最 | 3d开机号和试机号近100期列表 | 3d今日预测推荐号 | 3d字谜太湖钓叟三字诀今天 | 3d徐文轩今晚推荐号码 | 排五预测号专家 | 3d藏机图正版藏图汇总大全 | 今于海滨3d预测今天单线联系 | 3d藏机图天齐正版藏机图 | 3d精准预测推荐 | 今晚3d专家推荐号码 | 3d预测号最新最准牛彩网 | 3d最准预测专家预测汇总 | 中国福彩3D独胆内部走势最新 | 今天3d金码试机号对应码开机号 | 3d开奖号码结果 今晚 | 3d今晚精准一注 | 3d条件预测专区牛彩网 | 3d北盟天机图藏机图 | 3d专家预测推荐号码 | 3d今晚专家推荐预测重点号码 | 3d开机号近30期列表彩宝网 | 今日3d开奖号今晚 | 中国福彩3D独胆最新必中最新 | 3d预测最准专家预测 | 3d机选一注 | 今天3d开机号试机号牛彩网 | 3d今晚最准最新专家推荐号 | 今天3d开机号和试机号全部 | 3d开机号和试机号今天金码0 | 3d中奖 | 今天3d出的什么号 | 3d专家预测号码推荐今天 | 今天3d牛彩网专家预测 | 3d直选走势图(专业版) | 今日3d预测号码推荐 | 3D独胆下一期精准预测 | 一定牛3d一注号推荐3d预测今天 | 今天3d试机号开机号是什么 | 3d预测最精准预测 | 3d两天独胆王 | 3d试机号后专家预测汇总手机网 | 3d试机号今天开机号查询 | 今晚3d精准一注直选 | 3d詹天佑推荐号码 | 詹天佑3d今晚预测号码 | 3d今晚一注| 今日3d开奖号今晚 | 3d财神爷今晚独胆 | 中国福彩3D独胆当天精准预测 | 今天3d专家推荐号 | 3d于海滨预测 | 3d预测号码最准最新准专家预测号家彩网 | 3d字太湖叟字谜 | 投资独胆三天计划论坛 | 3d开机号近30期列表彩宝网 | 3d开机号和试机号今天千禧 | 神仙姐姐今晚杀码 | 3d今晚和值推荐 | 唐龙3d预测号 | 排五近100期开奖号结果 | 3D独胆下期最新预测 | 今天3d专家推荐重点号码 | 3d最新专家预测汇总大全 | 白鱼舟最新3d预测 | 今于海滨3d预测今天牛彩网 | 詹天佑3d推荐 | 张克永3d预测今天 | 今晚3d直选一注 | 今天3d开机号关注号试机号金码 | 今天3d牛彩网专家预测 | 3d走势图专业版(带连线) | 3d牛彩网100期开机号和试机号 | 今日太湖钓叟三字诀字谜 | 3d专家今日推荐号码 | 3d今晚精选预测一注 | 3d今晚专家预测最准确一注 | 3d十大专家推荐号码汇总 | 3d百位遗漏振幅走势图南方双彩网 | 孟老师专家预测3d | 3d预测今晚推荐号 | 3d徐文轩今晚推荐号码 | 今于海滨3d预测今天单线联系 |